GM Service Manual Online
For 1990-2009 cars only

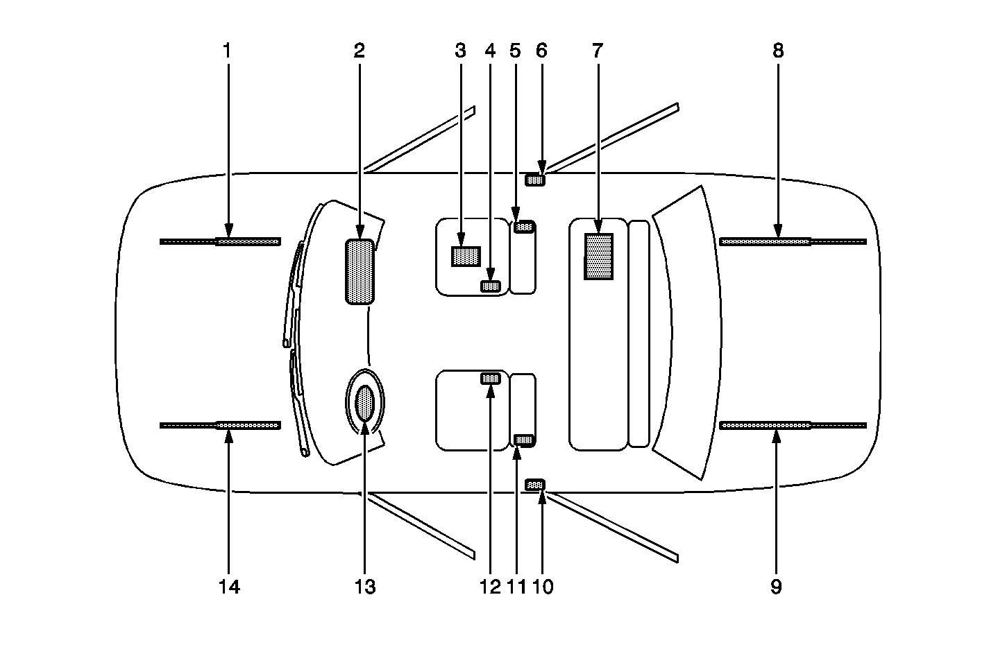
The SIR Identification Views shown below illustrate the approximate location of all SIR components available for the vehicle. This will assist in determining the appropriate SIR Disabling and Enabling for a given service procedure, refer to SIR Disabling and Enabling .

2003 SeVille


Object Number: 839778  Size: MF
(1)Front Hood Assist Rod-A gas shock located under the front hood on the passenger side
(2)I/P Air Bag-Located at the top right under the instrument panel
(3)Sensing and Diagnostic Module (SDM)-Located underneath the passenger seat
(4)Seat Belt Pretensioner-Located on the inboard side of the passenger seat
(5)RF Side Impact Air Bag-Located on the seat back of passenger seat
(6)Side Impact Sensor (SIS)-Located under the center pillar trim near the bottom
(7)Vehicle Battery-Located under the rear seat bottom on passenger side
(8)Rear Compartment Lid Assist Rod-A gas shock is located under the rear trunk lid on the passenger side
(9)Rear Compartment Lid Assist Rod-A gas shock is located under the rear trunk lid on the driver side
(10)Side Impact Sensor (SIS)-Located under the center pillar trim near the bottom
(11)LF Side Impact Air Bag-Located on the seat back of driver seat
(12)Seat Belt Pretensioner-Located on the inboard side of the driver seat
(13)Steering Wheel Air Bag-Located on the steering wheel
(14)Front Hood Assist Rod-A gas shock located under the front hood on the driver side