GM Service Manual Online
For 1990-2009 cars only
Makes
🢒
Cadillac
🢒
2003
🢒
Seville
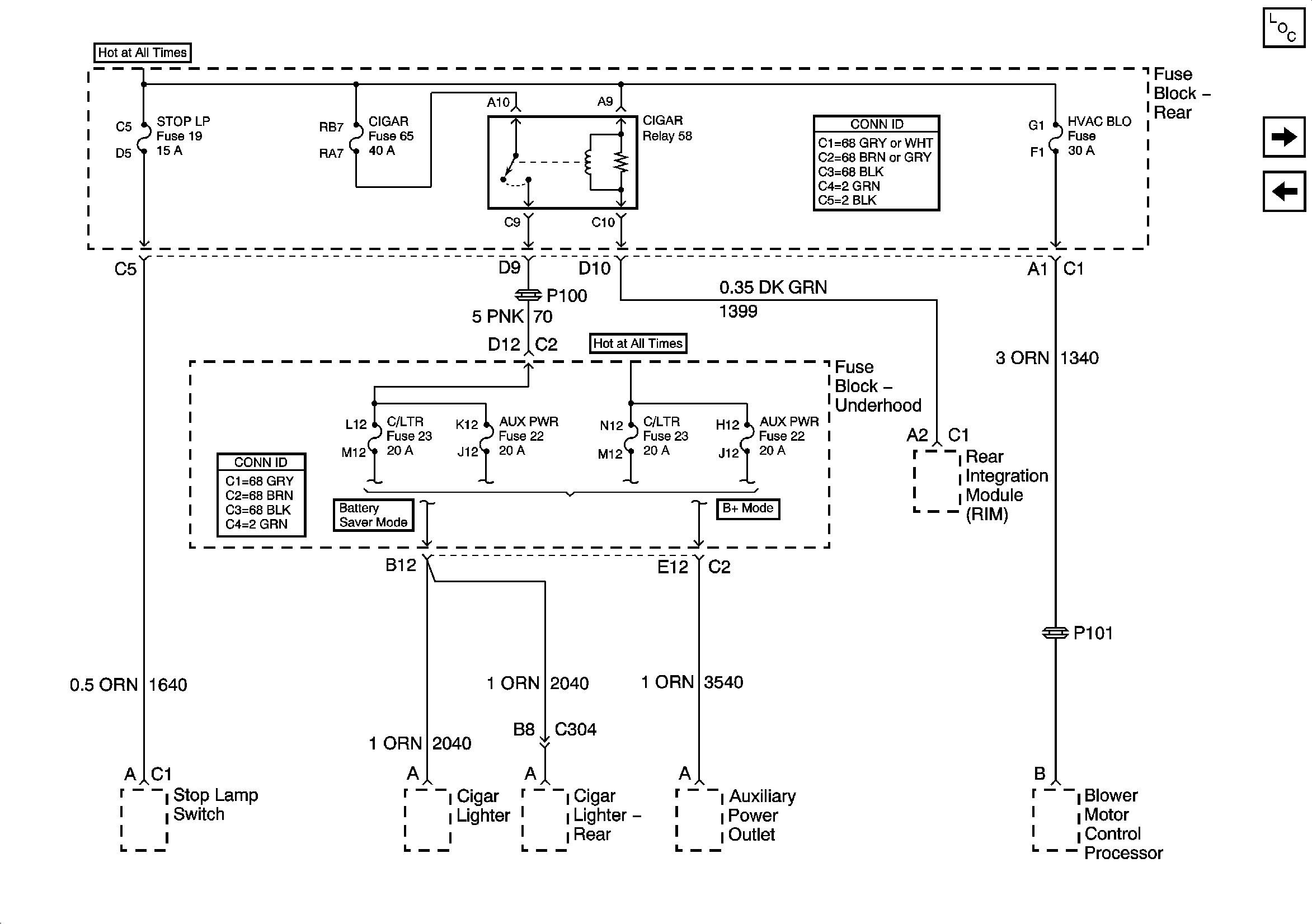
🢒 CIGAR Relay and STOP LP, CIGAR, HVAC BLO Fuses
CIGAR Relay and STOP LP, CIGAR, HVAC BLO Fuses
CIGAR Relay and STOP LP, CIGAR HVAC BLO Fuses
Master Electrical Component List
NAV, EXPORT BRK, and SDAR Fuses
IGN 1 Relay and SIR, VENT SOL, IGN 1 Fuses