GM Service Manual Online
For 1990-2009 cars only
Makes
🢒
Cadillac
🢒
2003
🢒
Seville
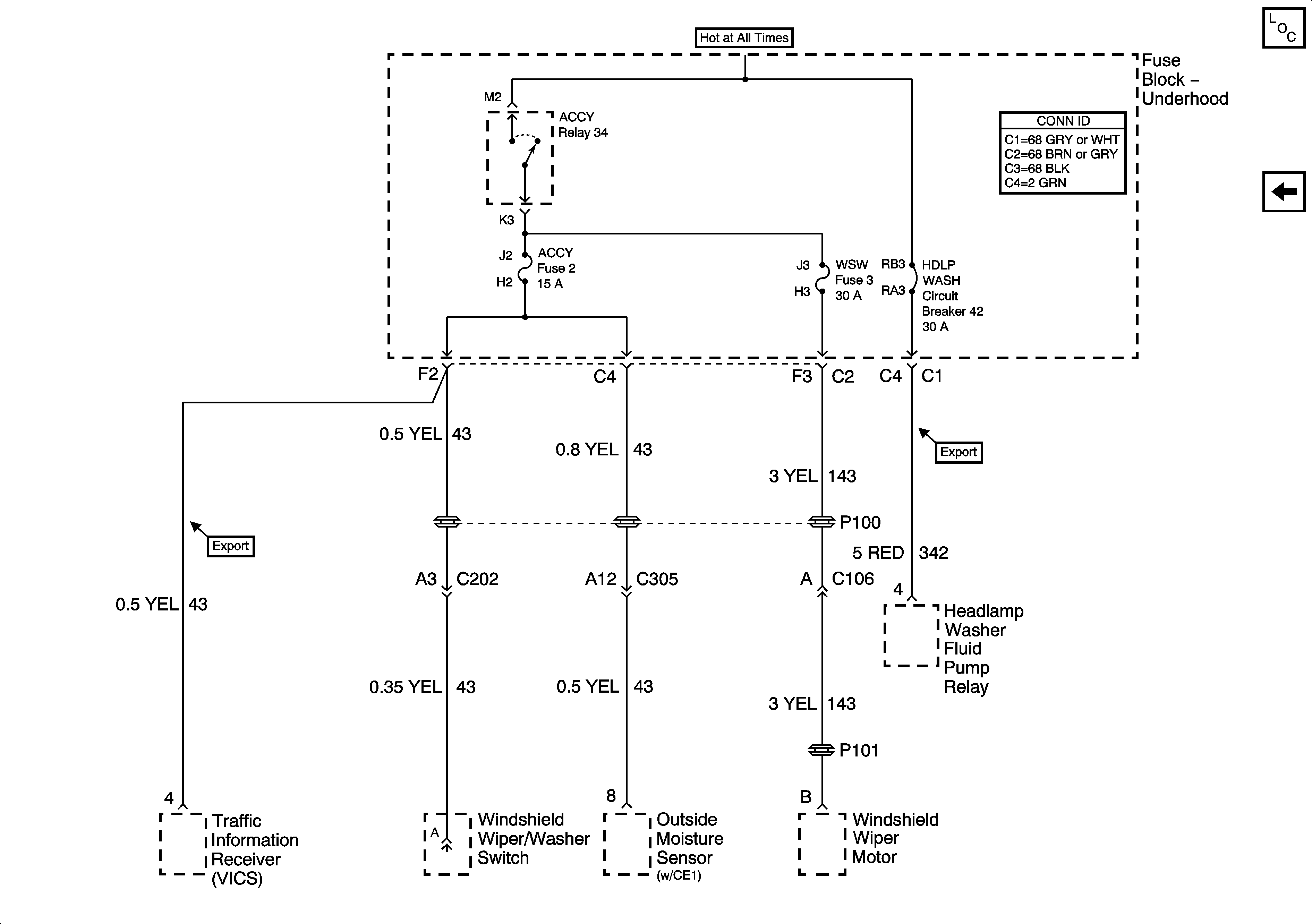
🢒 ACCY and WSW Fuses and ACCY Relay and HDLP WASH Circuit Breaker
ACCY and WSW Fuses and ACCY Relay and HDLP WASH Circuit Breaker
ACCY and WSW Fuses and ACCY Relay and HDLP WASH Circuit Breaker
Master Electrical Component List
NAV, EXPORT BRK, and SDAR Fuses