GM Service Manual Online
For 1990-2009 cars only
Makes
🢒
Cadillac
🢒
2003
🢒
Seville
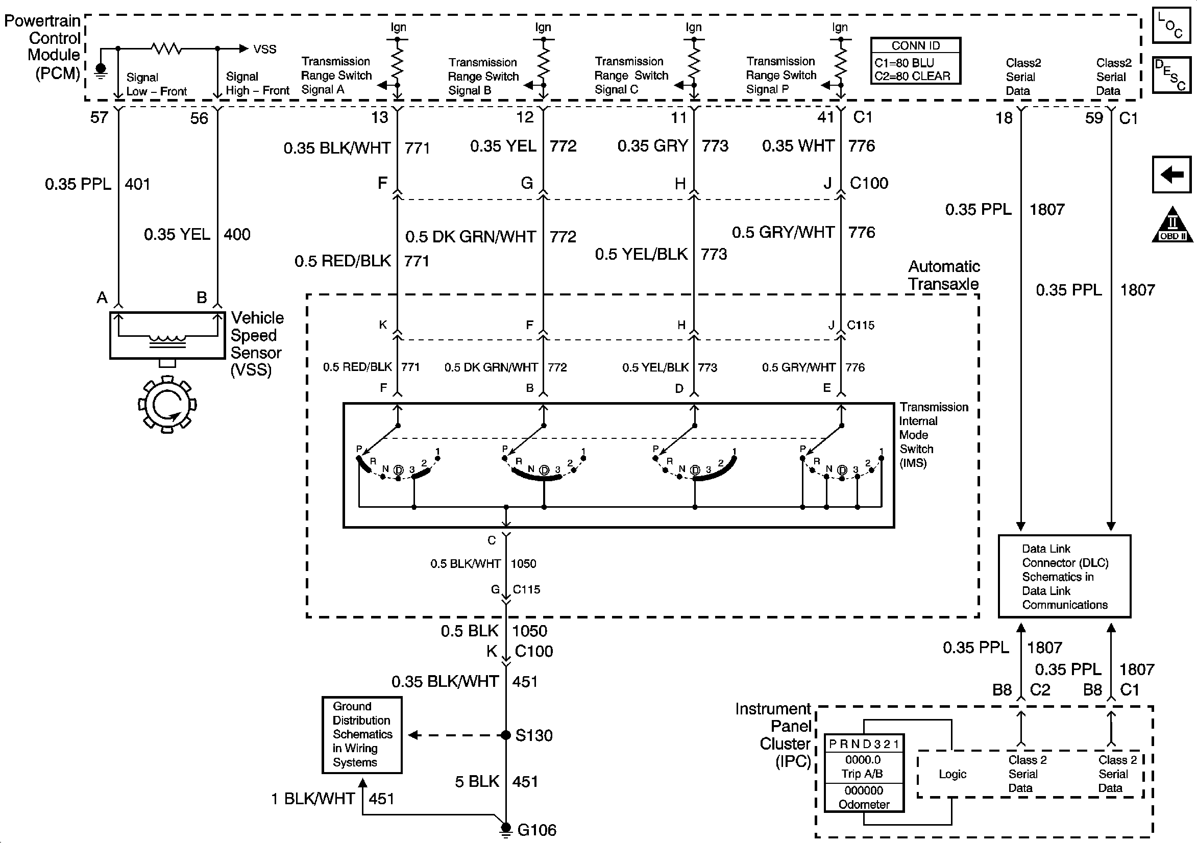
🢒 IMS, and VSS
IMS, and VSS
Transmission Internal Mode Switch (IMS), and VSS
Master Electrical Component List
Electronic Component Description
Transaxle Sensors
OBD II Symbol Description Notice
G106
Serial Data Line (LH Drive) (1 of 2)