GM Service Manual Online
For 1990-2009 cars only
Makes
🢒
Cadillac
🢒
2004
🢒
Seville
🢒 Wiper/Washer System Schematics
Wiper/Washer System Schematics
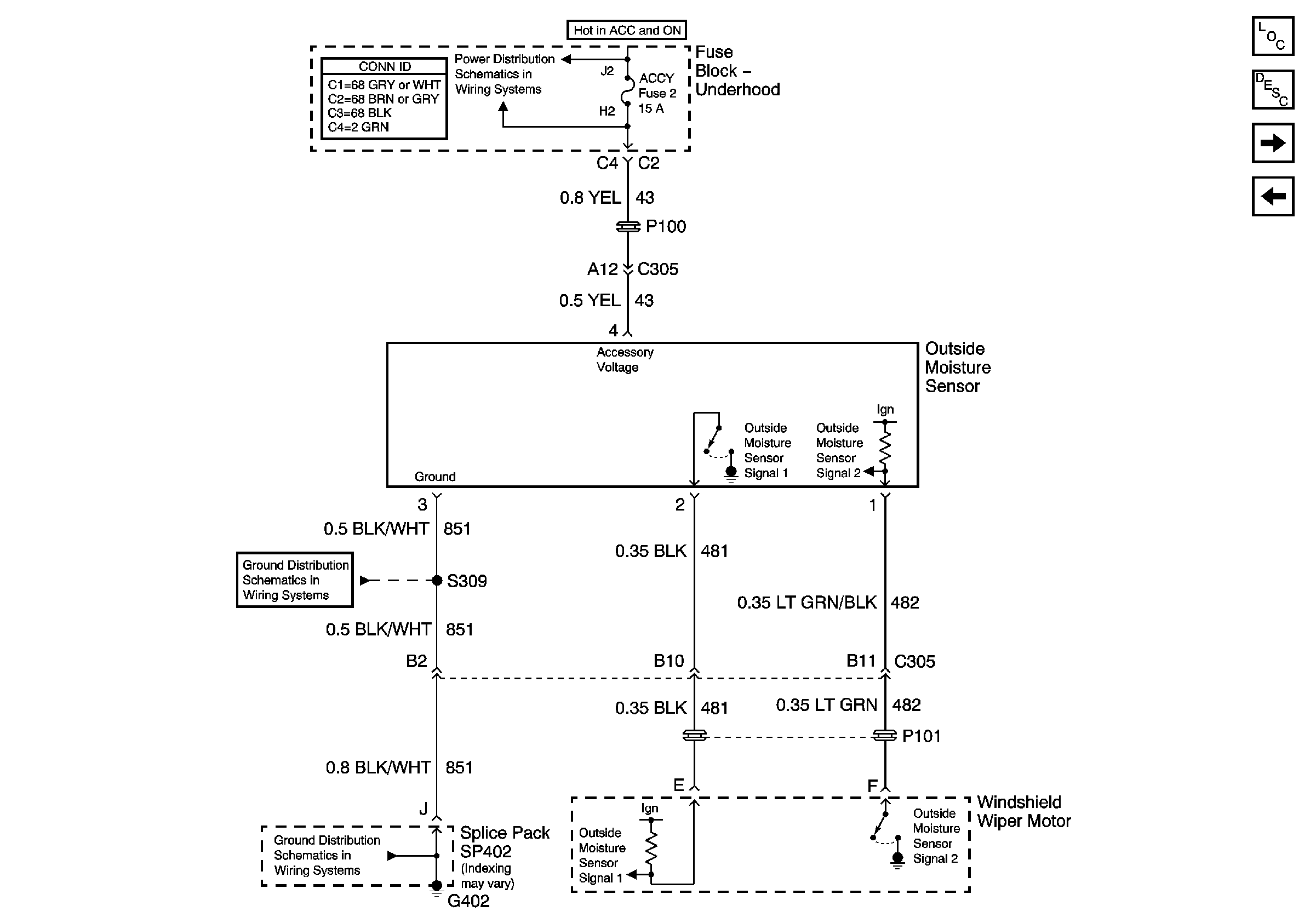
Wiper System (w/CE1)
Master Electrical Component List
Wiper/Washer System Description and Operation
Wiper/Washer System Schematics-Washer Fluid level Switches
Wiper/Washer System Schematics-HeadLamp Washer (Export)
Power Distribution Schematics-Battery Feed to Fuseblock Underhood
Ground Distribution Schematics-G402 (1 of 2)
Ground Distribution Schematics-G402 (1 of 2)