GM Service Manual Online
For 1990-2009 cars only
Figure 1:

Cell 117: Class 2 Dimming Communication


Object Number: 293781  Size: FS
Lighting Systems Components
Interior Lights Dimming Circuit Description
Cell 117: Dimming Control, IP Dimmer Switch
Handling ESD Sensitive Parts Notice
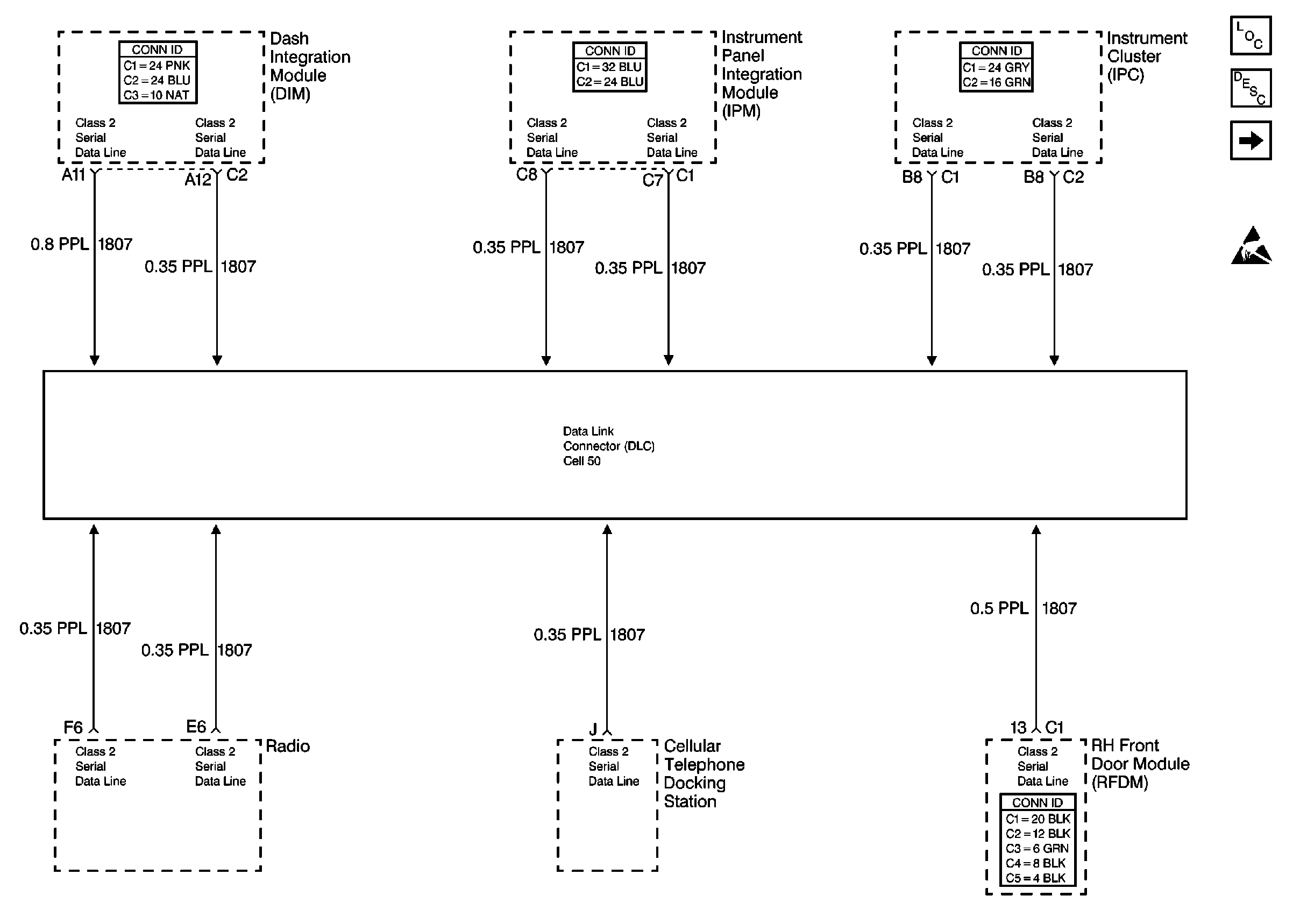
Data Link Connector Schematics
Body Control System Connector End Views
Body Control System Connector End Views
Instrument Panel, Gages, and Console Connector End Views
Power Door Systems Connector End Views
Figure 2:

Cell 117: Dimming Control, IP Dimmer Switch


Object Number: 293790  Size: FS
Lighting Systems Components
Interior Lights Dimming Circuit Description
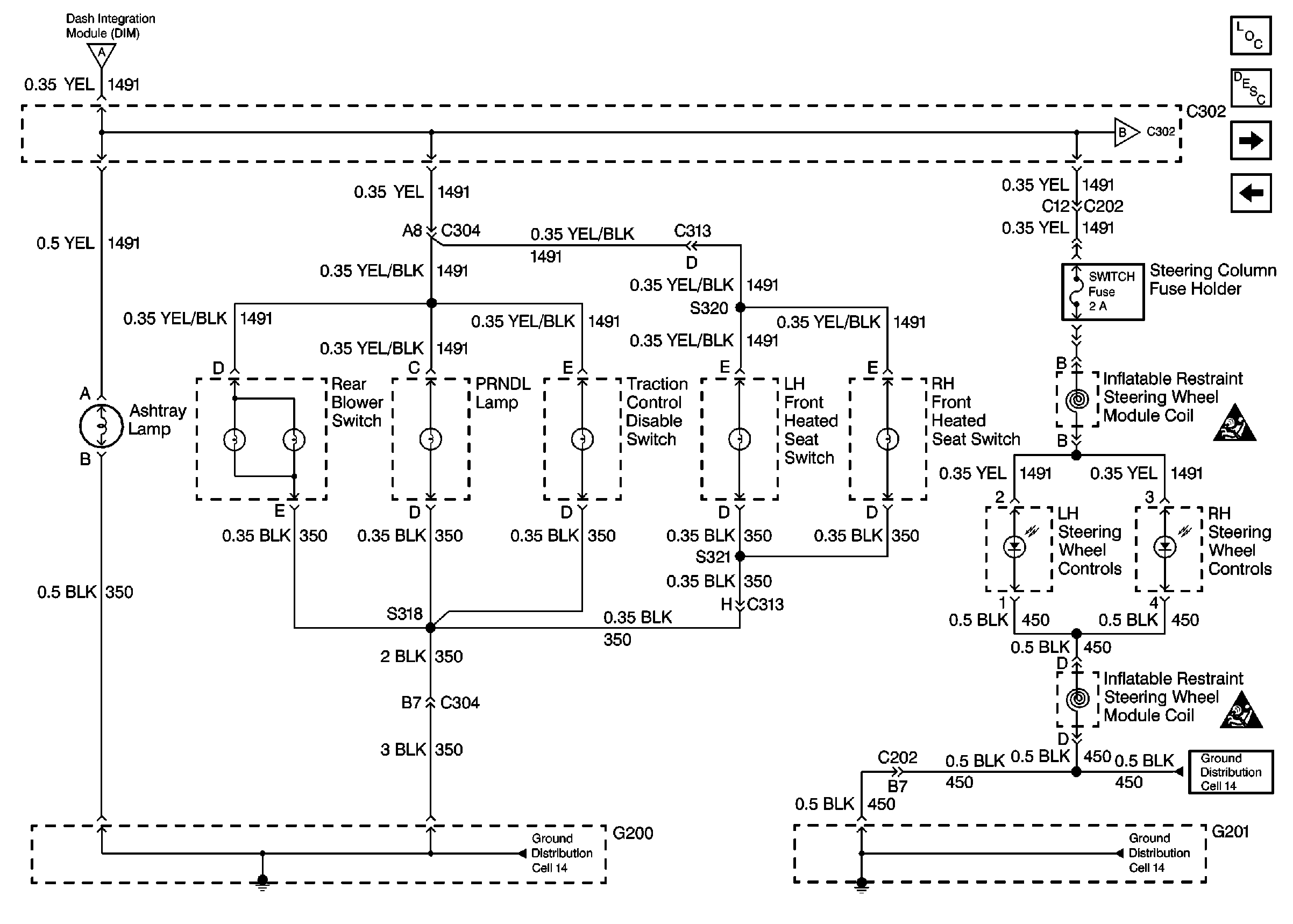
Cell 117: Ashtray Lamp, Steering Wheel Controls, Console Dimming
Cell 117: Class 2 Dimming Communication
Handling ESD Sensitive Parts Notice
Cell 10: LP PK L Fuse
Cell 10: DIM R Fuse
Cell 68
Cell 100: Low Beam Headlamps
Cell 117: Ashtray Lamp, Steering Wheel Controls, Console Dimming
Power and Grounding Connector End Views
Body Control System Connector End Views
Body Control System Connector End Views
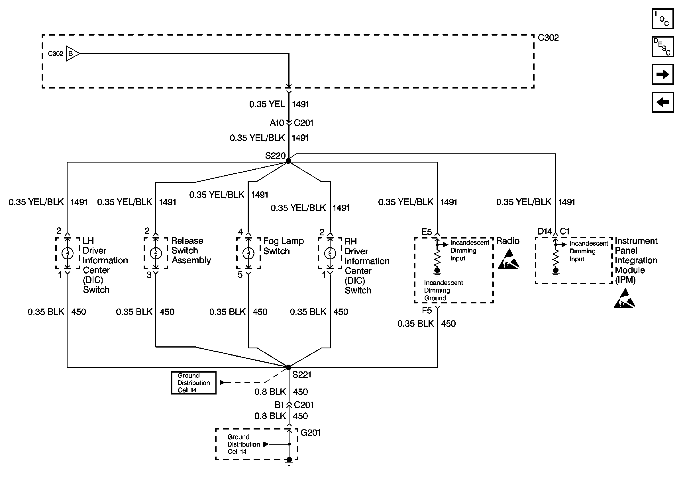
Figure 3:

Cell 117: Ashtray Lamp, Steering Wheel Controls, Console Dimming


Object Number: 293796  Size: FS
Lighting Systems Components
Interior Lights Dimming Circuit Description
Cell 117: Instrument Panel Dimming
Cell 117: Dimming Control, IP Dimmer Switch
SIR Handling Caution
SIR Handling Caution
Cell 14: G201 (1 of 2)
Cell 14: G201 (1 of 2)
Cell 14: G200 (1 of 2)
Cell 117: Dimming Control, IP Dimmer Switch
Cell 117: Instrument Panel Dimming
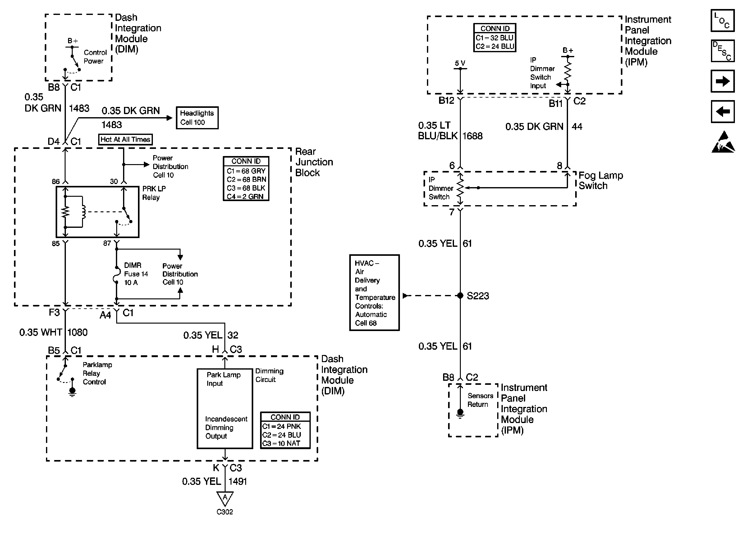
Figure 4:

Cell 117: Instrument Panel Dimming


Object Number: 293803  Size: FS
Lighting Systems Components
Interior Lights Dimming Circuit Description
Cell 117: Front Door Dimming
Cell 117: Ashtray Lamp, Steering Wheel Controls, Console Dimming
Handling ESD Sensitive Parts Notice
Handling ESD Sensitive Parts Notice
Cell 14: G201 (2 of 2)
Cell 14: G201 (2 of 2)
Cell 117: Ashtray Lamp, Steering Wheel Controls, Console Dimming
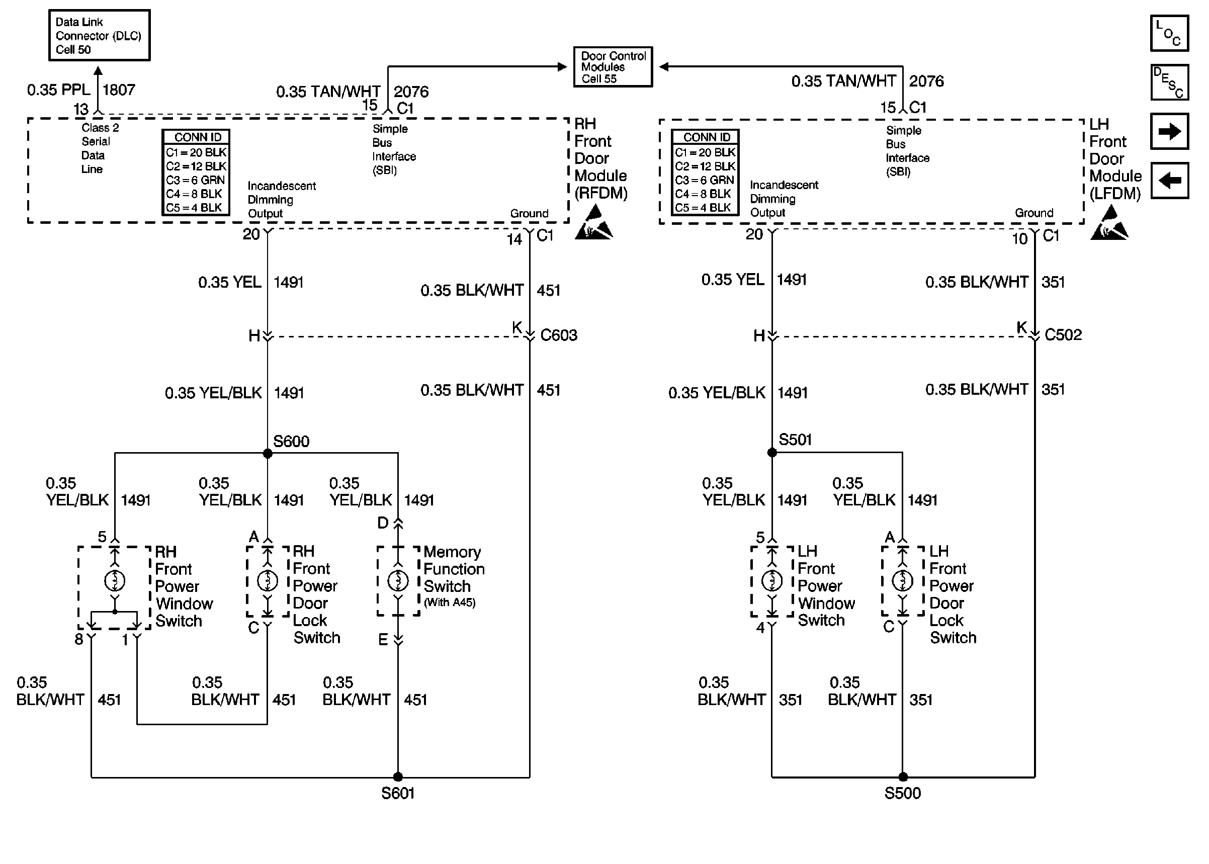
Figure 5:

Cell 117: Front Door Dimming


Object Number: 293807  Size: FS
Lighting Systems Components
Interior Lights Dimming Circuit Description
Cell 117: Rear Door Dimming
Cell 117: Instrument Panel Dimming
Handling ESD Sensitive Parts Notice
Handling ESD Sensitive Parts Notice
Door Control Module Schematics
Cell 50: Class Serial Data Line (2 of 2)
Power Door Systems Connector End Views
Power Door Systems Connector End Views