GM Service Manual Online
For 1990-2009 cars only
Figure 1:

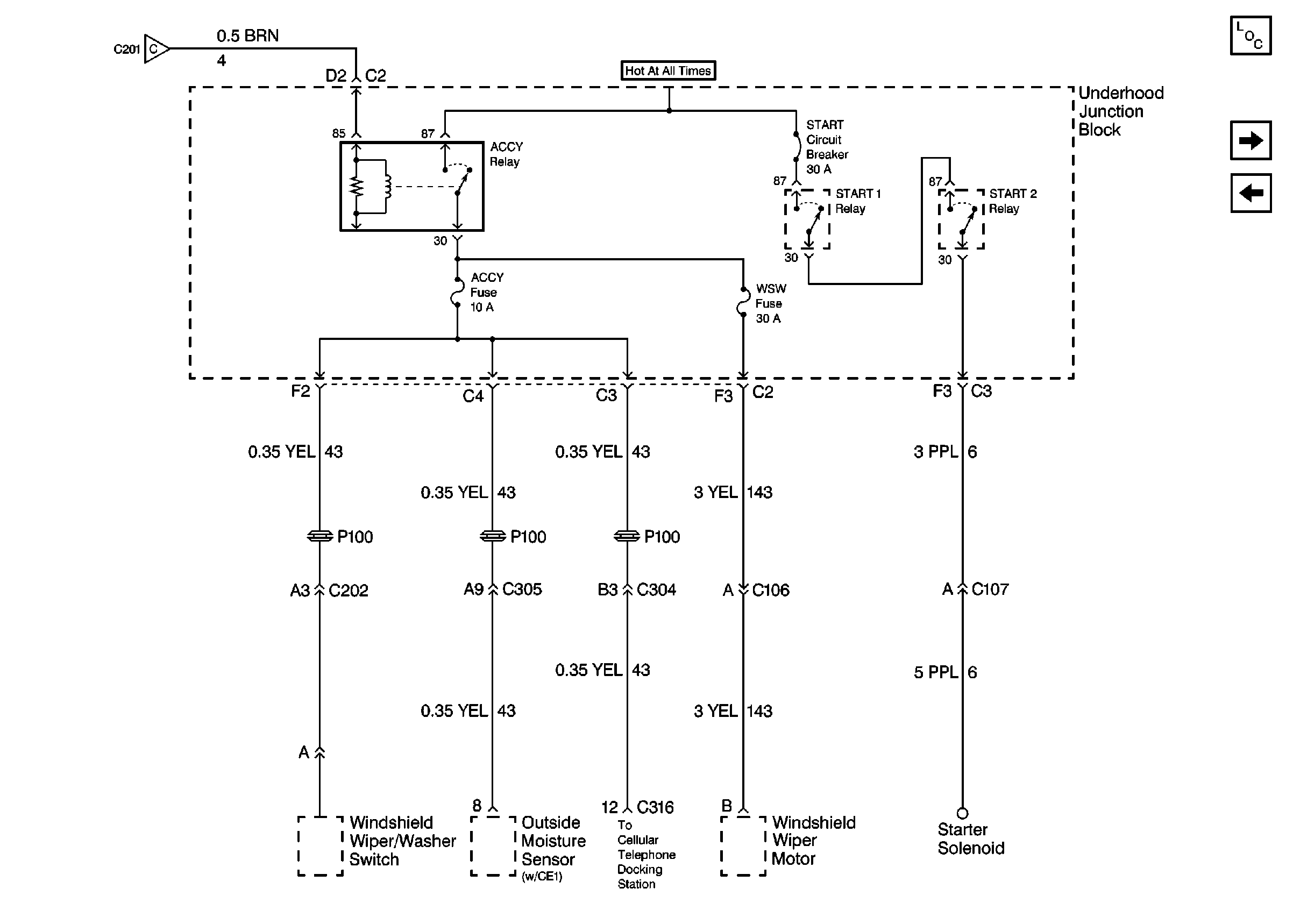
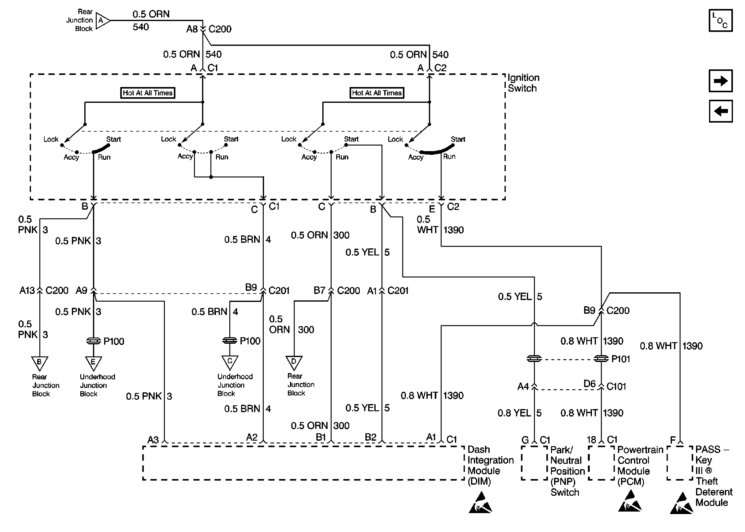
Cell 10: Ignition Switch


Object Number: 291149  Size: FS
Figure 2:

Cell 10: IGN SW, HTDST LR, HTDST RR, HTDST LF, and HTDST RF Fuses


Object Number: 291150  Size: FS
Figure 3:

Cell 10: SIR, VENT SOL, and IGN1 Fuses


Object Number: 291154  Size: FS
Figure 4:

Cell 10: IGN 3 Relay, HVAC and ABS Fuses


Object Number: 291156  Size: FS
Figure 5:

Cell 10: HVAC and ABS Fuses / IGN 3 Relay


Object Number: 291155  Size: FS
Figure 6:

Cell 10: RAP and EXPORT LGT Fuses


Object Number: 291158  Size: FS
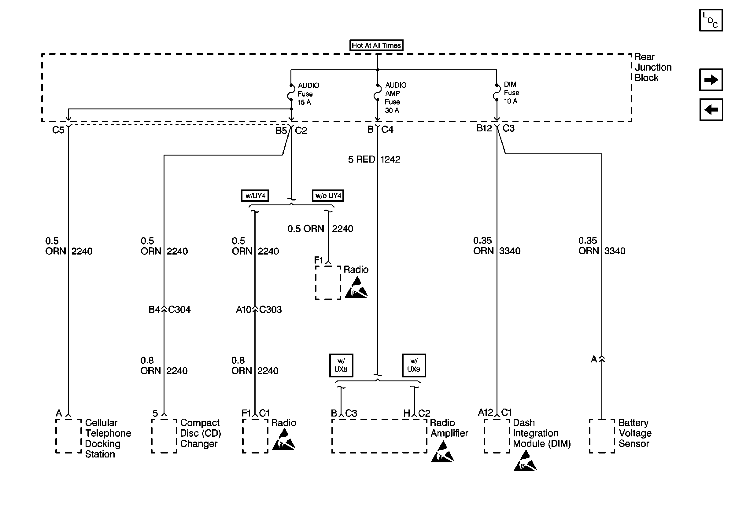
Figure 7:

Cell 10: AUDIO, AUDIO AMP, and DIM Fuses


Object Number: 291159  Size: FS
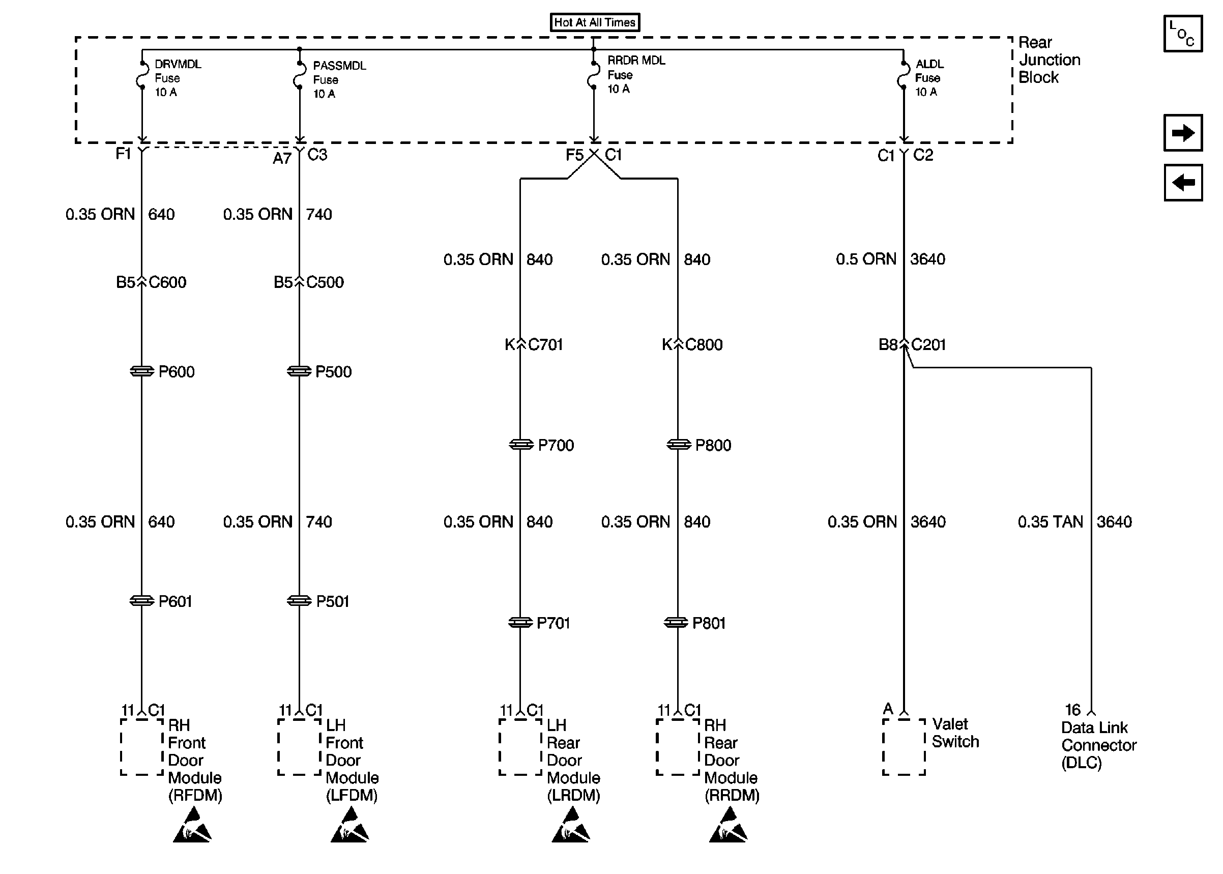
Figure 8:

Cell 10: DRVMDL, PASSMDL, RRDR MDL, and ALDL Fuses


Object Number: 291160  Size: FS
Figure 9:

Cell 10: PCM BAT, EXPORT BRK, I/P, ABS SOL, and ABS MOT Fuses


Object Number: 291161  Size: FS
Figure 10:

Cell 10: PWR WDO and PWR SEAT Circuit Breakers


Object Number: 291162  Size: FS
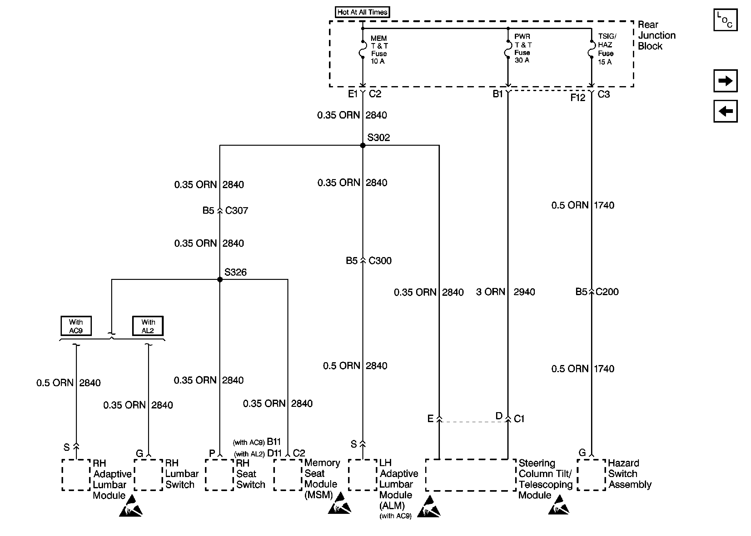
Figure 11:

Cell 10: MEM T&T, PWR T&T, and TSIG/HAZ Fuses


Object Number: 291163  Size: FS
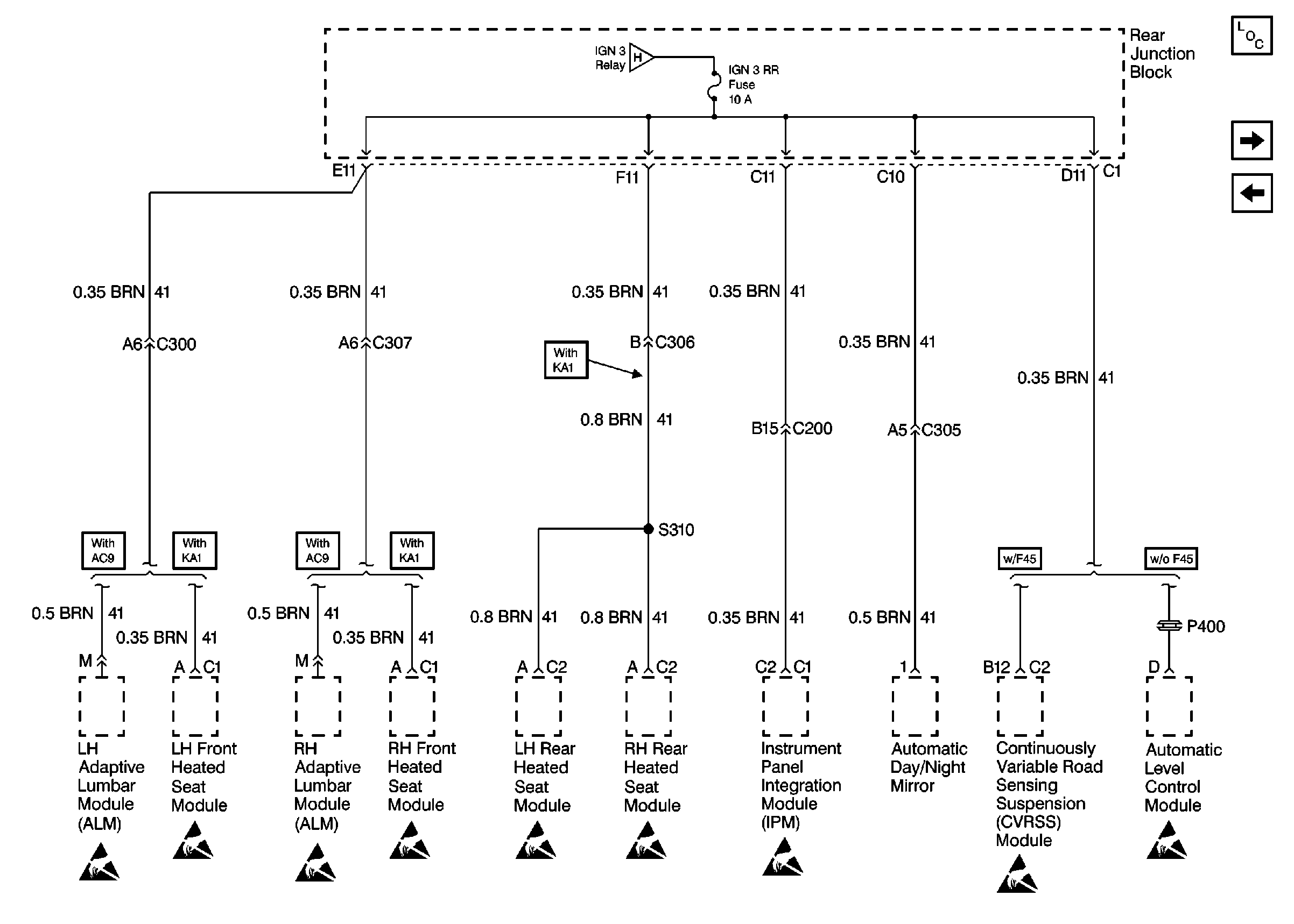
Figure 12:

Cell 10: IGN 3 RR Fuse


Object Number: 291164  Size: FS
Figure 13:

Cell 10: IGN 1 and PCM IGN Fuses


Object Number: 291166  Size: FS
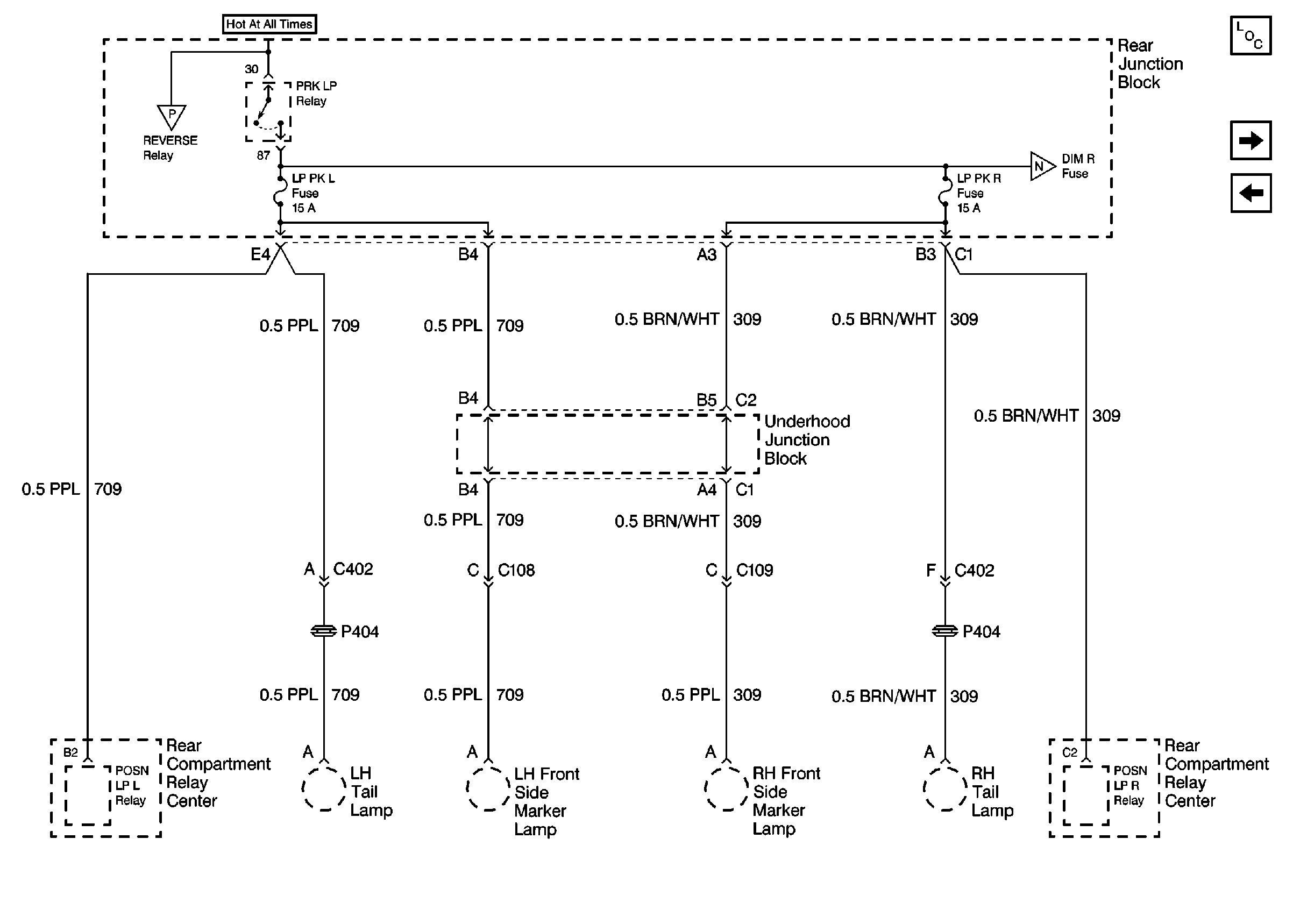
Figure 14:

Cell 10: LP PK L and LP PK R Fuses / PRK LP Relay


Object Number: 291152  Size: FS