GM Service Manual Online
For 1990-2009 cars only
Makes
🢒
Cadillac
🢒
1998
🢒
Seville - RHD
🢒
Body and Accessories
🢒
Stationary Windows
🢒 Automatic Day-Night Mirrors Schematics
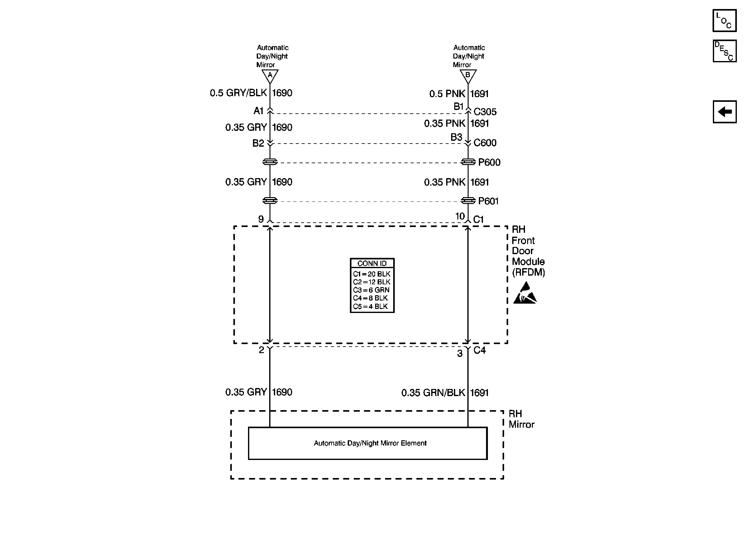
Cell 148: RH Outside Automatic Day/Night Mirror