GM Service Manual Online
For 1990-2009 cars only
Makes
🢒
Cadillac
🢒
1998
🢒
Seville - RHD
🢒
Body and Accessories
🢒
Seats
🢒 Power Seats Schematics
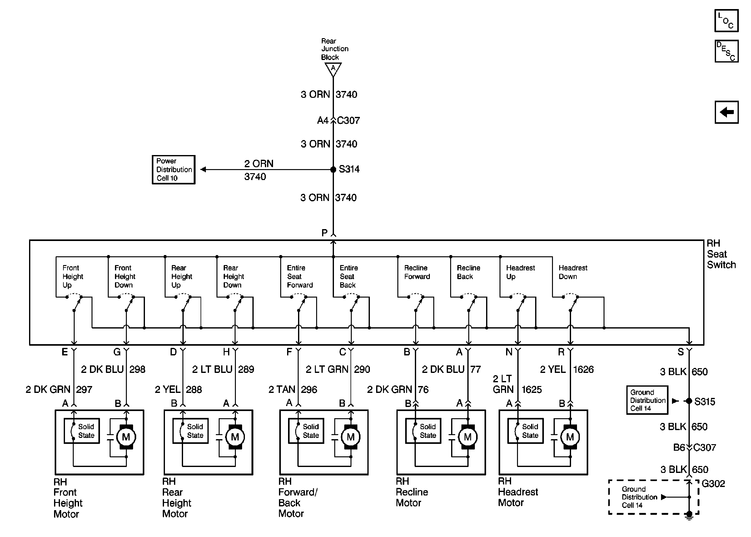
Figure
1:
Cell 140: LH Seat Switch and Motors
Power Seat Systems Components
Power Seats Circuit Description
Cell 140: RH Seat Switch and Motors
Cell 10: PWR WDO and PWR SEAT Circuit Breakers
Cell 14: G302
Cell 14: G302
Cell 10: PWR WDO and PWR SEAT Circuit Breakers
Cell 140: RH Seat Switch and Motors
Power and Grounding Connector End Views
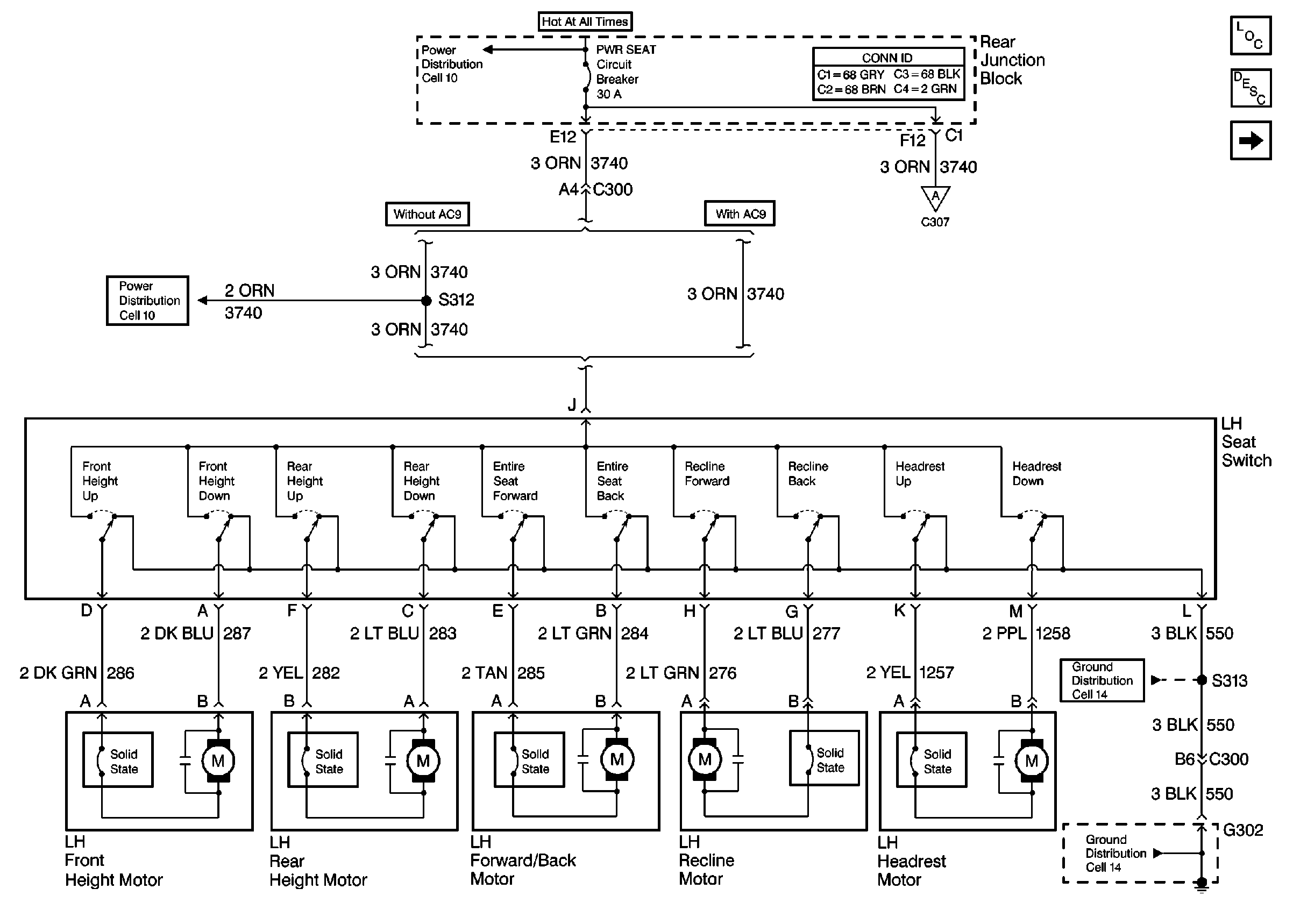
Figure
2:
Cell 140: RH Seat Switch and Motors
Power Seat Systems Components
Power Seats Circuit Description
Cell 140: LH Seat Switch and Motors
Cell 14: G302
Cell 14: G302
Cell 10: PWR WDO and PWR SEAT Circuit Breakers
Cell 140: LH Seat Switch and Motors