GM Service Manual Online
For 1990-2009 cars only
Makes
🢒
Cadillac
🢒
2001
🢒
Seville - RHD
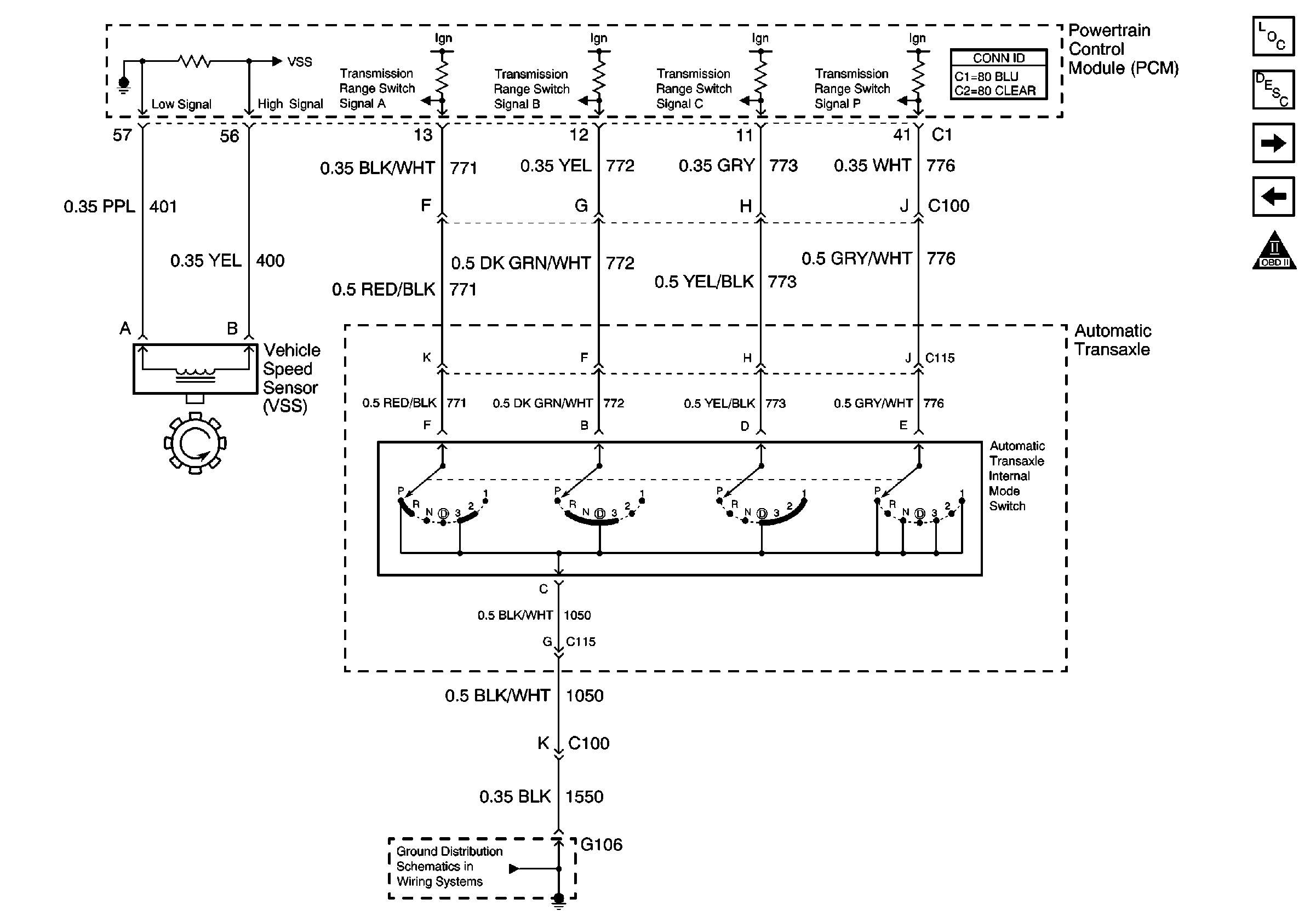
🢒 Automatic Transaxle Internal Mode Switch and VSS
Automatic Transaxle Internal Mode Switch and VSS
Automatic Transaxle Internal Mode Switch and VSS
Transaxle Sensors and TR Switch
Cooling Fan
Engine Controls Component Views
OBD II Symbol Description Notice
G106 and G108