GM Service Manual Online
For 1990-2009 cars only
Makes
🢒
Cadillac
🢒
2001
🢒
Seville - RHD
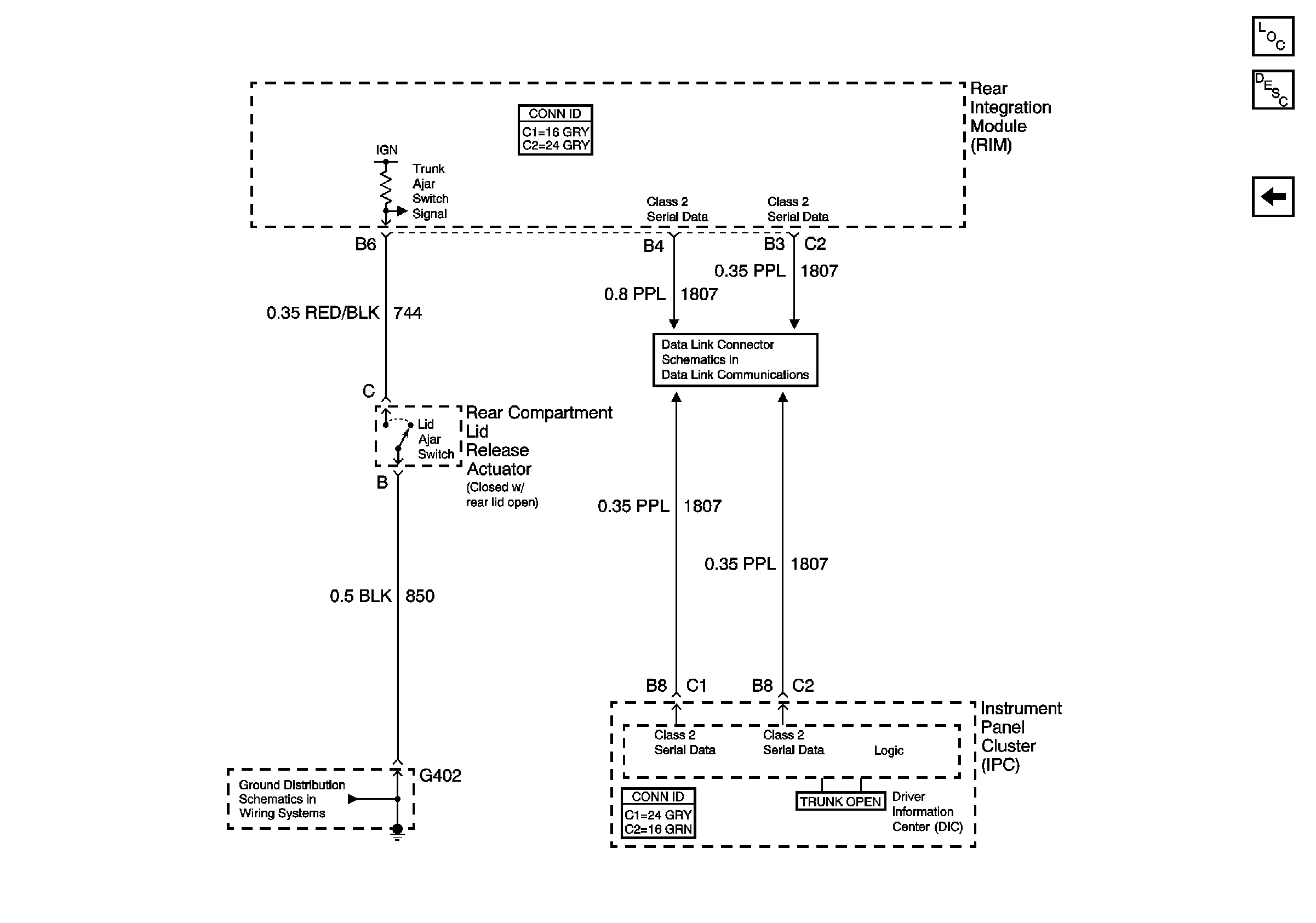
🢒 Rear Compartment Lid Release Actuator
Rear Compartment Lid Release Actuator
Rear Compartment Lid Release Actuator
Power and Ground
Body Rear End Component Views
Class 2 Serial Data Line (LH Drive) (1 of 2)
G402 (1 of 2)