GM Service Manual Online
For 1990-2009 cars only
Makes
🢒
Cadillac
🢒
2001
🢒
Seville - RHD
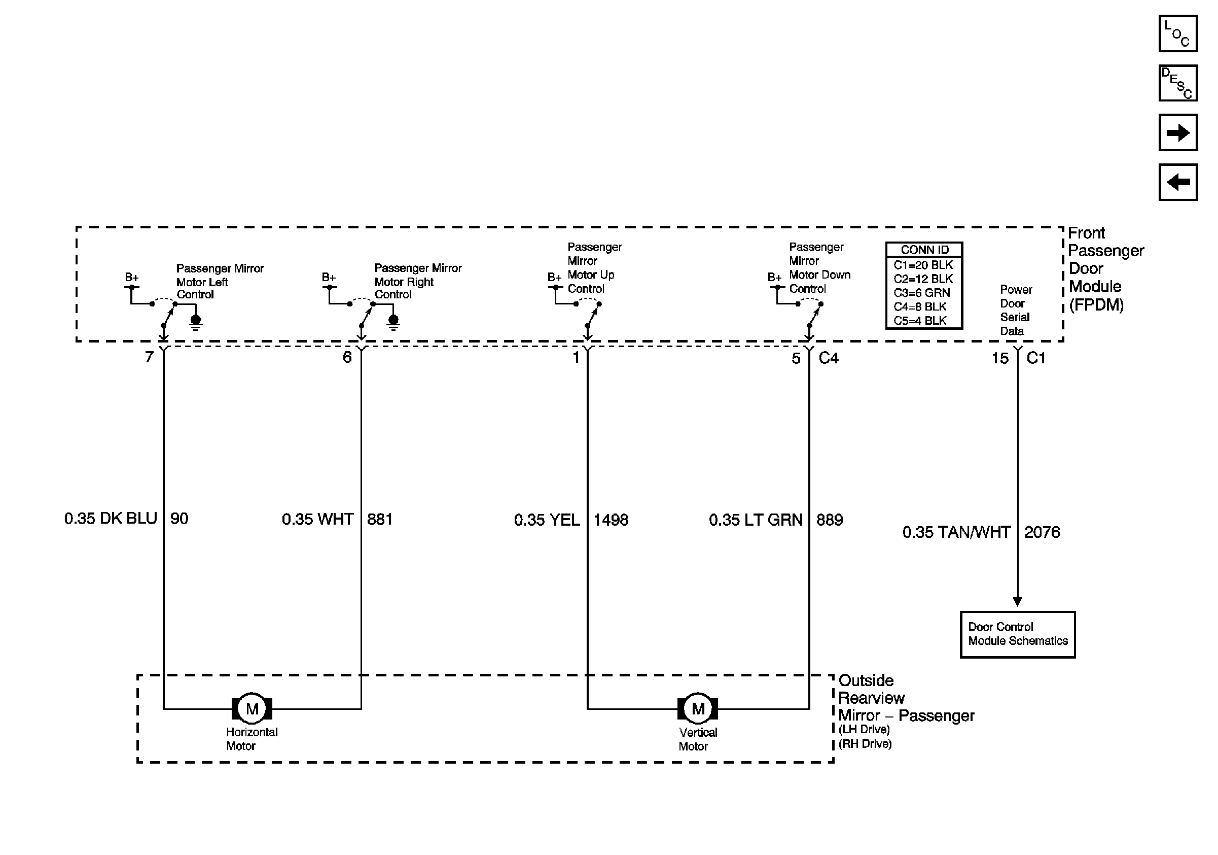
🢒 Passenger Power Mirror (w/o A45)
Passenger Power Mirror (w/o A45)
Passenger Power Mirror (w/o A45)
Master Electrical Component List
Outside Mirror Description and Operation
Heated Mirrors
Driver Power Mirror (w/o A45)
Power Door Serial Data