GM Service Manual Online
For 1990-2009 cars only

Removal Procedure

  1. Remove the left camshafts. Refer to Camshaft Replacement - Left Side .

  2. Object Number: 609690  Size: SH

    Important: If the followers are being reused, arrange them so that they may be put back in their original locations.

  3. Remove the camshaft followers.
  4. Clean and inspect the rocker arms. Refer to Valve Rocker Arm Cleaning and Inspection .

Installation Procedure


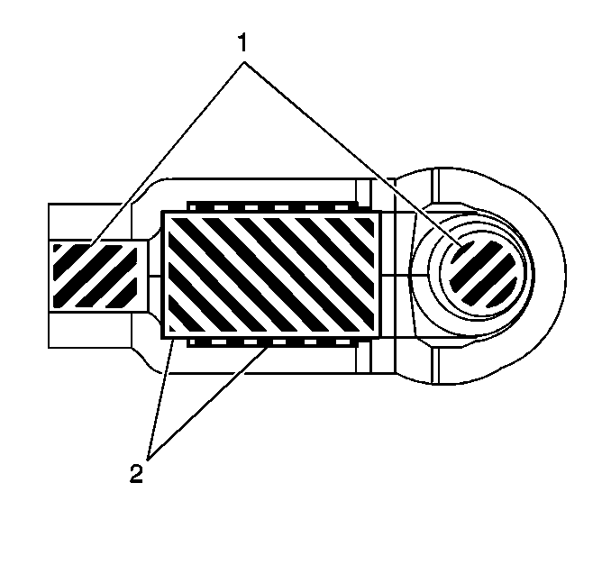
    Object Number: 235196  Size: SH
  1. Apply a liberal amount of lubricant to the roller pivot pocket (2) and valve slot areas (1) of the camshaft followers. Refer to Adhesives, Fluids, Lubricants, and Sealers for the correct part number.

  2. Object Number: 522872  Size: SH

    Important: The follower must be positioned squarely on the valve tip so that the full width of the roller will completely contact the camshaft lobe. If the followers are being reused you must put them back in their original location.

  3. Place the camshaft followers in position on the valve tip (1) and the SHLA (1). The rounded head of the follower goes on the SHLA, while the flat end goes on the valve tip.
  4. Install the left camshafts. Refer to Camshaft Replacement - Left Side .