GM Service Manual Online
For 1990-2009 cars only
Makes
🢒
Cadillac
🢒
2005
🢒
XLR
🢒
Suspension
🢒
Tire Pressure Monitoring
🢒 Tire Pressure Monitoring System Schematics
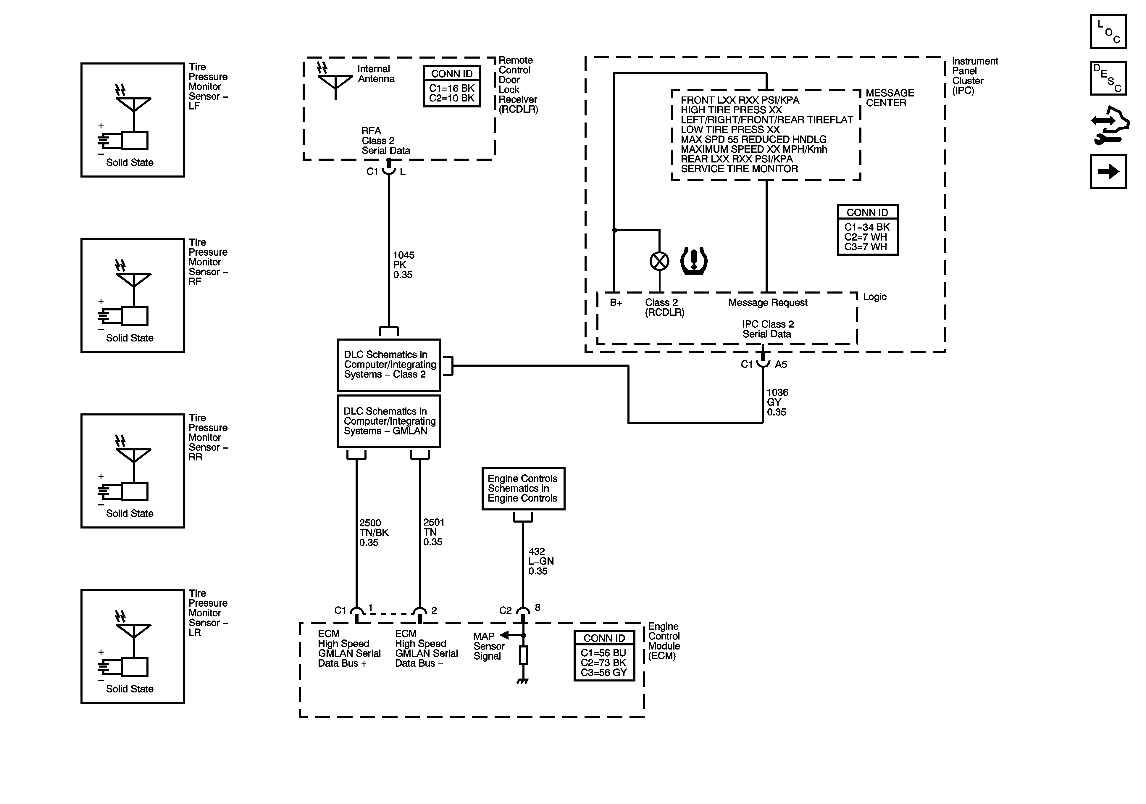
Figure
1:
Except Japan
Master Electrical Component List
Tire Pressure Monitor Description and Operation
Control Module References
Tire Pressure Monitoring - Japan
DLC - Class 2
GMLAN
Engine Data Sensors - Pressure, Temperature, MAF, VSS and Brake Travel
Figure
2:
Japan
Master Electrical Component List
Tire Pressure Monitor Description and Operation
Control Module References
Tire Pressure Monitoring - Except Japan
Wheel Speed Sensors
GMLAN
DLC - Class 2