GM Service Manual Online
For 1990-2009 cars only

Removal Procedure

  1. Open the hood.
  2. Remove the front section of the air cleaner assembly. Refer to Air Cleaner Assembly Replacement .

  3. Object Number: 1217536  Size: SH
  4. Disconnect the hood release cable (1) from the hood latch.
  5. Disconnect the secondary hood latch cable from the hood latch.

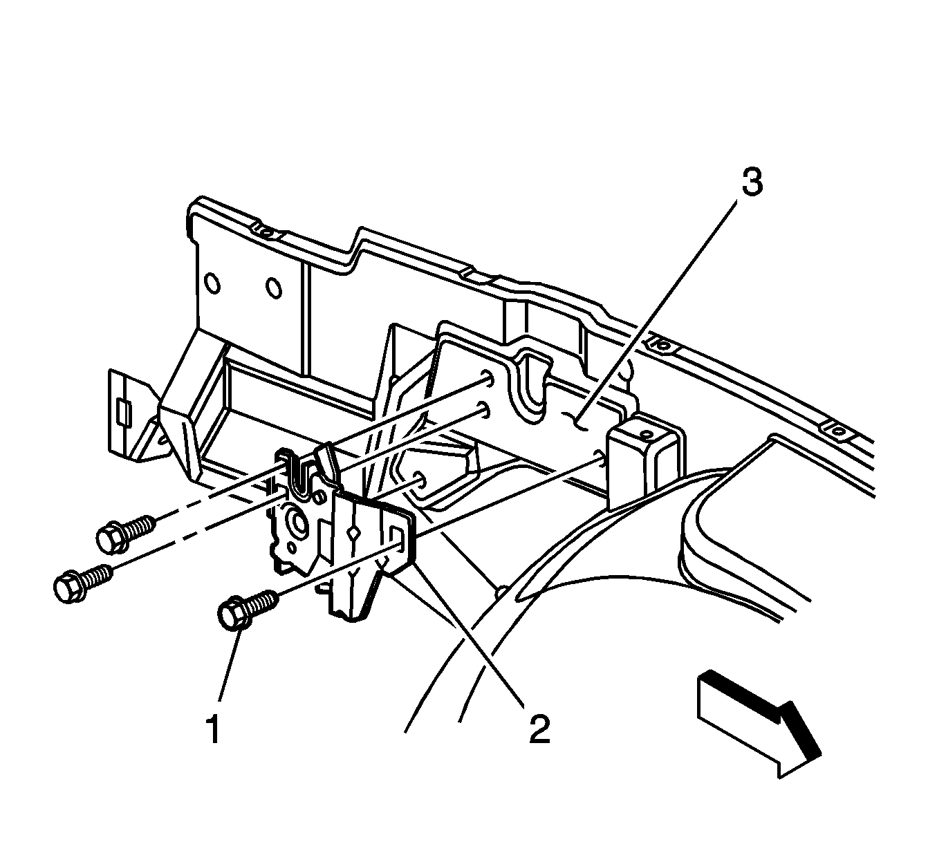
  6. Object Number: 1217540  Size: SH
  7. Remove the bolts (1) attaching the hood latch (2) from latch support (3).
  8. Remove the latch from the latch support.

Installation Procedure


    Object Number: 1217540  Size: SH
  1. Install the hood latch (2) to the latch support (3).
  2. Notice: Refer to Fastener Notice in the Preface section.

  3. Install the bolts (1) attaching the latch (2) to the latch support (3).
  4. Tighten
    Tighten the bolts to 9 N·m (80 lb in).


    Object Number: 1217536  Size: SH
  5. Connect the hood release cable (1) to the latch.
  6. Connect the secondary latch cable (2) to the latch.
  7. Slowly lower the hood and check the latch for the proper alignment.
  8. Adjust the latch as necessary.
  9. Install the front section of the air cleaner assembly. Refer to Air Cleaner Assembly Replacement .
  10. Close the hood.