GM Service Manual Online
For 1990-2009 cars only

Removal Procedure

  1. Open the rear compartment.
  2. Pull back the rear compartment passenger trim panel. Refer to Rear Compartment Side Trim Replacement - Right Side

  3. Object Number: 1244455  Size: SH
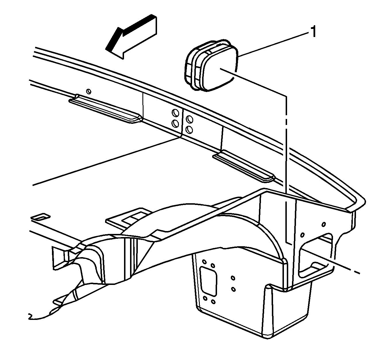
  4. Release the tabs attaching the valve (1) to the rear compartment panel.

Installation Procedure


    Object Number: 1244455  Size: SH
  1. Position the valve (1) to the rear compartment panel with the flaps hanging down.
  2. Press the valve into place.
  3. Re-Position the rear compartment passenger trim panel. Refer to Rear Compartment Side Trim Replacement - Right Side
  4. Close the rear compartment.