GM Service Manual Online
For 1990-2009 cars only

Rear Crossmember Bolt Replacement Forward Bolt

Removal Procedure

    Caution: To avoid personal injury when exposed to welding flashes or to galvanized (Zinc Oxide) metal toxic fumes while grinding/cutting on any type of metal or sheet molded compound, you must work in a properly ventilated area, wearing an approved respirator, eye protection , earplugs, welding gloves, and protective clothing.

  1. Remove all related panels and components.
  2. Remove the rear floor trim plate. Refer to Rear Floor Trim Plate Replacement in Interior Trim.

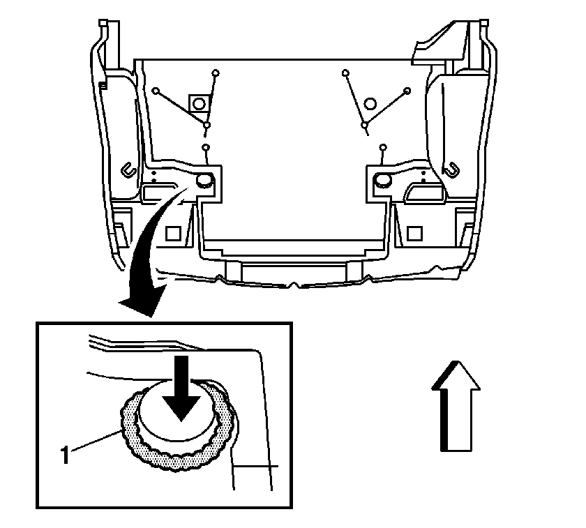
  3. Object Number: 901500  Size: SH
  4. Locate the scribed marks labeled XMBR BOLT (1) in the floor of the rear compartment panel which identifies the area directly over the bolt.

  5. Object Number: 901501  Size: SH

    Important: Fuel system components lie under the floor of the rear compartment panel. When drilling the access hole restrict the drilling depth to 12 mm (1/2 in) (2).

  6. Drill an access hole with a 50 mm (2 in) hole saw (1).

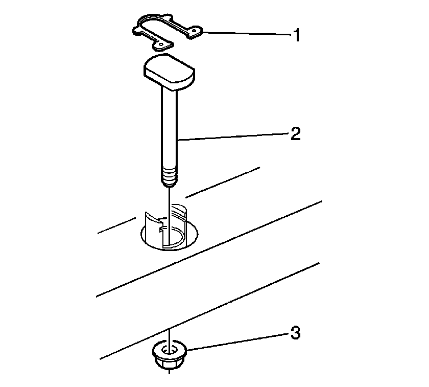
  7. Object Number: 901502  Size: SH

    Important: Using air tools to remove the nut may damage the bolt through tube.

  8. Remove the nut (3) using hand tools.
  9. Remove the spring clip (1).
  10. Remove the bolt (2).

Installation Procedure


    Object Number: 901502  Size: SH

    Important: Verify that you have selected a bolt of the proper length.

  1. Install the bolt (2).
  2. Install the spring clip (1).
  3. Notice: Refer to Fastener Notice in the Preface section.

    Important: Using air tools to install the nut may damage the bolt through tube.

  4. Install a new nut (3) and tighten with hand tools.
  5. Tighten
    Tighten the nut to 110 N·m (81 lb in).

  6. Scuff all bonding surfaces.
  7. Clean all bonding surfaces with a lint-free rag using a naphtha solvent.

  8. Object Number: 901503  Size: SH

    Important: Balsa wood (1) is sandwiched in between the floor. Balsa wood will rot when wet complete sealing of the balsa wood is necessary.

    Important: Bonding surfaces must be dry before applying adhesive.

  9. Apply adhesive (2) GM P/N 89020330 (Canadian P/N 8902332) as necessary to seal the balsa wood.

  10. Object Number: 901508  Size: SH
  11. Cut a piece of Sheet Molded Compound (SMC) or galvanized steel (1) to cover the hole in the floor with at least a 25 mm (1 in) overlap on all sides.
  12. Apply a 6 mm (1/4 in) bead of adhesive (2) GM P/N 89020330 (Canadian P/N 8902332) around the perimeter of the cover.

  13. Object Number: 901506  Size: SH

    Important: Fuel system components lie under the floor of the rear compartment panel. Do not use rivets or screws to attach the cover to the floor.

  14. Position the cover over the hole in the floor (1) and press firmly into place.
  15. Important: A leak proof seal is necessary so that exhaust and fuel fumes cannot enter the vehicle.

  16. Smooth out the adhesive around the cover.
  17. Verify that no skips or gaps occur in the adhesive.
  18. Allow adhesive to cure according to adhesive manufacturer's recommendations.
  19. Install all related panels and components.
  20. Install the rear floor trim panel. Refer to Rear Floor Trim Plate Replacement in Interior Trim.

Rear Crossmember Bolt Replacement Rearward Bolt

Removal Procedure

    Caution: To avoid personal injury when exposed to welding flashes or to galvanized (Zinc Oxide) metal toxic fumes while grinding/cutting on any type of metal or sheet molded compound, you must work in a properly ventilated area, wearing an approved respirator, eye protection , earplugs, welding gloves, and protective clothing.

  1. Remove all related panels and components.
  2. Remove the rear floor trim panel. Refer to Rear Floor Trim Plate Replacement in Interior Trim.

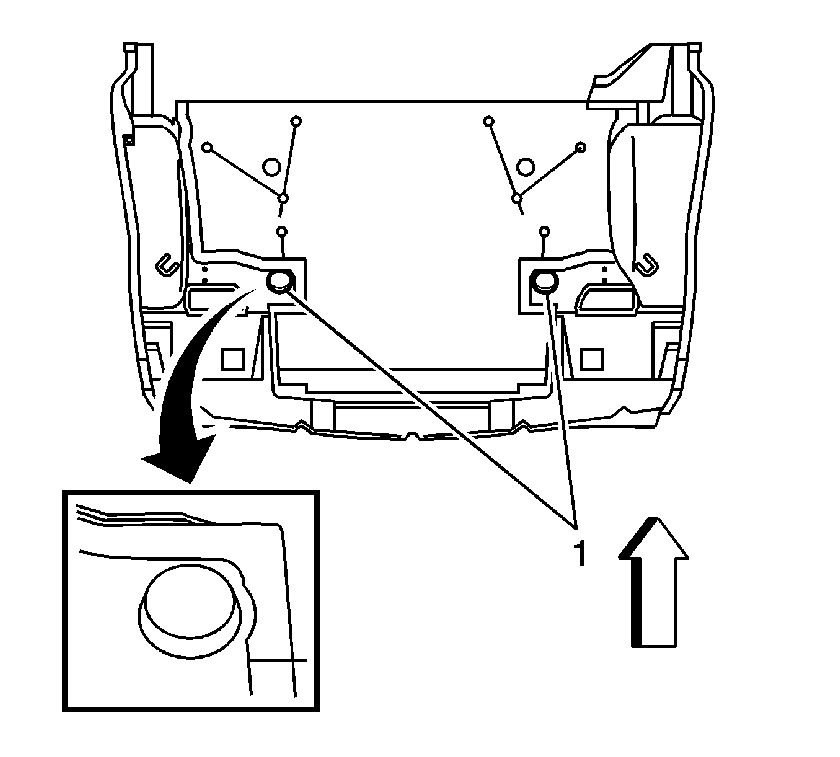
  3. Object Number: 901509  Size: SH
  4. Locate the raised area (1) over the rear bolt.

  5. Object Number: 901510  Size: SH

    Important: Cut on a 45 degree angle (1) or less to aid in using the piece for a patch.

  6. Cut (2) out an access hole over the bolt.
  7. Save the cut-out piece to patch the hole.

  8. Object Number: 901502  Size: SH

    Important: Using air tools to remove the nut may damage the bolt through tube.

  9. Use hand tools to remove the nut (3).
  10. Remove the spring clip (1).
  11. Remove the bolt (2).

Installation Procedure


    Object Number: 901502  Size: SH

    Important: Verify that you have selected a bolt of the proper length.

  1. Install the bolt (2).
  2. Install the spring clip (1).
  3. Notice: Refer to Fastener Notice in the Preface section.

    Important: Using air tools to remove the nut may damage the bolt through tube.

  4. Install a new nut (3) and tighten with hand tools.
  5. Tighten
    Tighten the nut to 110 N·m (81 lb ft).

  6. Scuff all bonding surfaces.
  7. Clean all bonding surfaces with a lint-free rag using a naphtha solvent.

  8. Object Number: 901511  Size: SH

    Important: Use the original cut-out piece to patch the hole

    Important: Bonding surfaces must be dry before applying adhesive.

  9. Apply adhesive bonding material (1) GM P/N 89020330 (Canadian P/N 8902332) as necessary to the repair area of the floor and the patch.

  10. Object Number: 901512  Size: SH
  11. Position the patch (1) and press firmly into place.
  12. Important: A leak proof seal is necessary so that exhaust and fuel fumes cannot enter the vehicle.

  13. Smooth out the adhesive around the repaired area.
  14. Verify that no skips or gaps occur in the adhesive.
  15. Allow adhesive to cure according to adhesive manufacturer's recommendations.
  16. Install all related panels and components.
  17. Install the rear floor trim panel. Refer to Rear Floor Trim Plate Replacement in Interior Trim.