GM Service Manual Online
For 1990-2009 cars only

Removal Procedure

  1. Remove the back up lamp assembly. Refer to Backup Lamp Replacement .

  2. Object Number: 914409  Size: SH
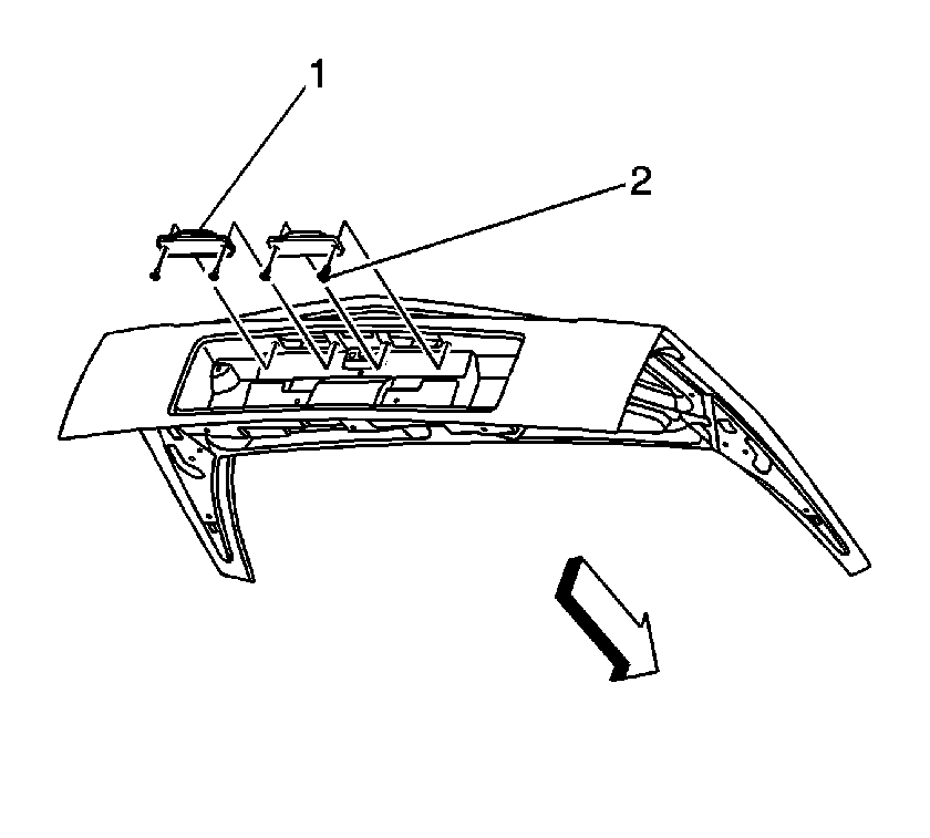
  3. Remove the screws (2) attaching the license lamp (1) to the rear compartment lid.
  4. Remove the license lamp from the rear compartment lid.
  5. Remove the bulb/socket from the license lamp.

Installation Procedure

  1. Install the license lamp bulb/socket to the license lamp.

  2. Object Number: 914409  Size: SH
  3. Postion the license lamp (1) to the rear compartment lid.
  4. Notice: Refer to Fastener Notice in the Preface section.

  5. Install the license lamp screws (2).
  6. Tighten
    Tighten the screws to 2 N·m (18 lb in).

  7. Inspect the license lamp for proper operation.
  8. Install the back up lamp. Refer to Backup Lamp Replacement .