GM Service Manual Online
For 1990-2009 cars only

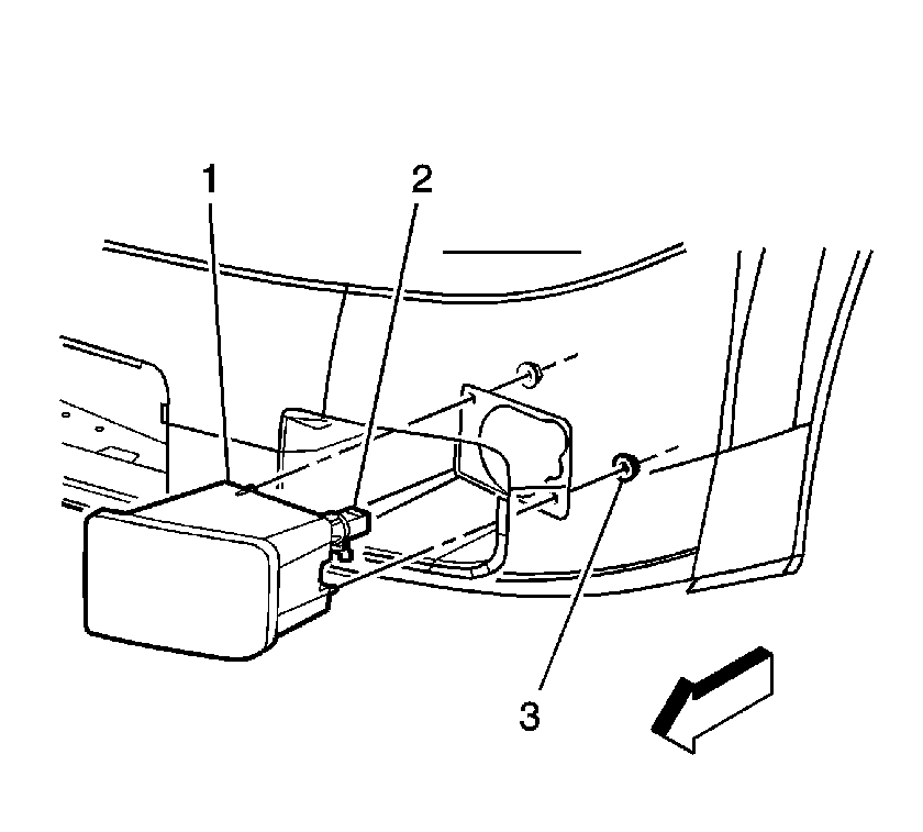
Removal Procedure

  1. Remove the front fascia lower close out panel. Refer to Front Bumper Fascia Lower Close Out Panel Replacement .

  2. Object Number: 915125  Size: SH
  3. Disconnect the electrical connector from the bulb/socket (2).
  4. Remove the nuts (3) attaching front fog lamp (1) to the front fascia.
  5. Remove the fog lamp (1) from the fascia.
  6. Remove the bulb/socket from fog lamp. Refer to Front Fog Lamp Bulb Replacement .

Installation Procedure

  1. Install the bulb/socket to fog lamp. Refer to Front Fog Lamp Bulb Replacement .

  2. Object Number: 915125  Size: SH
  3. Install the fog lamp (1) to the fascia.
  4. Notice: Refer to Fastener Notice in the Preface section.

  5. Install fog lamp nuts (3).
  6. Tighten
    Tighten the nuts to 6 N·m (53 lb in).

  7. Connect the fog lamp electrical connector to the bulb/socket (2).
  8. Inspect the fog lamp for proper operation.
  9. Install the front fascia lower close out panel. Refer to Front Bumper Fascia Lower Close Out Panel Replacement .
  10. Aim the fog lamp. Refer to Fog Lamp Aiming .