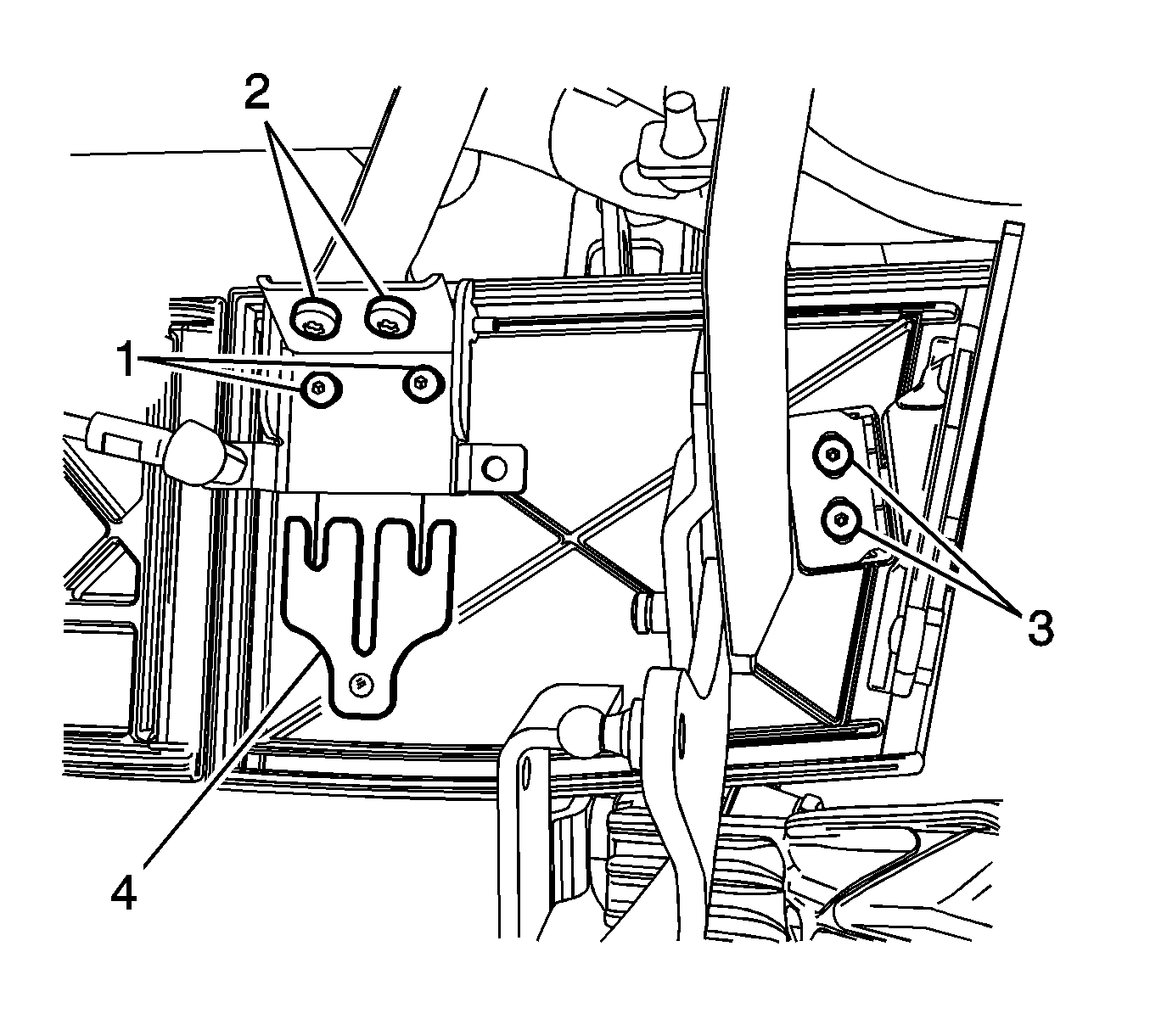
Notice: Refer to Fastener Notice in the Preface section.
Tighten
Tighten the bolts to 5 N·m (44 lb in).
Important: Align the closeout panels evenly from front to rear. Gaps should exist between the 3 closeout panels.
Tighten
Tighten the bolts to 5 N·m (44 lb in).