GM Service Manual Online
For 1990-2009 cars only
Connector 1: Engine Control Module (ECM) - C1
Connector 2: Engine Control Module (ECM) - C2
Connector 3: Engine Control Module (ECM) - C3

Engine Control Module (ECM) - C1


Object Number: 1228485  Size: CH

Connector Part Information

  • OEM: 34576-3103
  • Service: 88988373
  • Description: 56-Way F Micro 64 (BU)

Terminal Part Information

  • Pins: 7, 18, 34, 39, 40, 44, 45, 53, 54, 56
  • Terminal/Tray: 33467-0003/23
  • Core/Insulation Crimp: H/H
  • Release Tool/Test Probe: J-38125-213/J-35616-64B (L-BU)
  • Pins: 9, 12, 13, 20, 33, 35, 36, 37, 46, 47, 48, 49, 19, 55
  • Terminal/Tray: 33467-0005/23
  • Core/Insulation Crimp: Pins 9, 12, 13, 20, 33, 35, 36, 37, 46, 47, 48, 49 - J/J
  • Core/Insulation Crimp: Pins 19, 55 - K/K
  • Release Tool/Test Probe: J-38125-213/J-35616-64B (L-BU)

Engine Control Module (ECM) - C1

Pin

Wire Color

Circuit No.

Function

1-6

--

--

Not Used

7

WH

17

Stop Lamp Switch Signal

8

--

--

Not Used

9

TN

808

Low Reference

10-11

--

--

Not Used

12

BN/WH

419

MIL Control

13

D-GN/WH

465

Fuel Pump Relay Control (Primary)

14-17

--

--

Not Used

18

YE

43

Accessory Voltage

19

PK

1439

Ignition 1 Voltage

20

RD/WH

2440

Battery Positive Voltage

21-24

--

--

Not Used

25

WH

121

Engine Speed Signal

26-32

--

--

Not Used

33

WH/BK

1164

5-Volt Reference

34

GY

2709

5-Volt Reference

35

TN

1274

5-Volt Reference

36

BN

1271

Low Reference

37

PU

1272

Low Reference

38

--

--

Not Used

39

D-GN/WH

817

Vehicle Speed Signal

40

WH/BK

448

Powertrain Diagnostic Enable

41-43

--

--

Not Used

44

D-BU

1936

Fuel Level Sensor Signal (Secondary)

45

L-BU

1937

Secondary Fuel Level Sensor Signal

46

BN

7123

Super Charger Inlet Air Pressure Sensor Signal

47

D-BU

1161

APP Sensor 1 Signal

48

D-GN

890

Fuel Tank Pressure Sensor Signal

49

L-BU

1162

APP Sensor 2 Signal

50-52

--

--

Not Used

53

D-GN/WH

459

A/C Compressor Clutch Relay Control

54

--

--

Not Used

55

WH

1310

EVAP Canister Vent Solenoid Control

56

YE/BK

625

Starter Enable Relay Control

Engine Control Module (ECM) - C2


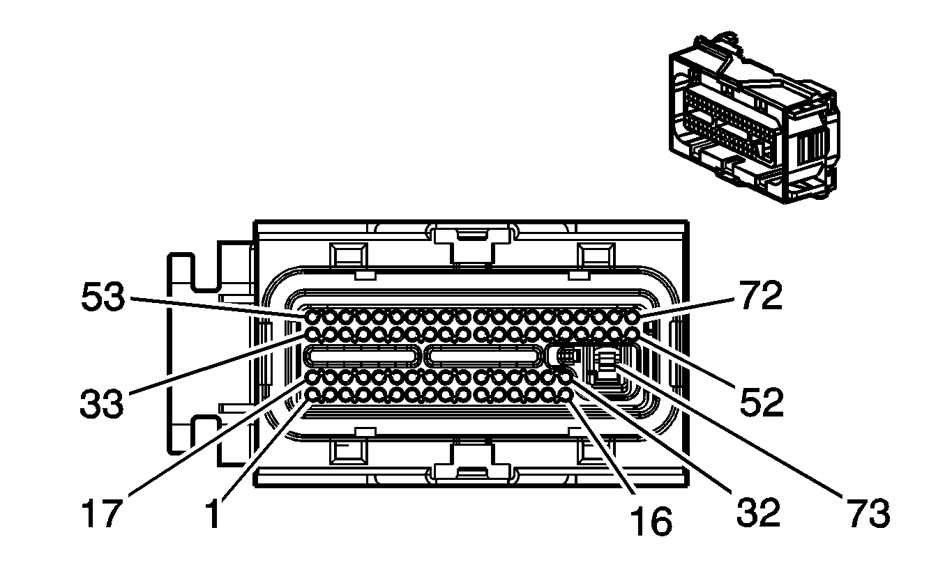
Object Number: 1391794  Size: CH

Connector Part Information

  • OEM: 34566-0103
  • Service: 88988903
  • Description: 73-Way F Micro-Pack GT 64 (BK)

Terminal Part Information

  • Pins: 73
  • Terminal/Tray: 7116-4152-02/9
  • Core/Insulation Crimp: 2/5
  • Release Tool/Test Probe: 12094430/J-35616-35 (VT)
  • Pins: 13, 28, 45, 65
  • Terminal/Tray: 33467-0003/23
  • Core/Insulation Crimp: H/H
  • Release Tool/Test Probe: J-38125-213/J-35616-64B (L-BU)
  • Pins: 1, 2, 3, 4, 5, 6, 7, 8, 9, 14, 15, 16, 17, 18, 19, 20, 21, 22, 23, 24, 25, 27, 29, 30, 31, 32, 33, 34, 35, 36, 37, 38, 39, 40, 41, 42, 43, 44, 46, 47, 48, 49, 50, 51, 52, 53, 54, 55, 56, 57, 58, 59, 60, 62, 63, 64, 66, 67, 68, 69, 70, 71, 72, 11, 12
  • Terminal/Tray: 33467-0005/23
  • Core/Insulation Crimp: Pins 1, 2, 3, 4, 5, 6, 7, 8, 9, 14, 15, 16, 17, 18, 19, 20, 21, 22, 23, 24, 25, 27, 29, 30, 31, 32, 33, 34, 35, 36, 37, 38, 39, 40, 41, 42, 43, 44, 46, 47, 48, 49, 50, 51, 52, 53, 54, 55, 56, 57, 58, 59, 60, 62, 63, 64, 66, 67, 68, 69, 70, 71, 72 - J/J
  • Core/Insulation Crimp: Pins 11, 12 - K/K
  • Release Tool/Test Probe: J-38125-213/J-35616-64B (L-BU)

Engine Control Module (ECM) - C2

Pin

Wire Color

Circuit No.

Function

1

PU

2121

IC1 Control

2

TN/WH

3111

H02S Low Reference (Bank 1 Sensor 1)

3

PU/WH

3110

Reference Voltage (Bank 1 Sensor 1)

4

PU

3120

H02S High Signal (Bank 1 Sensor 2)

5

TN/WH

3121

H02S Low Signal (Bank 1 Sensor 2)

6

L-BU

1876

Knock Sensor 2 Signal

7

GY

2303

Low Reference

8

D-BU

496

Knock Sensor (1) Signal

9

GY

1716

Low Reference

10

--

--

Not Used

11

YE

581

TAC Motor Control - 1

12

BN

582

TAC Motor Control - 2

13

PK

439

Ignition 1 Voltage

14

PK/BK

6395

CAM Phase #2 Control

15

TN/BK

6397

CAM Phase #4 Control

16

D-BU/WH

878

Fuel Inspector #8 Control

17

OG/WH

2122

IC2 Control

18

L-BU/WH

2126

IC6 Control

19

BN/WH

2130

Low Reference

20

PU

6267

Camshaft CAM X Ground

21

TN

6268

Camshaft CAM Y Ground

22

WH

6269

Camshaft CAM Z Ground

23

BN

6266

Camshaft CAM W Ground

24

BK

2755

Oil Pressure Sensor Low Reference

25

D-GN

7125

Super Charger Inlet Air Pressure Sensor Return

26

--

--

Not Used

27

GY/BK

6272

Crankshaft 60 X Sensor Low Reference

28

PK

439

Ignition 1 Voltage

29

TN

2752

Low Reference

30

BN/WH

6754

CAM Phase X Return Low Reference

31

D-BU/WH

6756

CAM Phase Z Return Low Reference

32

PK/BK

1746

Fuel Injector 3 Control

33

OG

2127

IC7 Control

34

D-GN

2125

IC5 Control

35

BN

2129

Low Reference

36

D-GN

6457

Camshaft CAM X Supply Voltage

37

OG

6260

Camshaft CAM Y Supply Voltage

38

PK

6261

Camshaft CAM Z Supply Voltage

39

D-BU

6259

Camshaft CAM W Supply Voltage

40

GY

2705

5-Volt Reference

41

YE/BK

7124

Super Charger Inlet Air Pressure Sensor Supply Voltage 5V

42

TN

2760

Low Reference

43

PU/WH

6270

Crankshaft Box Sensor Voltage

44

GY

2701

5-Volt Reference

45

BN

6273

Low Reference

46

BN

6753

Low Reference

47

D-BU

6755

Low Reference

48

L-GN/BK

1745

Fuel Injector 2 Control

49

TN/WH

845

Fuel Injector 5 Control

50

WH/BK

6396

CAM Phase #3 Control

51

GY/BK

6394

CAM Phase Control

52

L-BU/BK

844

Fuel Injector 4 Control

53

L-BU

2123

IC3 Control

54

D-GN/WH

2124

IC4 Control

55

PU/WH

2128

IC8 Control

56

D-GN/WH

6264

Camshaft CAM X Signal

57

OG/BK

6263

Camshaft CAM Y Signal

58

PK/BK

6262

Camshaft CAM Z Signal

59

D-BU/WH

6265

Camshaft CAM W Signal

60

TN/WH

331

Oil Pressure Sensor Signal

61

--

--

Not Used

62

TN/BK

472

IAT Sensor Signal

63

WH/BK

6271

Crankshaft 60 X Sensor Signal

64

D-GN

485

TP Sensor 1 Signal

65

D-GN/WH

357

Blower Motor High Control

66

PU

486

TP Sensor 2 Signal

67

YE

492

MAF Sensor Signal

68

GY/WH

3113

H02S Heater Low Control (Bank 1 Sensor 1)

69

GY/WH

3122

H02S Heater Low Control (Bank 2 Sensor 1)

70

YE/BK

846

Fuel Injector 6 Control

71

OG/BK

877

Fuel Injector 7 Control

72

TN

1744

Fuel Injector 1 Control

73

BK/WH

451

Ground

Engine Control Module (ECM) - C3


Object Number: 1391794  Size: CH

Connector Part Information

  • OEM: 34566-3305
  • Service: 88988372
  • Description: 73-Way F Micro-Pack GT 64 Series (D-GY) Encased in BK

Terminal Part Information

  • Pins: 73
  • Terminal/Tray: 7116-4152-02/9
  • Core/Insulation Crimp: 2/5
  • Release Tool/Test Probe: 12094430/J-35616-35 (VT)
  • Pins: 3, 4, 5, 6, 7, 14, 15, 16, 18, 21, 22, 23, 29, 33, 34, 35, 37, 38, 39, 46, 50, 53, 55, 56, 57, 58, 59
  • Terminal/Tray: 33467-0005/23
  • Core/Insulation Crimp: J/J
  • Release Tool/Test Probe: J-38125-213/J-35616-64B (L-BU)
  • Pins: 48, 49
  • Terminal/Tray: 33467-0003/23
  • Core/Insulation Crimp: H/H
  • Release Tool/Test Probe: J-38125-213/J-35616-64B (L-BU)

Engine Control Module (ECM) - C3

Pin

Wire Color

Circuit No.

Function

1-2

--

--

Not Used

3

TN/WH

3211

H02S Low Reference (Bank 2 Sensor 1)

4

PU/WH

3210

Reference Voltage (Bank 2 Sensor 1)

5

PU

3220

H02S High Signal (Bank 2 Sensor 2)

6

TN

3221

H02S Low Signal (Bank 2 Sensor 2)

7

OG

225

Generator Turn On Signal

8-13

--

--

Not Used

14

L-BU

7126

Super Charger Vacuum

15

L-GN

3212

H02S Heater Low Reference (Bank 2 Sensor 1)

16

PK

2014

Coolant Pump Relay Control

17

--

--

Not Used

18

BN

1174

Oil Level Switch Signal

19-20

--

--

Not Used

21

BK/WH

2751

Low Reference

22

OG

6014

Barometric Pressure Sensor Low Reference

23

OG/BK

469

Low Reference

24-28

--

--

Not Used

29

GY

23

Generator Field Duty Cycle Signal

30-32

--

--

Not Used

33

TN

2501

High Speed GMLAN Serial Data BUS (-)

34

YE/BK

6120

Manifold Air Temperature Sensor Low Reference

35

TN

2761

Low Reference

36

--

--

Not Used

37

GY

2700

5-Volt Reference

38

WH/BK

2932

5-Volt Reference

39

GY

2704

5-Volt Reference

40-45

--

--

Not Used

46

OG/BK

1786

Transmission Park/Neutral Signal (1)

47

--

--

Not Used

48

D-GN/WH

428

EVAP Canister Purge Solenoid Control

49

D-GN

335

Low Speed Cooling Fan Relay Control

50

OG/BK

3223

H02S Heater Low Control (Bank 2 Sensor 2)

51-52

--

--

Not Used

53

TN/BK

2500

High Speed GMLAN Serial Data BUS (+)

54

--

--

Not Used

55

YE

410

ECT Sensor Signal

56

L-BU

6118

Manifold Air Temp (MAT) Sensor Signal

57

OG/BK

380

A/C Refrigerant Pressure Sensor Signal

58

GY/BK

433

Barometric Pressure Sensor Signal

59

L-GN

432

MAP Sensor Signal

60-72

--

--

Not Used

73

BK/WH

451

Ground