GM Service Manual Online
For 1990-2009 cars only

Removal Procedure

  1. Open the hood.
  2. Remove the front fascia close-out panel. Refer to Front Bumper Fascia Lower Close Out Panel Replacement in Bumpers.
  3. Remove the headlamp. Refer to Headlamp Assembly or Headlamp Bulb and/or Cornering, Sidemarker, Park, Turn Signal Bulb Replacement in Lighting Systems.
  4. Loosen the front bumper fascia. Refer to Front Bumper Fascia Replacement in Bumpers.
  5. Remove the fender to hood seal. Refer to Seal Replacement - Fender to Hood .
  6. Remove the wheelhouse filler panel. Refer to Wheelhouse Filler Replacement .

  7. Object Number: 1219064  Size: SH
  8. Remove the screws (2) securing the lower rear portion of the front fender (1) to the vehicle.

  9. Object Number: 1218550  Size: SH
  10. Remove the screws (2) securing the rear portion of the fender (1) to the vehicle.

  11. Object Number: 1218548  Size: SH
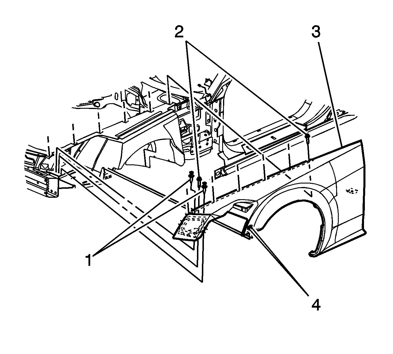
  12. Remove the push-in fasteners (1) securing the front portion of the fender (3) to the vehicle.
  13. Remove the bolts (4) securing the front portion of the fender (3) to the vehicle.
  14. Remove the screws (2) securing the fender (3) to the vehicle.
  15. Remove the front fender (3) from the vehicle.

Installation Procedure

  1. Position the fender to the vehicle.
  2. Notice: Refer to Fastener Notice in the Preface section.


    Object Number: 1218548  Size: SH
  3. Install the screws (2) securing the fender (3) to the vehicle.
  4. Tighten
    Tighten the screws to 9 N·m (80 lb in).

  5. Install the bolts (4) securing the front portion of the fender (3) to the vehicle.
  6. Tighten
    Tighten the bolts to 9 N·m (80 lb in).

  7. Install the push-in fasteners (1) securing the front portion of the fender (3) to the vehicle.

  8. Object Number: 1218550  Size: SH
  9. Install the screws (2) securing the rear portion of the fender (1) to the vehicle.
  10. Tighten
    Tighten the screws to 9 N·m (80 lb in).


    Object Number: 1219064  Size: SH
  11. Install the screws (2) securing the lower rear portion of the front fender (1) to the vehicle.
  12. Tighten
    Tighten the screws to 9 N·m (80 lb in).

  13. Install the front bumper fascia. Refer to Front Bumper Fascia Replacement in Bumpers.
  14. Install the headlamp. Refer to Headlamp Assembly or Headlamp Bulb and/or Cornering, Sidemarker, Park, Turn Signal Bulb Replacement in Lighting Systems.
  15. Install the front fascia close-out panel. Refer to Front Bumper Fascia Lower Close Out Panel Replacement in Bumpers.
  16. Install the wheelhouse filler panel. Refer to Wheelhouse Filler Replacement .
  17. Install the fender to hood seal. Refer to Seal Replacement - Fender to Hood .