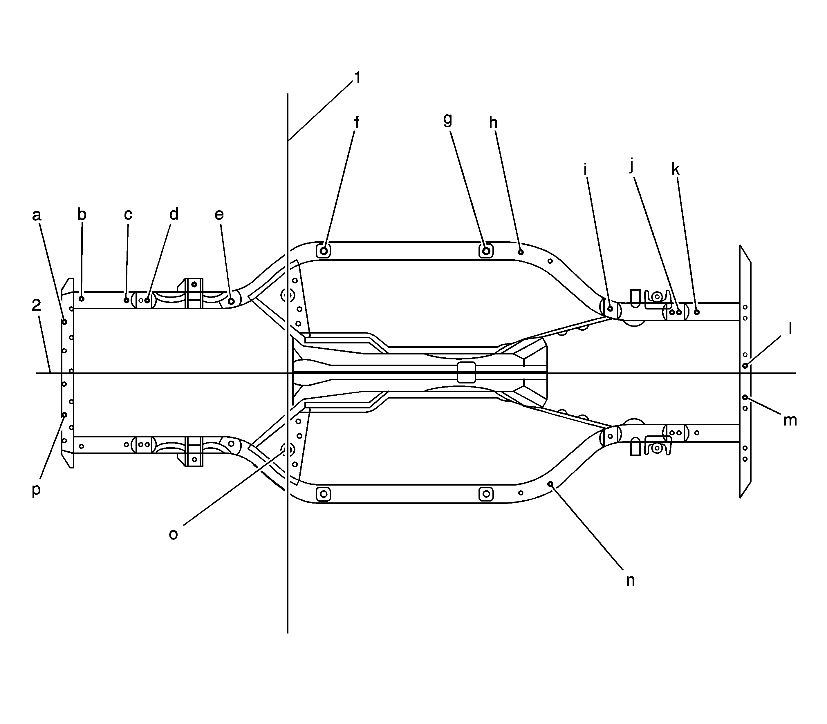
Reference Number | Length (mm) | Width (mm) | Height (mm) | Description |
|---|---|---|---|---|
1 | -- | -- | -- | Zero Line |
2 | -- | -- | -- | Center line |
a | 1275 | 223 | 723 | 10 mm |
b | 1207 | 430 | 566 | 13 mm hex |
c | 966 | 430 | 558 | 18 mm hex |
d | 844 | 428 | 540 | 20 mm LH; 20x25 mm RH |
e | 336 | 432 | 447 | 15 mm |
f | 213 | 727 | 335 | 18x35 mm |
g | 1188 | 738 | 335 | 18x35 mm |
h | 1365 | 706 | 334 | 13 mm |
i | 1923 | 378 | 528 | 15 mm |
j | 2330 | 359 | 575 | 15 mm |
k | 2435 | 359 | 584 | 20 mm |
l | 2731 | 75 | 572 | 10 mm |
m | 2731 | 75 | 572 | 10 mm |
n | 1552 | 643 | 362 | 13 mm |
o | 0 | 550 | 0 | 10 mm |
p | 1335 | 223 | 723 | 10 mm |
All dimensions are measured from a zero line, a center line, and a common daturn. All dimensions are symmetrical unless otherwise specified. | ||||