GM Service Manual Online
For 1990-2009 cars only

Removal Procedure

The hood anchor plate assembly is riveted to the inside of the front frame rail. Access to the hood plate assembly would require the removal of the welded front bumper bar. A procedure was developed for the replacement of a broken hood stud without removing the front bar.

    Caution: Refer to Approved Equipment for Collision Repair Caution in the Preface section.

  1. Disable the SIR system. Refer to SIR Disabling and Enabling .
  2. Disconnect the negative battery cable. Refer to Battery Negative Cable Disconnection and Connection .
  3. Remove all related panels and components.
  4. Note the location and remove the sealers and anti-corrosion materials from the repair area, as necessary. Refer to Anti-Corrosion Treatment and Repair .
  5. Remove the hood hinge.

  6. Object Number: 1521166  Size: SH
  7. Locate and drill a 6 mm (1/4 in) pilot hole (1) directly below the broken hood stud.

  8. Object Number: 1521195  Size: SH
  9. Drill a 25 mm (1 in) hole directly below the broken hood stud.

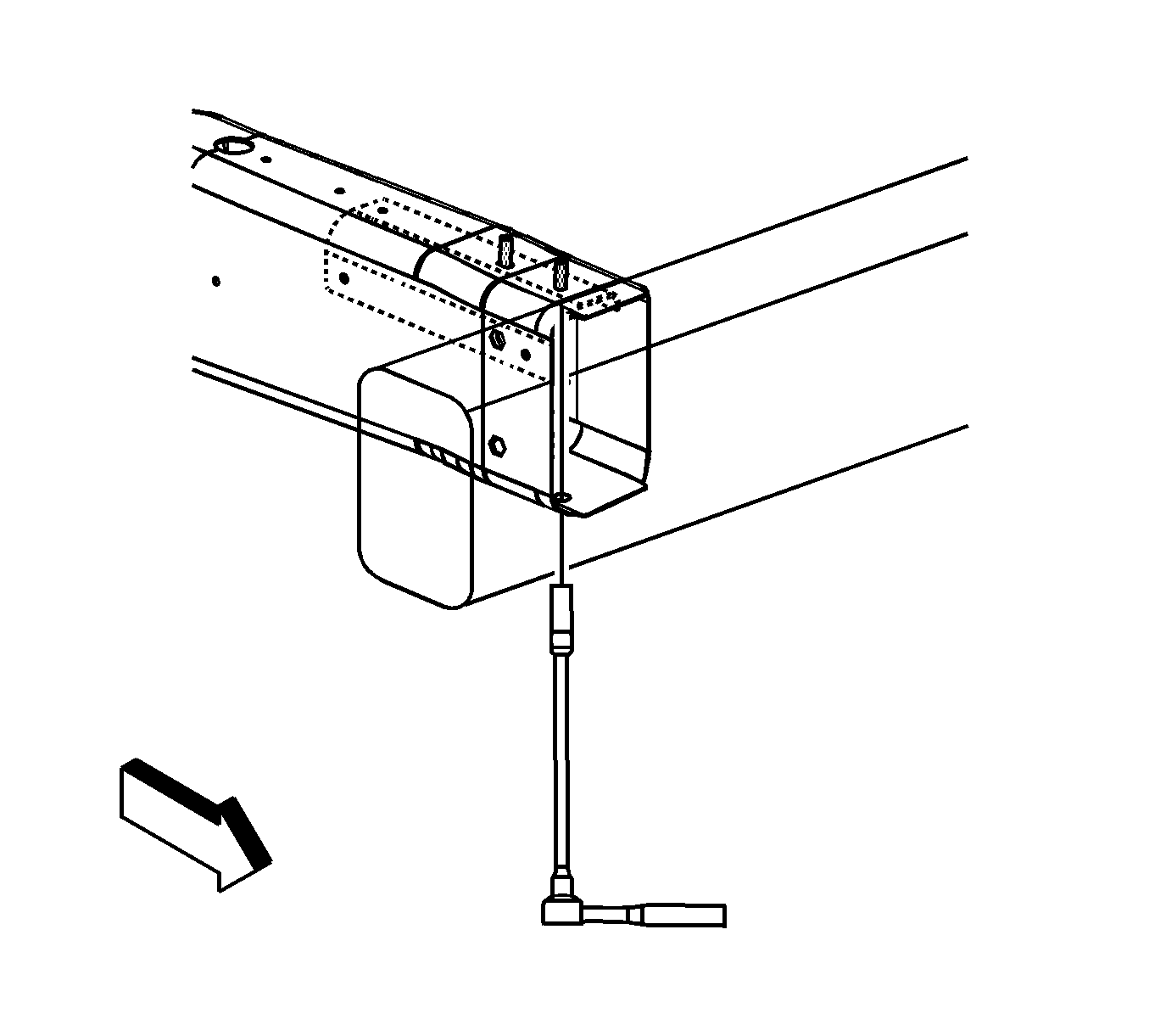
  10. Object Number: 1521206  Size: SH
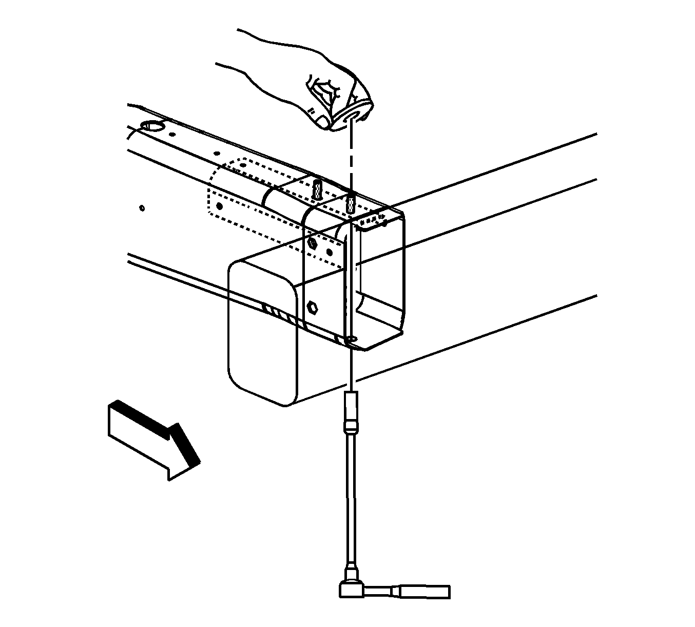
  11. Install a socket and extension through the bottom of the frame rail directly under the broken hood stud.

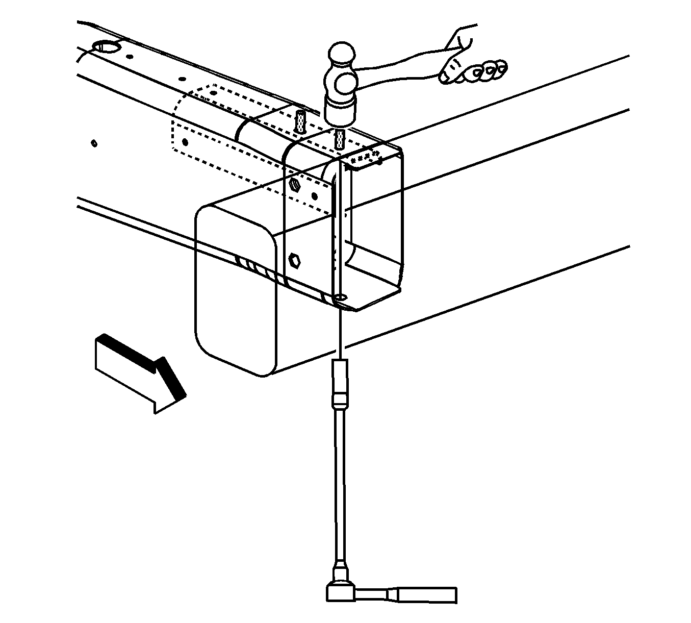
  12. Object Number: 1521203  Size: SH
  13. Using a hammer, tap the broken hood stud into the socket.
  14. Remove the broken hood stud.

Installation Procedure


    Object Number: 1521206  Size: SH
  1. Install a replacement bolt through the bottom of the frame rail.

  2. Object Number: 1521224  Size: SH
  3. Install a retaining clip to the new bolt.
  4. Install the hood hinge.
  5. Paint the repaired area. Refer to Basecoat/Clearcoat Paint Systems .
  6. Apply the sealers and the anti-corrosion materials to the repaired area, as necessary. Refer to Anti-Corrosion Treatment and Repair .
  7. Install all related panels and components.
  8. Connect the negative battery cable. Refer to Battery Negative Cable Disconnection and Connection .
  9. Enable the SIR system. Refer to SIR Disabling and Enabling .