GM Service Manual Online
For 1990-2009 cars only

Object Number: 1466818  Size: MF
Master Electrical Component List
Automatic Transmission Controls Schematics
OBD II Symbol Description Notice
Control Module References

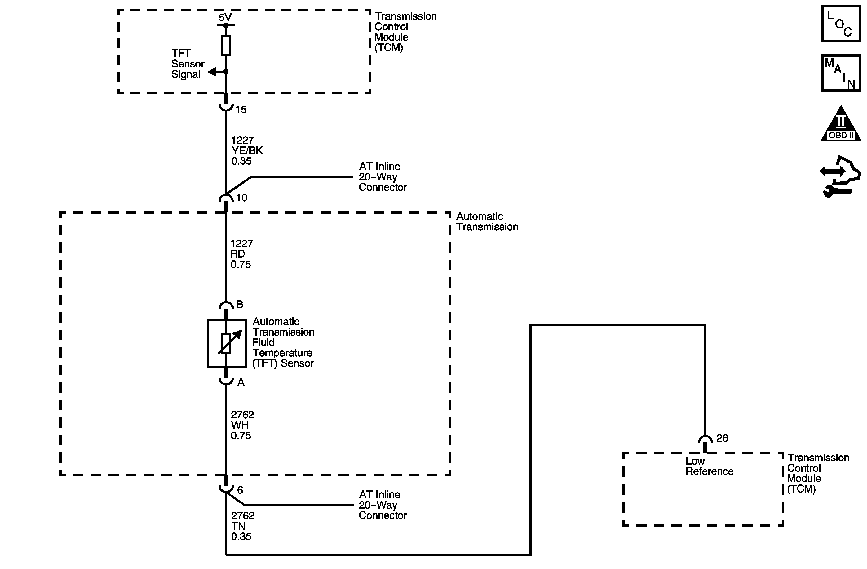
Circuit Description

The automatic transmission fluid temperature (TFT) sensor is part of the automatic transmission internal wiring harness assembly. The TFT sensor is a thermistor, or a resistor that changes value when the temperature changes. The sensor has a negative-temperature coefficient. This means that as the temperature increases, the resistance decreases, and as the temperature decreases, the resistance increases. The transmission control module (TCM) supplies a 5 volt reference signal to the sensor and measures the voltage drop in the circuit. When the transmission fluid is cold, the sensor resistance is high and the TCM detects high signal voltage. As the fluid temperature increases, the resistance of the sensor decreases, which lowers the signal voltage.

If the TCM detects a short to ground in the TFT sensor or signal circuit, then DTC P0712 sets. DTC P0712 is a type C DTC.

DTC Descriptor

This diagnostic procedure supports the following DTC:

DTC P0712 Transmission Fluid Temperature (TFT) Sensor Circuit Low Voltage

Conditions for Running The DTC

The engine run time is at least 5 seconds.

Conditions for Setting The DTC

The TCM detects a transmission fluid temperature of 150° C (302° F) or more for 10 seconds.

Action Taken When the DTC Sets

    • The TCM does not request the ECM to illuminate the malfunction indicator lamp (MIL).
    • The TCM freezes transmission adaptive functions.
    • The TCM calculates a default transmission fluid temperature based on engine coolant temperature, intake air temperature and engine run time.
    • The TCM records the operating conditions when the Conditions for Setting the DTC are met. The TCM stores this information as a Failure Record.
    • The TCM stores DTC P0712 in TCM history.

Conditions for Clearing the DTC

    • A scan tool can clear the DTC.
    • The TCM clears the DTC from TCM history if the vehicle completes 40 warm-up cycles without a non emission related diagnostic fault occurring.
    • The TCM cancels the DTC default actions when the fault no longer exists and the DTC passes.

Test Description

The numbers below refer to the step numbers on the diagnostic table.

  1. This step tests the ability of the TCM to detect an open circuit. If the TCM recognizes the open, this eliminates the TCM and the wiring up to the transmission connector. The fault must be internal to the transmission.

  2. Because the TFT is an integral part of the transmission wiring, the entire harness must be replaced.

Step

Action

Value(s)

Yes

No

1

Did you perform the Diagnostic System Check - Vehicle?

--

Go to Step 2

Go to Diagnostic System Check - Vehicle

2

  1. Install a scan tool.
  2. Turn ON the ignition, with the engine OFF.
  3. Important: 

       • Before clearing the DTC, use the scan tool in order to record the ECM and the TCM Failure Records. Using the Clear Info function erases the Failure Records from the ECM and TCM.
       • Using the Clear Info function erases stored DTCs in both the ECM and TCM.

  4. Record the Failure Records.
  5. Clear the DTCs.
  6. Select Trans. Fluid Temp. on the scan tool.

Does the scan tool display transmission fluid temperature equal to or greater than the specified value?

150°C (302°F)

Go to Step 3

Go to Testing for Intermittent Conditions and Poor Connections

3

  1. Turn OFF the ignition.
  2. Disconnect the transmission 20-way harness connector. Additional DTCs may set.
  3. Turn ON the ignition, with the engine OFF.

Does the scan tool display transmission fluid temperature equal to the specified value?

-40°C (-40°F)

Go to Step 5

Go to Step 4

4

Test the TFT signal circuit from the transmission 20-way harness to the TCM for a short to ground. Refer to Testing for Short to Ground and Wiring Repairs .

Did you find and correct the condition?

--

Go to Step 7

Go to Step 6

5

Replace the automatic transmission internal wiring harness assembly. Refer to Transmission Internal Electrical Harness Replacement .

Is the action complete?

--

Go to Step 7

--

6

Replace the TCM.

Refer to Control Module References for replacement, setup and programming.

Is the action complete?

--

Go to Step 7

--

7

Perform the following procedure in order to verify the repair:

  1. Select DTC.
  2. Select Clear Info.
  3. Operate the vehicle under the following conditions:
  4. • Turn ON the ignition, with the engine OFF.
    • The Trans. Fluid Temp. must be 150°C (302°F) or less for 2 seconds.
  5. Select Specific DTC.
  6. Enter DTC P0712.

Has the test run and passed?

150°C (302°F)

Go to Step 8

Go to Step 2

8

With the scan tool, observe the stored information, capture info and DTC info.

Does the scan tool display any DTCs that you have not diagnosed?

--

Go to Diagnostic Trouble Code (DTC) List - Vehicle

System OK