GM Service Manual Online
For 1990-2009 cars only

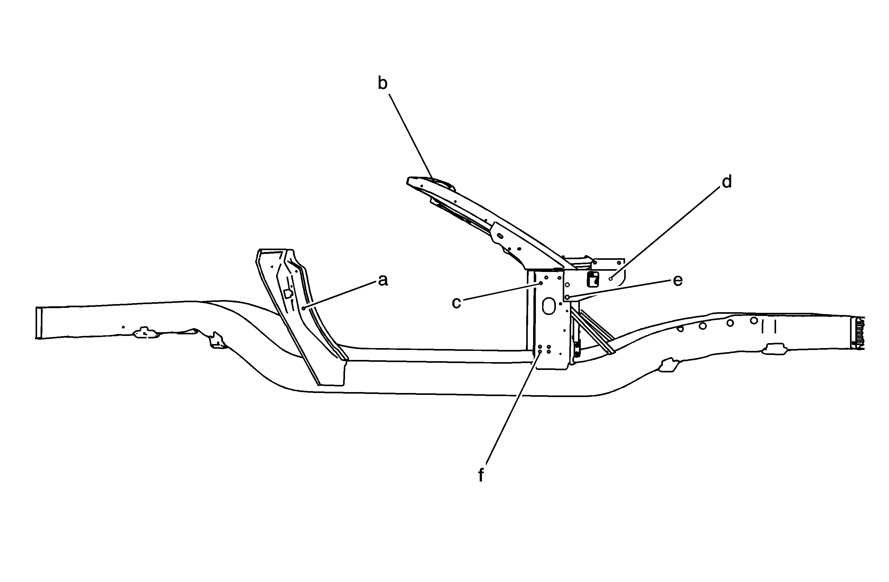
Side


Object Number: 1247094  Size: MF

Side

Reference Number

Length (mm)

Width (mm)

Height (mm)

Description

a

1203

735

736

12 mm Hole

b

628

43

1408

15 mm Hole

c

62

770

864

12 mm Hole

d

264

775

894

14 mm Hole

e

61

777

805

18 mm Hole

f

22

778

547

12 mm Hole

All dimensions are measured from a zero line, a center line, and a common daturn. All dimensions are symmetrical unless otherwise specified.

Top Front


Object Number: 1247269  Size: SF

Top Front

Reference Number

Length (mm)

Width (mm)

Height (mm)

Description

a

45

751

1000

10 mm Hole

b

272

737

986

30 mm Hole

All dimensions are measured from a zero line, a center line, and a common daturn. All dimensions are symmetrical unless otherwise specified.

Top Rear


Object Number: 1247278  Size: SH

Top Rear

Reference Number

Length (mm)

Width (mm)

Height (mm)

Description

a

1658

738

1092

8 mm Hole

b

2143

723

1095

6 mm Hole

c

1740

35

818

8 mm Hole

All dimensions are measured from a zero line, a center line, and a common daturn. All dimensions are symmetrical unless otherwise specified.