GM Service Manual Online
For 1990-2009 cars only
Figure 1:

Forward Lamp Harness Routing


Object Number: 1858133  Size: LF
(1)Front Fascia
(2)X120
(3)G102
(4)JX102
(5)Supercharger Coolant Pump Relay (LC3)
(6)X102
(7)Headlamp Module
(8)Battery Tray
(9)X186
(10)X101
(11)X168
(12)X131
(13)JX101
(14)G101
(15)X119
Figure 2:

Headlamp Splices


Object Number: 1863947  Size: LF
(1)Headlamp Assembly-Left
(2)X119
(3)X120
(4)Headlamp Assembly-Right
Figure 3:

G104


Object Number: 1858144  Size: LF
(1)Headlamp Assembly - Right Hand
(2)G104
(3)Battery Tray
Figure 4:

X159, X160


Object Number: 1858087  Size: LF
(1)Engine Harness
(2)X160
(3)Engine Crossmember
(4)X159
Figure 5:

Top of the Engine


Object Number: 1276512  Size: LF
(1)Camshaft Position (CMP) Actuator Solenoid Bank 1 Exhaust
(2)Camshaft Position (CMP) Sensor Bank 1 Exhaust
(3)Camshaft Position (CMP) Sensor Bank 1 Intake
(4)Camshaft Position (CMP) Actuator Solenoid Bank 1 Intake
(5)Manifold Absolute Pressure (MAP) Sensor
(6)X140
(7)Ignition Coil/Module 1
(8)Fuel Injector 1
(9)Ignition Coil/Module 3
(10)Fuel Injector 3
(11)Ignition Coil/Module 5
(12)Fuel Injector 5
(13)Ignition Coil/Module 7
(14)Fuel Injector 7
(15)Fuel Injector 6
(16)Starter
(17)X148
(18)Fuel Injector 8
(19)X139
(20)Ignition Coil/Module 8
(21)Ignition Coil/Module 6
(22)Ignition Coil/Module 4
(23)Fuel Injector 4
(24)Ignition Coil/Module 2
(25)Fuel Injector 2
(26)Camshaft Position (CMP) Actuator Solenoid Bank 2 Exhaust
(27)Camshaft Position (CMP) Sensor Bank 2 Exhaust
(28)Camshaft Position (CMP) Sensor Bank 2 Intake
(29)Camshaft Position (CMP) Actuator Solenoid Bank 2 Intake
(30)Evaporative Emission (EVAP) Canister Purge Valve
(31)Throttle Body Assembly
Figure 6:

Ignition Coil Harness Splices (LC3 Shown LH2 Similar)


Object Number: 1859217  Size: LF
(1)X139
(2)J131
(3)J133
(4)J135
(5)X140
(6)J142
(7)J144
(8)J146
Figure 7:

Engine Harness Routing 1 of 2


Object Number: 1689363  Size: LF
(1)G106
(2)Fuse Block - Underhood
(3)J105
(4)X186 Engine Harness to Forward Lamp Harness
(5)X180 Engine Harness to I/P Harness
(6)X184 Engine Harness to Transmission Harness
(7)X182 Engine Harness to I/P Harness
(8)Engine Control Module (ECM) Connectors
(9)JX106
(10)X148 Engine Harness to Knock Sensor (KS)/Crankshaft Position (CKP) Sensor Jumper Harness
(11)X188 Engine Harness to Starter Solenoid Jumper Harness
Figure 8:

Engine Harness Routing 2 of 2


Object Number: 1689364  Size: LF
(1)J238
(2)J244
(3)J195
(4)G107
(5)J193
(6)J191
(7)G105
Figure 9:

Engine Grounds


Object Number: 1858264  Size: LF
(1)Engine Assembly
(2)G107
(3)G112 (LC3)
(4)G111 (LC3)
(5)G110 (LC3)
(6)G109 (LC3)
Figure 10:

Instrument Panel Body Harness Splices


Object Number: 1859207  Size: LF
(1)J238
(2)J236
(3)J234
(4)J211
(5)J237
(6)J231
(7)J240
(8)J244
(9)J251
(10)J242
(11)J255
(12)J232
(13)J248
(14)J228
(15)J230
(16)J222
(17)J224
(18)J226
(19)J227
(20)J275
Figure 11:

Instrument Panel Harness - Engine Compartment and Lower Right Side of Instrument Panel


Object Number: 1442131  Size: LF
(1)Fuse Block Underhood X3
(2)Fuse Block Underhood X4
(3)X186
(4)X180
(5)X182
(6)Engine Compartment Pass-Through
(7)Body Control Module (BCM) X2
(8)Footwell Courtesy Lamp - Right
(9)HVAC Blower Control
(10)Body Control Module (BCM) X1
(11)Relay Block - Instrument Panel
(12)Fuse Block - Instrument Panel
(13)Body Control Module (BCM) X4
(14)JX208
(15)Audio Amplifier X2
(16)Audio Amplifier X1
(17)G104
Figure 12:

Steering Wheel


Object Number: 1863944  Size: LF
(1)Inflatable Restraint Steering Wheel Module Coil - X5
(2)J293
(3)Steering Wheel Controls - Right
(4)Horn Switch Contacts
(5)Steering Wheel Controls - Left
Figure 13:

JX201, JX202, JX205, JX208


Object Number: 1858353  Size: LF
(1)JX201
(2)JX205
(3)I/P Upper Trim Pad
(4)I/P Compartment Door
(5)JX208
(6)JX202
Figure 14:

Instrument Panel Harness


Object Number: 1361208  Size: LF
(1)DLC Connector
(2)X231
(3)X311
(4)Fuse Block - Underhood X3
(5)Fuse Block - Underhood X4
(6)X220
(7)Auxiliary Power Relay
(8)JX208
(9)X180
(10)X600
(11)X602
(12)JX202
(13)G202
(14)X380
(15)X382
(16)JX302
(17)G302
(18)X482
(19)X480
(20)X455
(21)X437
(22)X433
(23)X435
(24)JX301
(25)G301
(26)X377
(27)X375
(28)X379
(29)JX201
(30)G201
(31)X501
(32)X503
Figure 15:

Instrument Panel Body Harness Splices - Passenger Compartment


Object Number: 1859203  Size: LF
(1)J310
(2)J312
(3)J208
(4)J310
(5)J353
(6)J422
(7)Rear Fascia
(8)J415
(9)J355
(10)J375
(11)J276 (Except Export)
(12)J246
(13)Instrument Panel
Figure 16:

Folding Top Harness - Splices


Object Number: 1859200  Size: LF
(1)J319
(2)J337
(3)J339
(4)J335
(5)J333
(6)J331
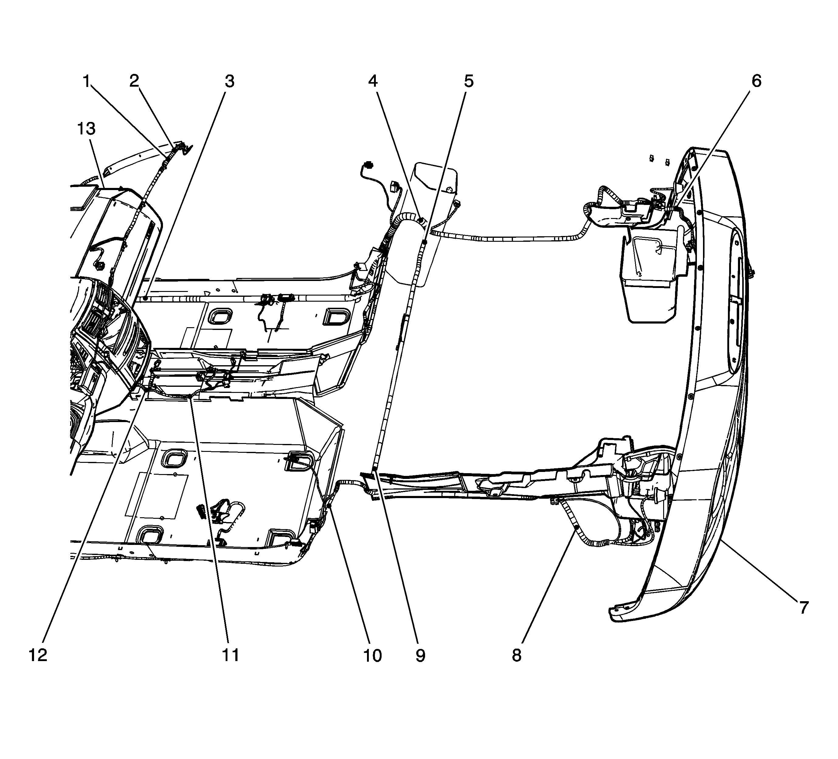
Figure 17:

Driver Door Harness Routing


Object Number: 1858118  Size: LF
(1)X555
(2)Outside Rearview Mirror
(3)Outside Rearview Mirror Connectors
(4)J539
(5)X501
(6)X503
(7)J579
(8)J559
(9)Window Motor
(10)Door Latch Assembly
Figure 18:

Passenger Door Harness Routing


Object Number: 1858117  Size: LF
(1)Outside Rearview Mirror
(2)Window Motor
(3)Door Latch Assembly
(4)J660
(5)J680
(6)X666
(7)X600
(8)X607
(9)X911
(10)Outside Rearview Mirror Connectors
Figure 19:

Fuel Tank


Object Number: 1863937  Size: LF
(1)Fuel Pump and Sender Assembly
(2)Evaporative Emission (EVAP) Canister Vent Solenoid
(3)Fuel Tank Pressure (FTP) Sensor
(4)Fuel Level Sensor - Right
(5)X460
(6)X420
(7)Fuel Tank-Right
(8)J460
(9)Fuel Tank-Left
(10)X459
Figure 20:

Transmission Harness


Object Number: 1858066  Size: LF
(1)J420
(2)X420
(3)X400
(4)X440
(5)G402
(6)X439
(7)G401
Figure 21:

Decklid Harness Routing


Object Number: 1858160  Size: LF
(1)Folding Top
(2)X960
(3)J939
(4)X935
(5)X455
(6)X911
(7)J935
(8)J931
Figure 22:

Folding Top Harness


Object Number: 1858080  Size: LF
(1)X333
(2)Intrusion Sensor
(3)Folding Top
(4)X431
(5)X435
(6)Folding Top Pump/Motor Assembly
(7)X911
(8)X455
(9)X433
(10)Folding Top Control Module
Figure 23:

Rear Fascia Harness Splices


Object Number: 1859212  Size: LF
(1)Rear Object Sensor Harness
(2)J480
(3)J479
(4)Rear Fascia
Figure 24:

Rear Fascia - Export


Object Number: 1863883  Size: LF
(1)Fog Lamp - Right Rear
(2)Backup Lamp - Right
(3)X960
(4)J960
(5)J962
(6)Backup Lamp - Left
(7)Fog Lamp - Left Rear
(8)Rear Fascia