GM Service Manual Online
For 1990-2009 cars only
Figure 1:

Engine Covers and Component Assemblies (1 of 3)


Object Number: 1644648  Size: LF
(5)Engine Long Block Assembly
(525)Rear Intake Air Duct Seal - Boot
(526)Rear Intake Air Duct Seal - Clamp
(590)Fuel Injector Sight Shield Cover
(595)Fuel Injector Sight Shield Cover Ball Stud Socket Grommet
(596)Fuel Injector Sight Shield Cover Emblem - Crest
(597)Fuel Injector Sight Shield Cover Oil Fill Tube Grommet
(598)Fuel Injector Sight Shield Cover Emblem - V Series
(850)Rear Intake Air Duct
(851)Front Intake Air Duct Seal - Boot
(852)Front Intake Air Duct Seal - Small Clamp
(853)Front Intake Air Duct Seal - Large Clamp
(854)Front Intake Air Duct
(855)Supercharger Inlet Air Duct Ballstud Nut
Figure 2:

Engine Covers and Component Assemblies (2 of 3)


Object Number: 1644649  Size: LF
(5)Engine Long Block Assembly
(9)Left Camshaft Cover Assembly
(10)Right Camshaft Cover Assembly
(11)Oil Pump Assembly
(12)Engine Front Cover Assembly
(13)Oil Pan Assembly
(18)Water Outlet Assembly
(20)Right Camshaft Position Actuator Housing Assembly
(21)Left Camshaft Position Actuator Housing Assembly
(281)PCV Fresh Air Tube
(283)PCV Dirty Air Tube
(351)Engine Front Cover Gasket
(352)Engine Front Cover Bolt
(382)Water Outlet Bolt
(390)Crankshaft Balancer
(391)Crankshaft Balancer Bolt
(401)Oil Pan Gasket
(420)Oil Pan Bolt - Short
(421)Oil Pan Bolt - Medium
(422)Oil Pan Bolt - Long
(423)Oil Pan Stud
(475)Oil Pump Bolt
(520)Supercharger Gasket
(747)EVAP Tube
(760)Block Heater - 110 Volt
(800)Supercharger Assembly
(801)Supercharger Bolt
Figure 3:

Engine Covers and Component Assemblies (3 of 3)


Object Number: 1644651  Size: LF
(5)Engine Long Block Assembly
(14)Oil Filter Adapter Assembly
(16)Oil Level Indicator Assembly
(405)Oil Pump Suction Pipe
(406)Oil Pump Suction Pipe Gasket
(407)Oil Pump Suction Pipe Bolt
(408)Oil Pump Suction Pipe Nut
(441)Oil Filter Adapter Gasket
(442)Oil Filter Adapter Bolt
(449)Oil Filter
(480)Oil Pump Outlet Tube
(481)Oil Pump Outlet Tube O-ring
(482)Oil Pump Outlet Tube Bolt
(600)Left Exhaust Manifold and Converter
(601)Left Exhaust Manifold Gasket
(610)Left Exhaust Manifold Heat Shield
(611)Left Exhaust Manifold Heat Shield Bolt
(620)Right Exhaust Manifold and Converter
(621)Right Exhaust Manifold Gasket
(623)Cylinder Head Exhaust Manifold Nut
(624)Cylinder Head Exhaust Manifold Bolt
(630)Right Exhaust Manifold Heat Shield
(631)Right Exhaust Manifold Heat Shield Bolt
(720)Crankshaft Position Sensor
(721)Crankshaft Position Sensor O-ring
(722)Crankshaft Position Sensor Bolt
(723)Knock Sensor
(723)Knock Sensor
(724)Knock Sensor Bolt
(724)Knock Sensor Bolt
(790)Starter Motor
(791)Starter Motor Bolt
(792)Starter Motor Solenoid Cable Nut - Larger
(793)Starter Motor Solenoid Cable Nut - Small
(794)Battery Positive and Negative Starter Cable
(795)Bracket Bolt
(796)Crankshaft Position Sensor and Knock Sensor Wiring Harness
(797)Bracket
Figure 4:

Supercharger, Fuel Rail and Pressure Sensor Assemblies


Object Number: 1644653  Size: LF
(20)Supercharger Assembly
(520)Supercharger Gasket
(531)Fuel Injection Rail Stud
(531)Fuel Injection Rail Stud
(560)Sequential Multiport Fuel Injection Rail Assembly
(801)Supercharger Bolt
(816)MAP Manifold Absolute Pressure Sensor Vacuum Tube - MAP Vacuum Side
(817)MAP Manifold Absolute Pressure Sensor Vacuum Tube - BARO Pressure Side
(818)Manifold Absolute Pressure (MAP) Sensor
(819)Barometric Pressure (BARO) Sensor
(820)Supercharger Inlet Absolute Pressure Sensor
(821)Barometric Pressure and Manifold Absolute Pressure Sensor Bracket
(855)Supercharger Inlet Air Duct Ballstud Nut
(855)Supercharger Inlet Air Duct Ballstud Nut
Figure 5:

Fuel Rail Assembly Components


Object Number: 1644655  Size: MF
(560)Sequential Multiport Fuel Injection Rail
(561)Multiport Fuel Injector
(562)Multiport Fuel Injector Retaining Clip
(563)Multiport Fuel Injector Upper O-ring
(564)Multiport Fuel Injector Lower O-ring
(565)Sequential Multiport Fuel Injection Rail Valve Service Port Valve Cap
(566)Sequential Multiport Fuel Injection Rail Valve Service Port Valve Core
Figure 6:

Supercharger Assembly and Charge Air Bypass Components


Object Number: 1644657  Size: LF
(20)Supercharger Assembly
(764)Manifold Air Temperature (MAT) Sensor
(807)Supercharger Bypass Valve Cable
(808)Supercharger Bypass Valve Actuator
(809)Supercharger Component Bolt
(809)Supercharger Component Bolt
(809)Supercharger Component Bolt
(809)Supercharger Component Bolt
(810)Supercharger Bypass Valve Actuator Hose - Vacuum Source to Actuator
(811)Supercharger Bypass Valve Actuator Hose - Actuator to Regulator
(812)Supercharger Bypass Valve Actuator Hose - Pressure to Regulator
(813)Charge Air Bypass Regulator Solenoid Valve Bracket
(814)Charge Air Bypass Regulator Solenoid Valve
(815)Fuel Injection Fuel Rail Crossover Tube Clip
(842)Charge Air Cooler Front Manifold
(843)Supercharger Water Manifold Gasket
(845)Charge Air Cooler Front Manifold Bolt
(846)Supercharger Coolant Hole Plug
Figure 7:

Supercharger, Charge Air Cooler Assembly, Throttle Body and EVAP Solenoid Valve


Object Number: 1644627  Size: LF
(701)Throttle Body
(702)Throttle Body Bolt
(703)Throttle Body Gasket
(744)EVAP Emission Canister Purge Solenoid Valve
(745)EVAP Emission Canister Purge Solenoid Valve O-ring
(800)Supercharger
(809)Supercharger Component Bolt
(828)Charge Air Cooler Housing Gasket - Perimeter
(829)Charge Air Cooler Housing Gasket - Mounting Bolt
(830)Charge Air Cooler Housing
(838)Charge Air Cooler Bolt - Short
(839)Charge Air Cooler Bolt - Long
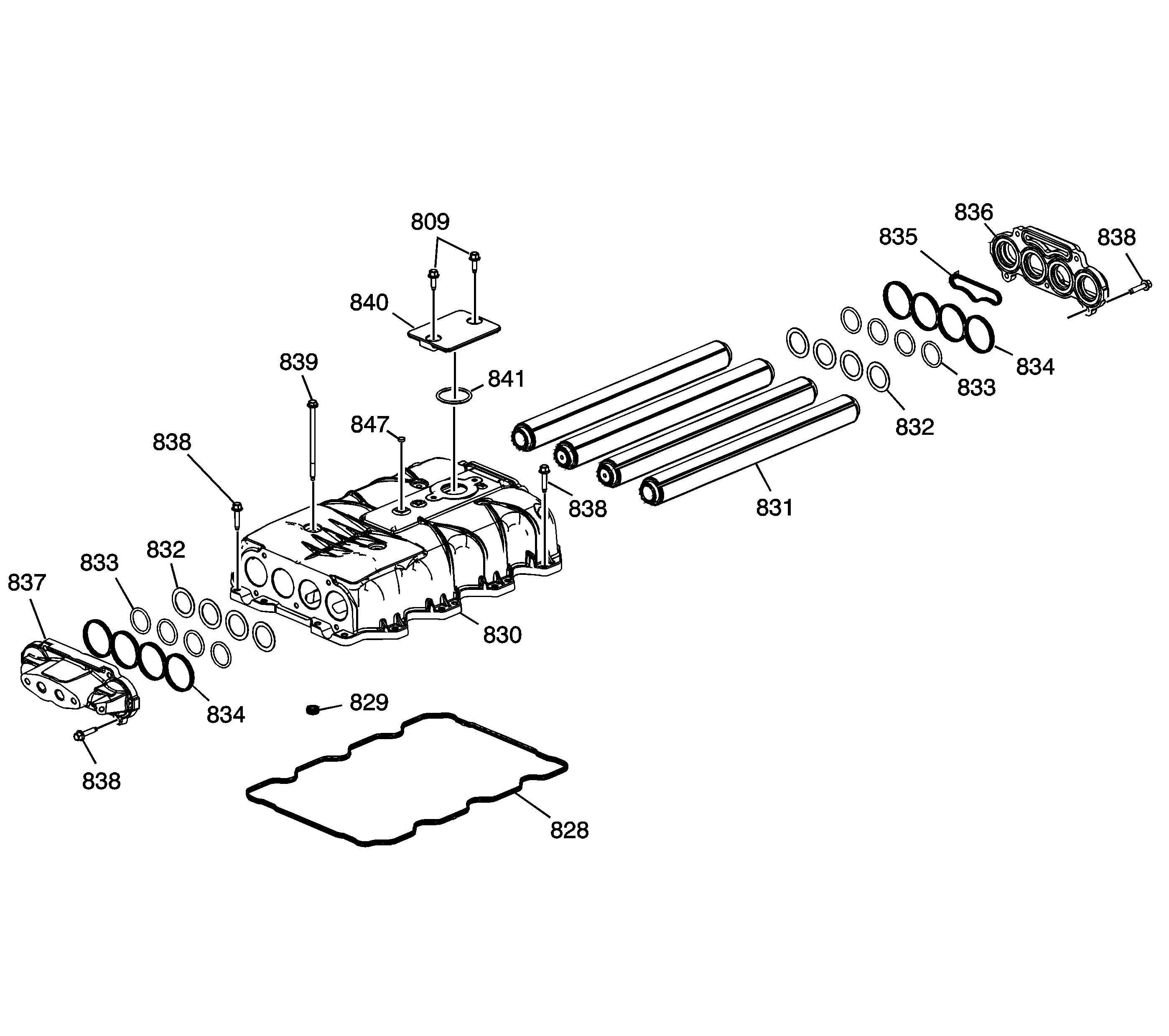
Figure 8:

Charge Air Cooler Assembly Components


Object Number: 1644628  Size: LF
(809)Supercharger Component Bolt
(828)Charge Air Cooler Housing Gasket - Perimeter
(829)Charge Air Cooler Housing Gasket - Mounting Bolt
(830)Charge Air Cooler Housing
(831)Charge Air Cooler Cooling Tube
(832)Charge Air Cooler Insulator Spacer
(832)Charge Air Cooler Insulator Spacer
(833)Charge Air Cooler Cooling Tube Seal
(833)Charge Air Cooler Cooling Tube Seal
(834)Supercharger Water Manifold Gasket
(834)Supercharger Water Manifold Gasket
(835)Charge Air Cooler Cooling Return Pipe Seal
(836)Charge Air Cooler Cooling Rear Manifold
(837)Charge Air Cooler Front Manifold
(838)Charge Air Cooler Bolt - Short
(838)Charge Air Cooler Bolt - Short
(838)Charge Air Cooler Bolt - Short
(838)Charge Air Cooler Bolt - Short
(839)Charge Air Cooler Bolt - Long
(840)Charge Air Cooler Cooling Fill Cap
(841)Charge Air Cooler Cooling Fill Cap Seal
(847)Charge Air Cooler Housing Expansion Plug
Figure 9:

Camshaft Cover Assembly Components


Object Number: 1644629  Size: MF
(250)Left Camshaft Cover
(251)Left Camshaft Cover Gasket
(252)Right Camshaft Cover
(253)Right Camshaft Cover Gasket
(254)Camshaft Cover Spark Plug Port Seal
(254)Camshaft Cover Spark Plug Port Seal
(255)Camshaft Cover Bolt
(256)Camshaft Cover Bolt Insulator
(258)Oil Fill Cap
(259)Oil Fill Cap O-ring
(259)Oil Fill Cap O-ring
(260)Left Camshaft Cover PCV Fitting
(261)Right Camshaft Cover PCV Fitting Orifice
(262)Oil Fill Tube
(704)Ignition Coil
(704)Ignition Coil
(705)Ignition Coil Bolt
(705)Ignition Coil Bolt
(706)Ignition Coil Seal
(706)Ignition Coil Seal
(707)Ignition Coil Assembly Wiring Harness
(707)Ignition Coil Assembly Wiring Harness
(708)Ignition Coil Assembly Bolt
(708)Ignition Coil Assembly Bolt
(709)Ignition Coil Assembly Ball Stud
(709)Ignition Coil Assembly Ball Stud
(710)Ignition Coil Assembly Bracket
(710)Ignition Coil Assembly Bracket
(719)Spark Plug
(770)Camshaft Cover to Cylinder Head Ground Strap
(770)Camshaft Cover to Cylinder Head Ground Strap
(771)Ground Strap to Camshaft Cover Bolt
(771)Ground Strap to Camshaft Cover Bolt
(772)Ground Strap to Cylinder Head Bolt
(772)Ground Strap to Cylinder Head Bolt
Figure 10:

Engine Front Cover Assembly Components, Crankshaft Balancer and Water Crossover


Object Number: 1644660  Size: LF
(350)Engine Front Cover
(351)Engine Front Cover Gasket
(352)Engine Front Cover Bolt
(353)Engine Front Cover Seal
(356)Engine Front Cover Fitting
(360)Water Pump Assembly
(361)Water Pump Bolt
(362)Water Pump Gasket
(363)Water Pump Pulley
(364)Water Pump Pulley Bolt
(365)Engine Cooling Thermostat
(366)Engine Cooling Thermostat Gasket
(367)Engine Cooling Thermostat Housing
(368)Engine Cooling Thermostat Housing Bolt
(380)Water Outlet
(381)Water Outlet Gasket
(382)Water Outlet Bolt
(384)Water Bypass Hose
(385)Water Bypass Hose Clamp
(390)Crankshaft Balancer
(391)Crankshaft Balancer Bolt
(489)Crankshaft Balancer Washer - Oil Pump Drive to Crankshaft Balancer
Figure 11:

Oil Pump Assembly Components


Object Number: 1644631  Size: MF
(463)Oil Pump Housing
(464)Oil Pump Cover
(465)Oil Pump Driven Gear
(466)Oil Pump Drive Gear
(467)Oil Pump Driven Gear Spacer
(468)Oil Pump Cover Bolt
(469)Oil Pump Cover Locating Pin
(470)Oil Pump Pressure Relief Valve Bore Plug
(471)Oil Pump Pressure Relief Valve Spring
(472)Oil Pressure Relief Valve
Figure 12:

Camshaft Timing Components


Object Number: 1644633  Size: LF
(150)Crankshaft Sprocket
(152)Primary Timing Chain Tensioner
(153) Timing Chain Tensioner Bolt
(153) Timing Chain Tensioner Bolt
(153) Timing Chain Tensioner Bolt
(155)Primary Timing Chain
(158)Primary Timing Chain Guide
(159)Timing Chain Guide and Shoe Bolt
(159)Timing Chain Guide and Shoe Bolt
(159)Timing Chain Guide and Shoe Bolt
(159)Timing Chain Guide and Shoe Bolt
(159)Timing Chain Guide and Shoe Bolt
(160)Camshaft Intermediate Drive Shaft Sprocket
(161)Camshaft Intermediate Drive Shaft Sprocket Bolt
(162)Camshaft Intermediate Drive Shaft
(163)Camshaft Intermediate Drive Shaft Bolt
(170)Secondary Timing Chain
(170)Secondary Timing Chain
(171)Secondary Timing Chain Guide
(171)Secondary Timing Chain Guide
(173)Left Secondary Timing Chain Shoe
(175)Left Secondary Timing Chain Tensioner
(183)Right Secondary Timing Chain Shoe
(185)Right Secondary Timing Chain Tensioner
(189)Camshaft Position Actuator Oil Control Valve
(189)Camshaft Position Actuator Oil Control Valve
(190)Left Exhaust Camshaft Position Actuator
(191)Left Intake Camshaft Position Actuator
(193)Right Exhaust Camshaft Position Actuator
(194)Right Intake Camshaft Position Actuator
(487)Crankshaft Balancer Washer - Crankshaft to Crankshaft Sprocket
(488)Crankshaft Balancer Washer - Crankshaft Sprocket to Oil Pump Drive
Figure 13:

Cylinder Head Assembly Components


Object Number: 1644636  Size: MF
(300)Left Cylinder Head
(301)Right Cylinder Head
(302)Left Cylinder Head Gasket
(303)Right Cylinder Head Gasket
(310)Cylinder Head Bolt - M11
(311)Cylinder Head Front Bolt - M6
(312)Cylinder Head Coolant Hole Expansion Plug
(313)Cylinder Head Coolant Hole Plug
(314)Cylinder Head Coolant Hole Plug Seal Ring
(315)Cylinder Head Oil Gallery Plug
(315)Cylinder Head Oil Gallery Plug
(316)Cylinder Head Oil Gallery Plug Ring
(316)Cylinder Head Oil Gallery Plug Ring
(317)Engine Oil Gallery Restrictor
(317)Engine Oil Gallery Restrictor
(320)Exhaust Valve
(321)Intake Valve
(322)Valve Rocker Arm Assembly
(323)Hydraulic Valve Lash Adjuster Assembly
(324)Valve Stem Oil Seal
(325)Valve Spring
(326)Valve Spring Cap
(327)Valve Stem Key
(330)Left Exhaust Camshaft
(331)Left Intake Camshaft
(332)Right Intake Camshaft
(333)Right Exhaust Camshaft
(334)Cylinder Head Front Camshaft Cap
(335)Cylinder Head Front Camshaft Cap
(336)Cylinder Head Camshaft Cap
(337)Cylinder Head Camshaft Cap Bolt
(337)Cylinder Head Camshaft Cap Bolt
(337)Cylinder Head Camshaft Cap Bolt
(338)Camshaft Sprocket Locating Pin
(340)Left Camshaft Position Actuator Housing
(341)Right Camshaft Position Actuator Housing
(342)Left Camshaft Position Actuator Housing Gasket
(343)Right Camshaft Position Actuator Housing Gasket
(344)Camshaft Position Actuator Housing Pin
(345)Camshaft Position Actuator Housing Stud - Short
(345)Camshaft Position Actuator Housing Stud - Short
(346)Camshaft Position Actuator Housing Stud - Long
(346)Camshaft Position Actuator Housing Stud - Long
(347)Camshaft Position Actuator Housing Bolt
(594)Fuel Injector Sight Shield Cover Ball Stud
(625)Cylinder Head Exhaust Manifold Stud
(711)Engine Coolant Temperature Sensor
(725)Camshaft Position Sensor
(726)Camshaft Position Sensor O-ring
(727)Camshaft Position Sensor Bolt
(735)Camshaft Position Actuator Magnet
(736)Camshaft Position Actuator Magnet Bolt
(737)Camshaft Position Actuator Magnet Plug
(738)Camshaft Position Actuator Magnet Plug O-ring
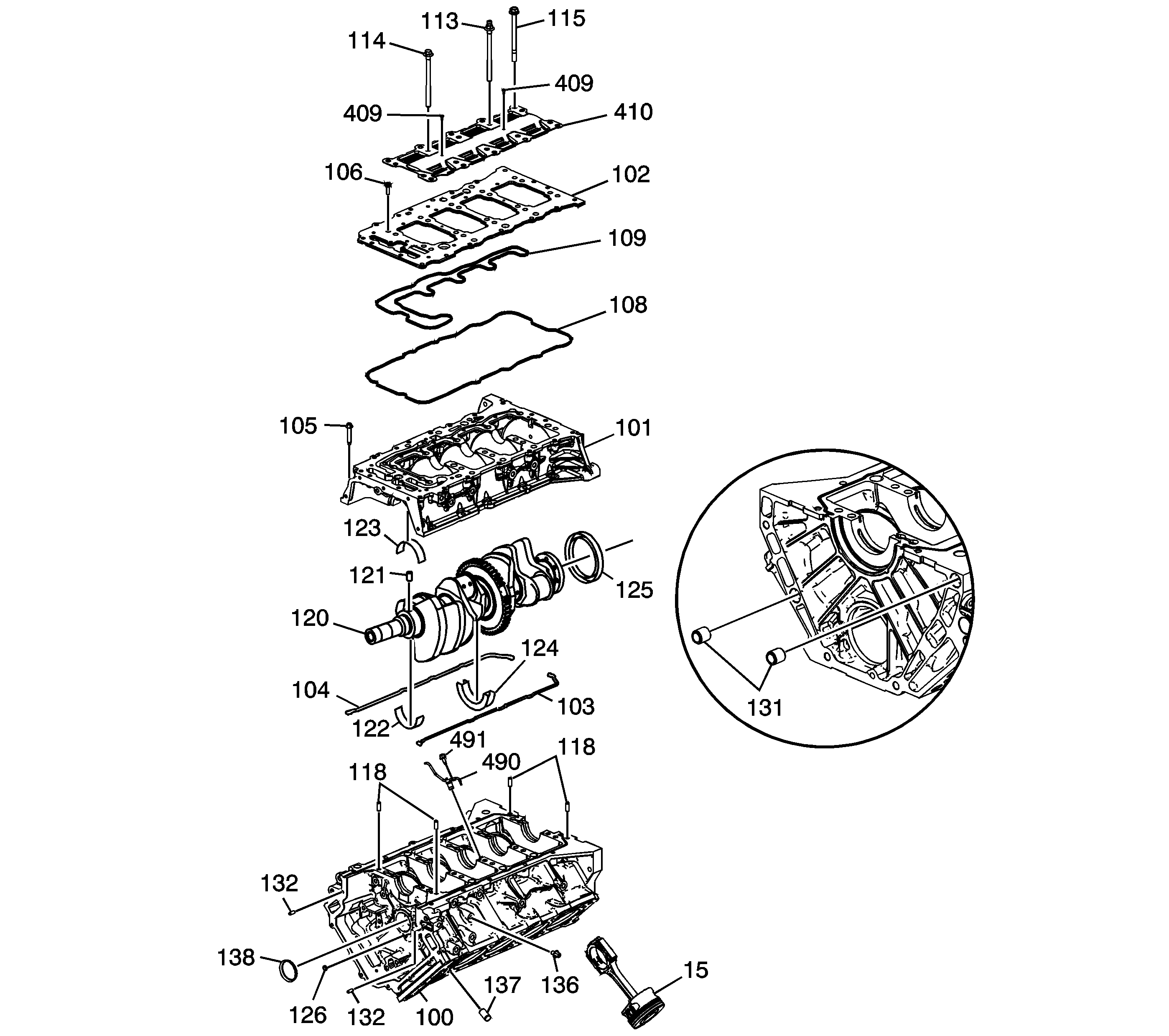
Figure 14:

Engine Block Assembly Components


Object Number: 1644662  Size: LF
(15)Piston and Connecting Rod Assembly
(100)Engine Block
(101)Lower Crankcase
(102)Engine Oil Distribution Plate
(103)Right Lower Crankcase Seal
(104)Left Lower Crankcase Seal
(105)Lower Crankcase Bolt
(106)Engine Oil Distribution Plate Bolt
(108)Engine Oil Distribution Plate Outer Seal
(109)Engine Oil Distribution Plate Inner Seal
(113)Lower Crankcase Main Stud
(114)Lower Crankcase Inner Main Bolt
(115)Lower Crankcase Outer Main Bolt
(118)Lower Crankcase Locating Pin
(118)Lower Crankcase Locating Pin
(120)Crankshaft
(121)Crankshaft Sprocket Locating Pin
(122)Crankshaft Upper Bearing
(123)Crankshaft Lower Bearing
(124)Crankshaft Upper Thrust Bearing #3
(125)Piston, Rings and Connecting Rod Assembly
(126)Engine Block Oil Gallery Expansion Plug
(131)Transaxle Locating Pin
(132)Engine Front Cover Locating Pin
(132)Engine Front Cover Locating Pin
(136)Engine Block Coolant Drain Plug
(137)Cylinder Head Locating Pin
(138)Camshaft Intermediate Drive Shaft Plug
(409)Oil Pan Baffle Stud
(409)Oil Pan Baffle Stud
(410)Oil Pan Baffle Scraper
(490)Piston Oil Nozzle
(491)Piston Oil Nozzle Bolt
Figure 15:

Piston, Rings, Bearing and Connecting Rod


Object Number: 874403  Size: LF
(200)Connecting Rod
(201)Connecting Rod Bolt
(202)Connecting Rod Bushing
(203)Connecting Rod Bearing
(210)Piston
(211)Piston Pin
(212)Piston Pin Retainer
(212)Piston Pin Retainer
(213)Piston Upper Compression Ring
(214)Piston Lower Compression Ring
(215)Piston Oil Control Rail Ring
(216)Piston Oil Control Ring Spacer
(217)Lower Oil Control Ring
Figure 16:

Oil Pan Assembly Components


Object Number: 906792  Size: LF
(400)Oil Pan
(401)Oil Pan Gasket
(402)Oil Pan Gasket Rivet
(402)Oil Pan Gasket Rivet
(403)Oil Pan Baffle
(404)Oil Pan Baffle Bolt
(412)Oil Pan Drain Plug
(413)Oil Pan Drain Plug O-ring
(420)Oil Pan Bolt - Short
(421)Oil Pan Bolt - Medium
(422)Oil Pan Bolt - Long
(423)Oil Pan Stud
(712)Engine Oil Level Sensor
(713)Engine Oil Level Sensor O-ring
Figure 17:

Oil Filter Adapter Assembly Components


Object Number: 1644665  Size: SH
(441)Oil Filter Adapter Gasket
(442)Oil Filter Adapter Bolt
(444)Oil Filter Adapter with Oil Cooler
(445)Oil Filter Fitting
(449)Oil Filter
(453)Oil Cooler Bypass Valve Hole Plug O-ring
(454)Oil Cooler Bypass Valve Hole Plug
(455)Oil Filter Adapter Oil Cooler Pipe Fitting
(728)Engine Oil Pressure Sensor
(729)Engine Oil Pressure Sensor O-ring