GM Service Manual Online
For 1990-2009 cars only

    Object Number: 947688  Size: SH
  1. Place a NEW oil pan gasket in place on the oil manifold plate.

  2. Object Number: 928632  Size: SH
  3. Position the oil pan onto the lower crankcase.

  4. Object Number: 1254548  Size: SH
  5. The oil pan must be held flush to 0.50 mm (0.020 in) forward of the rear face of the engine block (1).

  6. Object Number: 1576833  Size: SH
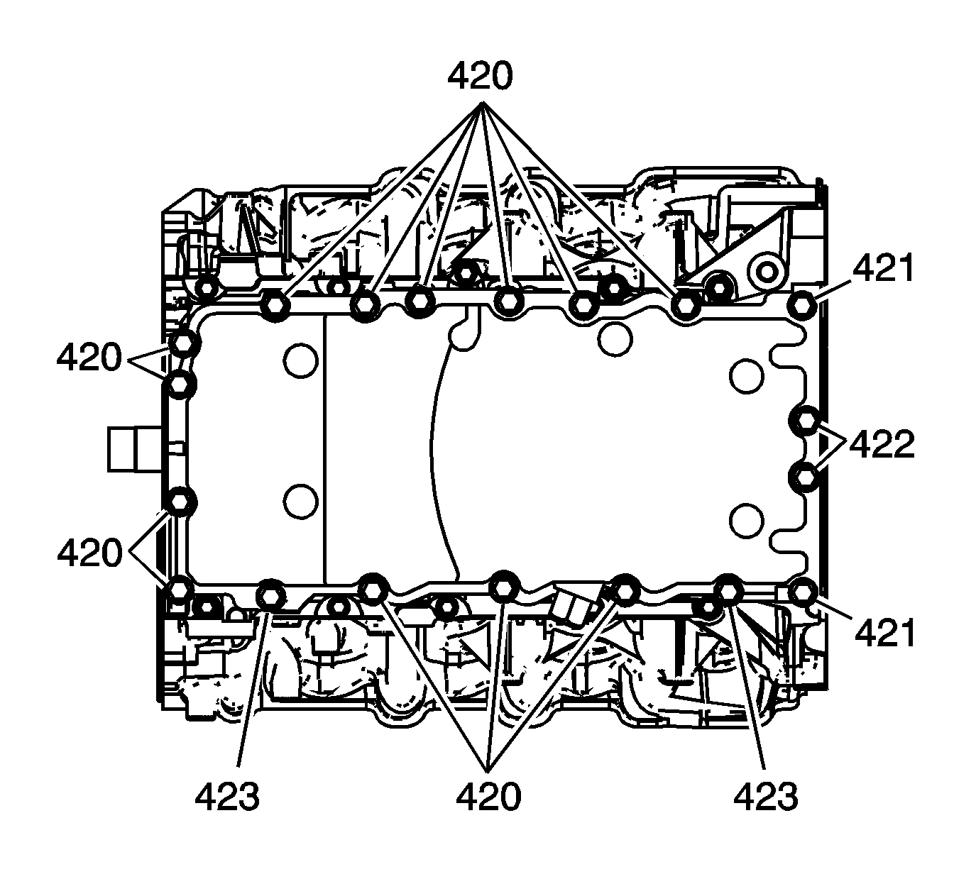
  7. Place oil pan fasteners in location as shown:
  8. • short length bolt (420)
    • medium length bolt (421)
    • long length bolt (422)
    • short length stud (423)

    Notice: Refer to Fastener Notice in the Preface section.


    Object Number: 928633  Size: SH
  9. Install the oil pan bolts in the sequence shown.
  10. 5.1. First Pass

    Tighten
    Tighten the oil pan bolts to 15 N·m (11 lb ft ) in the sequence shown.

    5.2. Final Pass

    Tighten
    Tighten the oil pan bolts to 25 N·m (18 lb ft ) in the sequence shown.

  11. Clean off any sealant that has protruded to the exterior of the engine.
  12. Install the oil drain plug.
  13. Tighten
    Tighten the oil drain plug to 25 N·m (18 lb ft).

  14. Rotate the engine so that the engine valley is facing upward.