GM Service Manual Online
For 1990-2009 cars only
Connector 1: A/C Compressor Clutch
Connector 2: A/C Refrigerant Pressure Sensor
Connector 3: Accelerator Pedal Position (APP) Sensor
Connector 4: Accessory Power Outlet
Connector 5: Air Temperature Actuator - Left
Connector 6: Air Temperature Actuator - Right
Connector 7: Air Temperature Sensor - Inside
Connector 8: Air Temperature Sensor - Lower Left
Connector 9: Air Temperature Sensor - Lower Right
Connector 10: Air Temperature Sensor - Upper Left
Connector 11: Air Temperature Sensor - Upper Right
Connector 12: Ambient Air Temperature Sensor
Connector 13: Audio Amplifier X1
Connector 14: Audio Amplifier X2
Connector 15: Audio Amplifier X3
Connector 16: Automatic Transmission Input Shaft Speed (ISS) Sensor
Connector 17: Automatic Transmission Internal Mode Switch (IMS)
Connector 18: Automatic Transmission Shift Lever
Connector 19: Auxiliary Power Relay
Connector 20: Backup Lamp - Left
Connector 21: Backup Lamp - Right
Connector 22: Barometric Pressure (BARO) Sensor (LC3)
Connector 23: Blower Motor Control Module
Connector 24: Body Control Module (BCM) X1
Connector 25: Body Control Module (BCM) X2
Connector 26: Body Control Module (BCM) X3
Connector 27: Body Control Module (BCM) X4
Connector 28: Brake Fluid Level Switch
Connector 29: Brake Fluid Pressure Sensor
Connector 30: Brake Pedal Position Sensor
Connector 31: Camshaft Position (CMP) Actuator Solenoid Valve - Bank 1 Exhaust
Connector 32: Camshaft Position (CMP) Actuator Solenoid Valve - Bank 1 Intake
Connector 33: Camshaft Position (CMP) Actuator Solenoid Valve - Bank 2 Exhaust
Connector 34: Camshaft Position (CMP) Actuator Solenoid Valve - Bank 2 Intake
Connector 35: Camshaft Position (CMP) Sensor Bank 1 Exhaust
Connector 36: Camshaft Position (CMP) Sensor Bank 1 Intake
Connector 37: Camshaft Position (CMP) Sensor Bank 2 Exhaust
Connector 38: Camshaft Position (CMP) Sensor Bank 2 Intake
Connector 39: Cellular Telephone Microphone
Connector 40: Center Console Compartment Lamp Switch
Connector 41: Center Console Flood Lamp
Connector 42: Center High Mounted Stop Lamp (CHMSL)
Connector 43: Charge Air Cooler (CAC) Coolant Pump (LC3)
Connector 44: Charge Air Cooler (CAC) Coolant Pump Relay (LC3)
Connector 45: Cigar Lighter
Connector 46: Crankshaft Position (CKP) Sensor
Connector 47: Cruise Control Forward Vehicle Distance Sensor (Adaptive Cruise)
Connector 48: Data Link Connector (DLC)
Connector 49: Digital Radio Receiver
Connector 50: Distance Sensing Cruise Control (DSCC) Module (Adaptive Cruise)
Connector 51: Door Courtesy Lamp - Driver
Connector 52: Door Courtesy Lamp - Passenger
Connector 53: Door Handle Switch - Driver Exterior
Connector 54: Door Handle Switch - Driver Interior
Connector 55: Door Handle Switch - Passenger Exterior
Connector 56: Door Handle Switch - Passenger Interior
Connector 57: Door Latch - Driver
Connector 58: Door Latch - Passenger
Connector 59: Door Lock Indicator - Driver
Connector 60: Door Lock Indicator - Passenger
Connector 61: Door Lock Switch - Driver
Connector 62: Door Lock Switch - Passenger
Connector 63: Driver Door Module (DDM)
Connector 64: Driver Information Center (DIC) Switch
Connector 65: Electronic Brake Control Module (EBCM)
Connector 66: Electronic Suspension Control (ESC) Module
Connector 67: Engine Control Module (ECM) - X1
Connector 68: Engine Control Module (ECM) - X2
Connector 69: Engine Control Module (ECM) - X3
Connector 70: Engine Coolant Level Switch
Connector 71: Engine Coolant Temperature (ECT) Sensor (LC3)
Connector 72: Engine Coolant Temperature (ECT) Sensor (LH2)
Connector 73: Engine Oil Level Switch (LH2)
Connector 74: Engine Oil Level and Temperature Sensor (LC3)
Connector 75: Engine Oil Pressure (EOP) Sensor
Connector 76: Evaporative Emission (EVAP) Canister Purge Solenoid Valve
Connector 77: Evaporative Emission (EVAP) Canister Vent Solenoid Valve
Connector 78: Exhaust Tail Pipe Flow Control Valve Solenoid (LC3)
Connector 79: Exhaust Tail Pipe Flow Valve Control Module X1 (LC3)
Connector 80: Exhaust Tail Pipe Flow Valve Control Module X2 (LC3)
Connector 81: Fan Control Module
Connector 82: Fog Lamp - Left Front
Connector 83: Fog Lamp - Left Rear (Europe)
Connector 84: Fog Lamp - Right Front
Connector 85: Fog Lamp - Right Rear (Europe)
Connector 86: Folding Top Control Module X1
Connector 87: Folding Top Control Module X2
Connector 88: Folding Top Control Module X3
Connector 89: Folding Top Control Switch
Connector 90: Folding Top Front Latch Position Switch - Latched
Connector 91: Folding Top Front Latch Position Switch - Unlatched
Connector 92: Folding Top Front Locating Pin Position Switch
Connector 93: Folding Top Position Sensor
Connector 94: Folding Top Stowage Compartment Front Panel Position Sensor
Connector 95: Folding Top Stowage Compartment Rear Panel Position Sensor
Connector 96: Front Passenger Door Module (FPDM)
Connector 97: Fuel Door Release Actuator
Connector 98: Fuel Door Release Switch
Connector 99: Fuel Injector 1
Connector 100: Fuel Injector 2
Connector 101: Fuel Injector 3
Connector 102: Fuel Injector 4
Connector 103: Fuel Injector 5
Connector 104: Fuel Injector 6
Connector 105: Fuel Injector 7
Connector 106: Fuel Injector 8
Connector 107: Fuel Level Sensor
Connector 108: Fuel Pump and Sender Assembly
Connector 109: Fuel Tank Pressure (FTP) Sensor
Connector 110: Garage Door Opener (GDO)
Connector 111: Generator
Connector 112: Hazard Switch
Connector 113: Head Up Display (HUD)
Connector 114: Headlamp Ballast - Left
Connector 115: Headlamp Ballast - Right
Connector 116: Headlamp - Left High Beam Solenoid
Connector 117: Headlamp Module (-T90)
Connector 118: Headlamp - Right High Beam Solenoid
Connector 119: Headlamp Washer Fluid Pump
Connector 120: Heated Oxygen Sensor (HO2S) - Bank 1 Sensor 1
Connector 121: Heated Oxygen Sensor (HO2S) - Bank 1 Sensor 2
Connector 122: Heated Oxygen Sensor (HO2S) - Bank 2 Sensor 1
Connector 123: Heated Oxygen Sensor (HO2S) - Bank 2 Sensor 2
Connector 124: Hood Ajar Switch (UA2)
Connector 125: Horn Assembly
Connector 126: HVAC Control Module X1
Connector 127: HVAC Control Module X2
Connector 128: HVAC Control Module X3
Connector 129: Ignition Coil 1
Connector 130: Ignition Coil 2
Connector 131: Ignition Coil 3
Connector 132: Ignition Coil 4
Connector 133: Ignition Coil 5
Connector 134: Ignition Coil 6
Connector 135: Ignition Coil 7
Connector 136: Ignition Coil 8
Connector 137: Ignition Mode Switch
Connector 138: Inflatable Restraint Front End Sensor - Left
Connector 139: Inflatable Restraint Front End Sensor - Right
Connector 140: Inflatable Restraint Front Passenger Presence System (PPS) Module
Connector 141: Inflatable Restraint Front Passenger Presence System (PPS) Sensor
Connector 142: Inflatable Restraint I/P Module, X1
Connector 143: Inflatable Restraint I/P Module, X2
Connector 144: Inflatable Restraint Seat Belt Tension Sensor - Passenger
Connector 145: Inflatable Restraint Seat Position Sensor - Driver
Connector 146: Inflatable Restraint Seat Position Sensor - Passenger
Connector 147: Inflatable Restraint Sensing and Diagnostic Module (SDM)
Connector 148: Inflatable Restraint Side Impact Module - Left
Connector 149: Inflatable Restraint Side Impact Module - Right
Connector 150: Inflatable Restraint Side Impact Sensor (SIS) - Left
Connector 151: Inflatable Restraint Side Impact Sensor (SIS) - Right
Connector 152: Inflatable Restraint Steering Wheel Module Coil X1
Connector 153: Inflatable Restraint Steering Wheel Module Coil X2
Connector 154: Inflatable Restraint Steering Wheel Module Coil X3
Connector 155: Inflatable Restraint Steering Wheel Module Coil X4
Connector 156: Inflatable Restraint Steering Wheel Module Coil X5
Connector 157: Inside Rearview Mirror
Connector 158: Instrument Panel Cluster (IPC) - X1
Connector 159: Instrument Panel Cluster (IPC) - X2
Connector 160: Instrument Panel Cluster (IPC) - X3
Connector 161: Intake Air Temperature (IAT) Sensor 2 (LC3)
Connector 162: Intake Air Temperature (IAT)/Mass Air Flow (MAF) Sensor
Connector 163: Intrusion Sensor (UA2)
Connector 164: Intrusion Sensor Defeat Switch (UA2)
Connector 165: I/P Compartment Lamp
Connector 166: I/P Courtesy Lamp - Left
Connector 167: I/P Courtesy Lamp - Right
Connector 168: I/P Dimmer/Head Up Display (HUD) Switch
Connector 169: Keyless Entry Antenna - Backup
Connector 170: Keyless Entry Antenna - Left
Connector 171: Keyless Entry Antenna - Rear Compartment
Connector 172: Keyless Entry Antenna - Right
Connector 173: Knock Sensor (KS) 1
Connector 174: Knock Sensor (KS) 2
Connector 175: License Lamp - Left
Connector 176: License Lamp - Right
Connector 177: Manifold Absolute Pressure (MAP) Sensor
Connector 178: Marker Lamp - Left Front
Connector 179: Marker Lamp - Right Front
Connector 180: Memory Seat Adjuster Switch - Driver
Connector 181: Memory Seat Module - Driver X1
Connector 182: Memory Seat Module - Driver X2
Connector 183: Memory Seat Module - Driver X3
Connector 184: Mode Actuator
Connector 185: Noise Compensation Microphone
Connector 186: Object Alarm Module
Connector 187: Object Alarm Sensor - Left Rear Corner
Connector 188: Object Alarm Sensor - Left Rear Middle
Connector 189: Object Alarm Sensor - Right Rear Corner
Connector 190: Object Alarm Sensor - Right Rear Middle
Connector 191: Outside Rearview Mirror - Driver X1
Connector 192: Outside Rearview Mirror - Driver X2
Connector 193: Outside Rearview Mirror - Passenger X1
Connector 194: Outside Rearview Mirror - Passenger X2
Connector 195: Park Brake Pedal Assembly
Connector 196: Park Lamp - Left Front
Connector 197: Park Lamp - Right Front
Connector 198: Position Lamp - Left (T90)
Connector 199: Position Lamp - Right (T90)
Connector 200: Radio X1
Connector 201: Radio X2
Connector 202: Radio X3 (Japan)
Connector 203: Radio Antenna Module - Left
Connector 204: Radio Antenna Module - Right, X1
Connector 205: Radio Antenna Module - Right, X2
Connector 206: Rear Compartment Courtesy Lamp - Left
Connector 207: Rear Compartment Courtesy Lamp - Right
Connector 208: Rear Compartment Lid Position Switch
Connector 209: Rear Compartment Lid Pull Down Actuator
Connector 210: Rear Compartment Lid Pulldown Switch
Connector 211: Rear Compartment Lid Release Switch - Exterior
Connector 212: Rear Compartment Lid Release Switch - Interior
Connector 213: Rear Compartment Partition Position Switch
Connector 214: Rear Parking Assist (RPA) Diagnostic Connector
Connector 215: Rear Parking Assist (RPA) Display
Connector 216: Rear Window Defogger Grid X1
Connector 217: Rear Window Defogger Grid X2
Connector 218: Recirculation Actuator
Connector 219: Remote CD Changer X1
Connector 220: Remote CD Changer X2
Connector 221: Remote Control Door Lock Receiver (RCDLR) X1
Connector 222: Remote Control Door Lock Receiver (RCDLR) X2
Connector 223: Repeater Lamp - Left Front (T90)
Connector 224: Repeater Lamp - Right Front (T90)
Connector 225: Seat Adjuster Motor Assembly - Driver X1
Connector 226: Seat Adjuster Motor Assembly - Driver X2
Connector 227: Seat Adjuster Motor Assembly - Driver X3
Connector 228: Seat Adjuster Motor Assembly - Driver X4
Connector 229: Seat Adjuster Motor Assembly - Passenger
Connector 230: Seat Adjuster Switch - Driver
Connector 231: Seat Adjuster Switch - Passenger
Connector 232: Seat Back Ventilation Heating and Cooling Module - Driver
Connector 233: Seat Back Ventilation Heating and Cooling Module - Passenger
Connector 234: Seat Belt Pretensioner - Driver
Connector 235: Seat Belt Pretensioner - Passenger
Connector 236: Seat Belt Switch - Driver
Connector 237: Seat Belt Switch - Passenger
Connector 238: Seat Climate Control Module - Driver X1
Connector 239: Seat Climate Control Module - Driver X2
Connector 240: Seat Climate Control Module - Passenger X1
Connector 241: Seat Climate Control Module - Passenger X2
Connector 242: Seat Cushion Ventilation Heating and Cooling Module - Driver
Connector 243: Seat Cushion Ventilation Heating and Cooling Module - Passenger
Connector 244: Seat Lumbar Adjuster Switch - Driver Lower
Connector 245: Seat Lumbar Adjuster Switch - Driver Upper
Connector 246: Seat Lumbar Adjuster Switch - Passenger Lower
Connector 247: Seat Lumbar Adjuster Switch - Passenger Upper
Connector 248: Seat Lumbar Pump/Control Module - Driver
Connector 249: Seat Lumbar Pump/Control Module - Passenger
Connector 250: Seat Recline Motor - Driver X1
Connector 251: Seat Recline Motor - Driver X2
Connector 252: Seat Recline Motor - Passenger
Connector 253: Seat Ventilation Heating and Cooling Blower - Driver
Connector 254: Seat Ventilation Heating and Cooling Blower - Passenger
Connector 255: Speaker - Center I/P
Connector 256: Speaker - Driver Seat Left
Connector 257: Speaker - Driver Seat Right
Connector 258: Speaker - Left
Connector 259: Speaker - Left Front Subwoofer
Connector 260: Speaker - Passenger Seat Left
Connector 261: Speaker - Passenger Seat Right
Connector 262: Speaker - Right
Connector 263: Speaker - Right Front Subwoofer
Connector 264: Steering Angle Sensor
Connector 265: Steering Column Lock Control Module X1 (UA2)
Connector 266: Steering Column Lock Control Module X2 (UA2)
Connector 267: Steering Wheel/Column Tilt/Telescope Actuator
Connector 268: Steering Wheel/Column Tilt/Telescope Switch
Connector 269: Steering Wheel Control Switch - Left
Connector 270: Steering Wheel Control Switch - Right
Connector 271: Steering Wheel Tilt Actuator
Connector 272: Sunload Sensor
Connector 273: Sunshade - Right
Connector 274: Supercharger Air Inlet Pressure Sensor (LC3)
Connector 275: Supercharger Bypass Valve Solenoid (LC3)
Connector 276: Suspension Damper - Left Front
Connector 277: Suspension Damper - Left Rear
Connector 278: Suspension Damper - Right Front
Connector 279: Suspension Damper - Right Rear
Connector 280: Suspension Position Sensor - Left Front
Connector 281: Suspension Position Sensor - Left Rear
Connector 282: Suspension Position Sensor - Right Front
Connector 283: Suspension Position Sensor - Right Rear
Connector 284: Tail Lamp - Left
Connector 285: Tail Lamp - Right
Connector 286: Theft Deterrent Alarm Siren (UA2)
Connector 287: Throttle Body (LC3)
Connector 288: Throttle Body (LH2)
Connector 289: Traction Control Switch
Connector 290: Traffic Information Receiver (Japan)
Connector 291: Turn Signal Lamp - Left Front
Connector 292: Turn Signal Lamp - Right Front
Connector 293: Turn Signal/Multifunction Switch X1
Connector 294: Turn Signal/Multifunction Switch X2
Connector 295: Turn Signal/Multifunction Switch X3
Connector 296: Turn Signal/Multifunction Switch X4
Connector 297: Valet Switch
Connector 298: Variable Effort Steering Actuator
Connector 299: Vehicle Communication Interface Module (VCIM) X1
Connector 300: Vehicle Communication Interface Module (VCIM) X2
Connector 301: Vehicle Communication Interface Module (VCIM) X3
Connector 302: Vehicle Communication Interface Module (VCIM) X4
Connector 303: Wheel Speed Sensor (WSS) - Left Front
Connector 304: Wheel Speed Sensor (WSS) - Left Rear
Connector 305: Wheel Speed Sensor (WSS) - Right Front
Connector 306: Wheel Speed Sensor (WSS) - Right Rear
Connector 307: Window Switch - Driver
Connector 308: Window Switch - Passenger
Connector 309: Windshield Outside Moisture Sensor
Connector 310: Windshield Washer Fluid Level Switch
Connector 311: Windshield Washer Fluid Pump
Connector 312: Windshield Wiper Motor
Connector 313: Windshield Wiper/Washer Switch
Connector 314: Yaw and Lateral Accelerometer Sensor

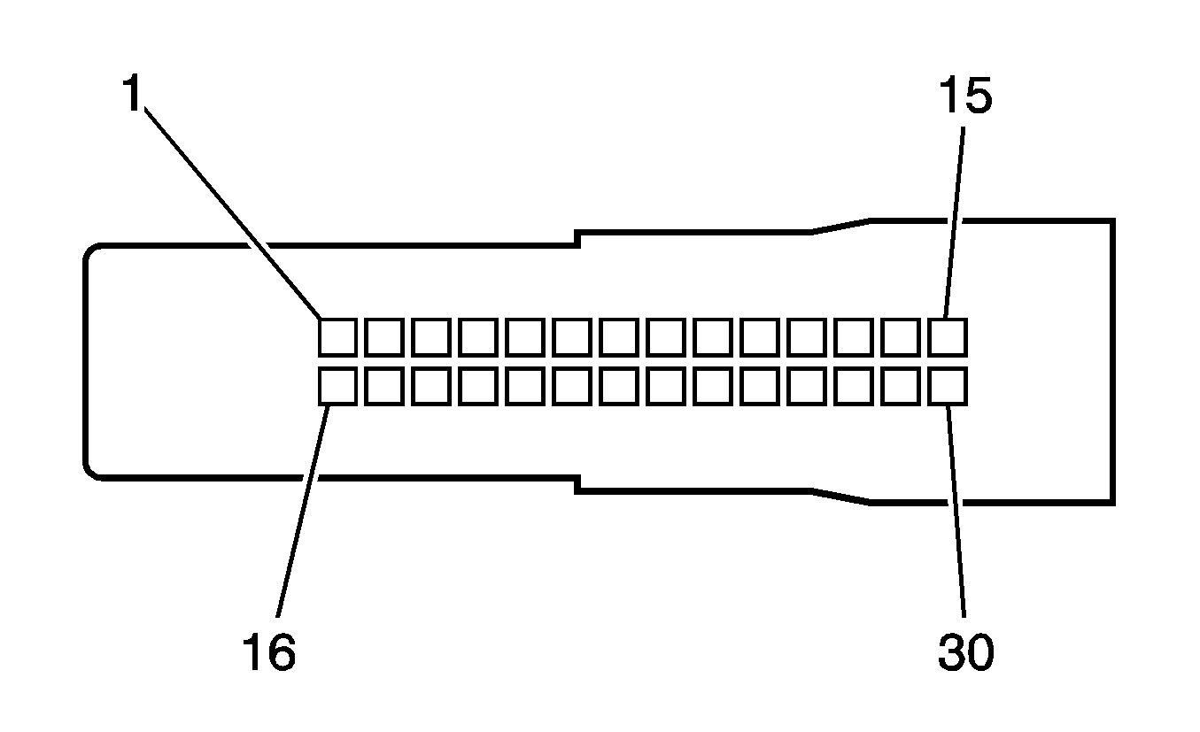
A/C Compressor Clutch


Object Number: 684852  Size: CH

Connector Part Information

  • OEM: 12162017
  • Service: 12101937
  • Description: 2-Way F Metri-Pack 150 Series (GY)

Terminal Part Information

  • Terminal/Tray: 12048074/2
  • Core/Insulation Crimp: E/1
  • Release Tool/Test Probe: 12094429/J-35616-2A (GY)

A/C Compressor Clutch

Pin

Wire

Circuit

Function

A

0.5 BK

1250

Ground

B

0.5 D-GN

59

A/C Compressor Clutch Supply Voltage

A/C Refrigerant Pressure Sensor


Object Number: 258299  Size: CH

Connector Part Information

  • OEM: 12186827
  • Service: 12102748
  • Description: 3-Way F Metri-Pack 150 Series (BK)

Terminal Part Information

  • Terminal/Tray: See Terminal Repair Kit
  • Core/Insulation Crimp: See Terminal Repair Kit
  • Release Tool/Test Probe: See Terminal Repair Kit

A/C Refrigerant Pressure Sensor

Pin

Wire

Circuit

Function

A

0.35 BK/WH

2751

Low Reference

B

0.35 GY

2700

5-Volt Reference - 1

C

0.35 OG/BK

380

A/C Refrigerant Pressure Sensor Signal

Accelerator Pedal Position (APP) Sensor


Object Number: 632357  Size: CH

Connector Part Information

  • OEM: 15326829
  • Service: 88988944
  • Description: 6-Way F 150 Series Sealed (BK)

Terminal Part Information

  • Terminal/Tray: 12191819/8
  • Core/Insulation Crimp: E/A
  • Release Tool/Test Probe: 15315247/J-35616-2A (GY)

Accelerator Pedal Position (APP) Sensor

Pin

Wire

Circuit

Function

A

0.35 PU

1272

Low Reference

B

0.35 L-BU

1162

APP Sensor 2 Signal

C

0.35 TN

1274

5-Volt Reference - 1

D

0.35 BN

1271

Low Reference

E

0.35 D-BU

1161

APP Sensor 1 Signal

F

0.35 WH/BK

1164

5-Volt Reference - 2

Accessory Power Outlet


Object Number: 365964  Size: CH

Connector Part Information

  • OEM: 12176446
  • Service: 15305923
  • Description: 3-Way F Metri-Pack 280 Series, Flexlock (NA)

Terminal Part Information

  • Terminal/Tray: 12110844/4
  • Core/Insulation Crimp: C/A
  • Release Tool/Test Probe: 15315247/J-35616-4A (PU)

Accessory Power Outlet

Pin

Wire

Circuit

Function

A

0.8 YE

643

Accessory Voltage

B

--

--

Not Used

C

0.8 BK

1550

Ground

Air Temperature Actuator - Left


Object Number: 704047  Size: CH

Connector Part Information

  • OEM: 12059110
  • Service: 88953271
  • Description: 2-Way F Metri-Pack 150 Series (BK)

Terminal Part Information

  • Terminal/Tray: 12064971/5
  • Core/Insulation Crimp: E/C
  • Release Tool/Test Probe: 12094429/J-35616-2A (GY)

Air Temperature Actuator - Left

Pin

Wire

Circuit

Function

A

0.35 D-BU/WH

1199

Left Air Temperature Door Control A

B

0.35 YE

1791

Left Air Temperature Door Control B

Air Temperature Actuator - Right


Object Number: 704047  Size: CH

Connector Part Information

  • OEM: 12059110
  • Service: 88953271
  • Description: 2-Way F Metri-Pack 150 Series (BK)

Terminal Part Information

  • Terminal/Tray: 12064971/5
  • Core/Insulation Crimp: E/C
  • Release Tool/Test Probe: 12094429/J-35616-2A (GY)

Air Temperature Actuator - Right

Pin

Wire

Circuit

Function

A

0.35 WH/BK

1236

Right Air Temperature Door Control A

B

0.35 D-BU

1646

Right Air Temperature Door Control B

Air Temperature Sensor - Inside


Object Number: 1362560  Size: CH

Connector Part Information

  • OEM: 10738109
  • Service: 88953365
  • Description: 6-Way F Metri-Pack 280 Series (BK)

Terminal Part Information

  • Terminal/Tray: 928999-5/15
  • Core/Insulation Crimp: H/H
  • Release Tool/Test Probe: 12094429/J-35616-64B (L-BU)

Air Temperature Sensor - Inside

Pin

Wire

Circuit

Function

1

0.35 PK

639

Ignition 1 Voltage

2

--

--

Not Used

3

0.35 L-GN

5962

Inside Air Temperature Sensor Blower Control

4

0.35 D-GN

734

Inside Air Temperature Sensor Signal

5

--

--

Not Used

6

0.35 YE

61

Low Reference

Air Temperature Sensor - Lower Left


Object Number: 82383  Size: CH

Connector Part Information

  • OEM: 12047662
  • Service: 12085535
  • Description: 2-Way F Metri-Pack 150 Series (BK)

Terminal Part Information

  • Terminal/Tray: 12064971/5
  • Core/Insulation Crimp: E/C
  • Release Tool/Test Probe: 12094429/J-35616-2A (GY)

Air Temperature Sensor - Lower Left

Pin

Wire

Circuit

Function

A

0.35 TN

518

Lower Left Air Temperature Sensor Signal

B

0.35 BN

718

Low Reference

Air Temperature Sensor - Lower Right


Object Number: 82383  Size: CH

Connector Part Information

  • OEM: 12047662
  • Service: 12085535
  • Description: 2-Way F Metri-Pack 150 Series (BK)

Terminal Part Information

  • Terminal/Tray: 12064971/5
  • Core/Insulation Crimp: E/C
  • Release Tool/Test Probe: 12094429/J-35616-2A (GY)

Air Temperature Sensor - Lower Right

Pin

Wire

Circuit

Function

A

0.35 TN/BK

520

Lower Right Air Temperature Sensor Signal

B

0.35 GY

720

Low Reference

Air Temperature Sensor - Upper Left


Object Number: 82383  Size: CH

Connector Part Information

  • OEM: 12047662
  • Service: 12085535
  • Description: 2-Way F Metri-Pack 150 Series (BK)

Terminal Part Information

  • Terminal/Tray: 12064971/5
  • Core/Insulation Crimp: E/C
  • Release Tool/Test Probe: 12094429/J-35616-2A (GY)

Air Temperature Sensor - Upper Left

Pin

Wire

Circuit

Function

A

0.35 TN

516

Upper Left Air Temperature Sensor Signal

B

0.35 YE

61

Low Reference

Air Temperature Sensor - Upper Right


Object Number: 82383  Size: CH

Connector Part Information

  • OEM: 12047662
  • Service: 12085535
  • Description: 2-Way F Metri-Pack 150 Series (BK)

Terminal Part Information

  • Terminal/Tray: 12064971/5
  • Core/Insulation Crimp: E/C
  • Release Tool/Test Probe: 12094429/J-35616-2A (GY)

Air Temperature Sensor - Upper Right

Pin

Wire

Circuit

Function

A

0.35 TN

517

Upper Right Air Temperature Sensor Signal

B

0.35 YE

61

Low Reference

Ambient Air Temperature Sensor


Object Number: 635009  Size: CH

Connector Part Information

  • OEM: 12052641
  • Service: 12052641
  • Description: 2-Way F Metri-Pack 150 Series (BK)

Terminal Part Information

  • Terminal/Tray: See Terminal Repair Kit
  • Core/Insulation Crimp: See Terminal Repair Kit
  • Release Tool/Test Probe: See Terminal Repair Kit

Ambient Air Temperature Sensor

Pin

Wire

Circuit

Function

A

0.35 L-GN/BK

735

Ambient Air Temperature Sensor Signal

B

0.35 YE

61

Low Reference

Audio Amplifier X1


Object Number: 73158  Size: CH

Connector Part Information

  • OEM: 12110626
  • Service: 12110626
  • Description: 8-Way F Metri-Pack 280 Series, Flexlock (GY)

Terminal Part Information

  • Pins: C-F
  • Terminal/Tray: 12110844/4
  • Core/Insulation Crimp: C/A
  • Release Tool/Test Probe: 15315247/J-35616-4A (PU)
  • Pins: A, H
  • Terminal/Tray: 15324340/19
  • Core/Insulation Crimp: F/G
  • Release Tool/Test Probe: 12094430/J-35616-4A (PU)

Audio Amplifier X1

Pin

Wire

Circuit

Function

A

3 BK/WH

651

Ground

B

--

--

Not Used

C

1 D-GN

117

Right Front Subwoofer Speaker Output (-)

D

1 TN

201

Left Front Subwoofer Speaker Output (+)

E

1 GY

118

Left Front Subwoofer Speaker Output (-)

F

1 L-GN

200

Right Subwoofer Speaker Output (+)

G

--

--

Not Used

H

3 RD/BK

142

Battery Positive Voltage

Audio Amplifier X2


Object Number: 73156  Size: CH

Connector Part Information

  • OEM: 12110088
  • Service: 15306210
  • Description: 24-Way F Micro-Pack 100 Series (GY)

Terminal Part Information

  • Terminal/Tray: 12146447/3
  • Core/Insulation Crimp: E/C
  • Release Tool/Test Probe: 12031876-1/J-35616-6 (BN)

Audio Amplifier X2

Pin

Wire

Circuit

Function

A1

--

--

Not Used

A2

0.5 BN

199

Left Seat Speaker Output (+)

A3

0.5 YE

116

Left Seat Speaker Output (-)

A4

0.5 TN

1856

Left Front Midrange Speaker Output (+)

A5

0.5 YE

1956

Left Front Midrange Speaker Output (-)

A6

0.5 L-BU

1960

Front Center Speaker Output (-)

A7

0.5 YE

1860

Front Center Speaker Output (+)

A8

0.5 PU

1952

Right Front Midrange Speaker Output (-)

A9

0.5 L-GN

1852

Right Front Midrange Speaker Output (+)

A10

0.5 L-BU

115

Right Seat Speaker Output (-)

A11

0.5 D-BU

46

Right Seat Speaker Output (+)

A12

0.35 L-BU

1405

Remote Playback Device Audio Common Signal (UE1)

B1-B7

--

--

Not Used

B8

0.35 L-GN

1948

Right Low Level Audio Signal (-)

B9

0.35 D-GN

1947

Left Low Level Audio Signal (-)

B10

0.35 TN

511

Left Low Level Audio Signal (+)

B11

0.35 D-GN/WH

512

Right Low Level Audio Signal (+)

B12

0.35 OG/BK

1406

Remote Playback Device Audio Signal (UE1)

Audio Amplifier X3


Object Number: 280764  Size: CH

Connector Part Information

  • OEM: 12064993
  • Service: 12102485
  • Description: 6-Way F Micro-Pack 100 Series (BK)

Terminal Part Information

  • Terminal/Tray: 12146447/3
  • Core/Insulation Crimp: E/C
  • Release Tool/Test Probe: 12031876-1/J-35616-6 (BN)

Audio Amplifier X3

Pin

Wire

Circuit

Function

5

0.35 D-BU

2272

Amplifier Class 2 Serial Data

6

--

--

Not Used

7

0.35 BARE

1489

Drain

8

0.35 D-GN

1488

Noise Compensation Microphone Signal

9

0.35 D-GN

5743

Voice Prompt Signal (-)

10

0.35 TN

5778

Voice Prompt Signal (+)

Automatic Transmission Input Shaft Speed (ISS) Sensor


Object Number: 333035  Size: CH

Connector Part Information

  • OEM: 12064758
  • Service: Non-Serviceable (12117320)
  • Description: 3-Way F Metri-Pack 150 Series (NA)

Terminal Part Information

  • Terminal/Tray: Non-Serviceable
  • Core/Insulation Crimp: Non-Serviceable
  • Release Tool/Test Probe: Non-Serviceable

Automatic Transmission Input Shaft Speed (ISS) Sensor

Pin

Wire

Circuit

Function

A

0.35 GN

--

Input Speed Sensor (ISS) Signal

B

0.35 RD

--

ISS/OSS Supply Voltage

C

0.35 BK

--

Output Speed Sensor (OSS) Signal

Automatic Transmission Internal Mode Switch (IMS)


Object Number: 347262  Size: CH

Connector Part Information

  • OEM: 15336500
  • Service: Non-Serviceable (89046635)
  • Description: 6-Way F Metri-Pack 150.2 Series (GN)

Terminal Part Information

  • Terminal/Tray: Non-Serviceable
  • Core/Insulation Crimp: Non-Serviceable
  • Release Tool/Test Probe: Non-Serviceable

Automatic Transmission Internal Mode Switch (IMS)

Pin

Wire

Circuit

Function

A

0.35 GY

--

Ground

B

0.35 BK

--

Transmission Range Switch Signal P

C

0.35 YE

--

Transmission Range Switch Signal C

D

0.35 RD

--

Transmission Range Switch Signal B

E

0.35 GN

--

Transmission Range Switch Signal A

F

0.35 WH

--

Park/Neutral Switch Signal

Automatic Transmission Shift Lever


Object Number: 646384  Size: CH

Connector Part Information

  • OEM: 15332153
  • Service: 88986440
  • Description: 10-Way F GT 150 Series (BK)

Terminal Part Information

  • Terminal/Tray: 12191812/19
  • Core/Insulation Crimp: E/C
  • Release Tool/Test Probe: 15315247/J-35616-2A (GY)

Automatic Transmission Shift Lever

Pin

Wire

Circuit

Function

A

0.35 D-GN

1399

Auxiliary Power Relay Coil Supply Voltage (- Europe)

0.35 YE

843

Accessory Voltage (Europe)

B

0.35 D-GN

5525

Tap Up/Tap Down Enabled Signal

C

0.35 GY/BK

1458

Instrument Panel Lamp Supply Voltage 4

D

0.35 PK

1039

Ignition 1 Voltage

E

0.5 RD/WH

840

Battery Positive Voltage

F

0.35 D-GN/WH

1932

Transmission Shift Select Switch (PARK) Signal

G

0.5 BK

1550

Ground

H

0.35 PU

5526

Tap Up/Tap Down Switch Signal

J

0.35 GY/BK

1357

Instrument Panel Lamp Control

K

0.35 D-GN/WH

1135

A/T Shift Lock Control Solenoid Control

Auxiliary Power Relay


Object Number: 309518  Size: CH

Connector Part Information

  • OEM: 12129715
  • Service: 12129715
  • Description: 6-Way F Metri-Pack 280 Series, Flexlock (GY)

Terminal Part Information

  • Pins: A1, C2
  • Terminal/Tray: 12110844/4
  • Core/Insulation Crimp: E/C
  • Release Tool/Test Probe: 15315247/J-35616-4A (PU)
  • Pins: A2, C1
  • Terminal/Tray: 15324340/19
  • Core/Insulation Crimp: F/G
  • Release Tool/Test Probe: 12094430/J-35616-4A (PU)

Auxiliary Power Relay

Pin

Wire

Circuit

Function

A1

0.35 BK

1550

Ground

A2

5 YE

443

Accessory Voltage

B1-B2

--

--

Not Used

C1

5 RD/BK

742

Battery Positive Voltage

C2

0.35 D-GN

1399

Auxiliary Power Relay Coil Voltage

0.35 D-GN

1399

Auxiliary Power Relay Coil Voltage (Europe)

Backup Lamp - Left


Object Number: 1717007  Size: CH

Connector Part Information

  • OEM: 16530673
  • Service: See Catalog
  • Description: 3-Way F (L-GY)

Terminal Part Information

  • Terminal/Tray: See Terminal Repair Kit
  • Core/Insulation Crimp: See Terminal Repair Kit
  • Release Tool/Test Probe: See Terminal Repair Kit

Backup Lamp - Left

Pin

Wire

Circuit

Function

A

0.8 L-GN

24

Backup Lamp Supply Voltage

B

--

--

Not Used

G

0.8 BK

1150

Ground

0.8 BK

1150

Ground (Europe)

Backup Lamp - Right


Object Number: 1717007  Size: CH

Connector Part Information

  • OEM: 16530673
  • Service: See Catalog
  • Description: 3-Way F (L-GY)

Terminal Part Information

  • Terminal/Tray: See Terminal Repair Kit
  • Core/Insulation Crimp: See Terminal Repair Kit
  • Release Tool/Test Probe: See Terminal Repair Kit

Backup Lamp - Right

Pin

Wire

Circuit

Function

A

0.8 L-GN

24

Backup Lamp Supply Voltage

0.8 L-GN

24

Backup Lamp Supply Voltage

B

--

--

Not Used

G

0.8 BK

1150

Ground

0.8 BK

1150

Ground

Barometric Pressure (BARO) Sensor (LC3)


Object Number: 684840  Size: CH

Connector Part Information

  • OEM: 12129946
  • Service: 88987997
  • Description: 3-Way F Metri-Pack 150 Delphi (L-GY)

Terminal Part Information

  • Terminal/Tray: 12048074/2
  • Core/Insulation Crimp: E/1
  • Release Tool/Test Probe: 12094429/J-35616-2A (GY)

Barometric Pressure (BARO) Sensor (LC3)

Pin

Wire

Circuit

Function

A

0.35 OG/BK

6014

Low Reference

B

0.35 GY/BK

433

BARO Sensor Signal

C

0.35 WH/BK

2932

5-Volt Reference - 2

Blower Motor Control Module


Object Number: 68737  Size: CH

Connector Part Information

  • OEM: 12129489
  • Service: 12126486
  • Description: 3-Way F Metri-Pack 280 Series Flexlock (BK)

Terminal Part Information

  • Pins: A
  • Terminal/Tray: 15324340/19
  • Core/Insulation Crimp: F/G
  • Release Tool/Test Probe: 12094430/J-35616-4A (PU)
  • Pins: B
  • Terminal/Tray: 12110844/4
  • Core/Insulation Crimp: E/C
  • Release Tool/Test Probe: 15315247/J-35616-4A (PU)
  • Pins: C
  • Terminal/Tray: 12110842/4
  • Core/Insulation Crimp: A/B
  • Release Tool/Test Probe: 15315247/J-35616-4A (PU)

Blower Motor Control Module

Pin

Wire

Circuit

Function

A

3 RD/BK

442

Battery Positive Voltage

B

0.35 GY/BK

754

Blower Motor Speed Control

C

2 BK

1550

Ground

Body Control Module (BCM) X1


Object Number: 1376257  Size: CH

Connector Part Information

  • OEM: 15393122
  • Service: 88987847
  • Description: 72-Way F Micro-64 Unsealed (GY)

Terminal Part Information

  • Terminal/Tray: 15359541/4
  • Core/Insulation Crimp: M/M
  • Release Tool/Test Probe: 15381651-2/J-35616-64B (L-BU)

Body Control Module (BCM) X1

Pin

Wire

Circuit

Function

1

--

--

Not Used

2

0.35 YE

5058

Intrusion Sensor Armed Signal (UA2)

3

--

--

Not Used

4

0.35 D-GN

5525

Tap Up/Tap Down Enabled Signal

5-6

--

--

Not Used

7

0.35 L-GN

5724

BCM Ignition Mode Ground

8-11

--

--

Not Used

12

0.35 BK/WH

851

Ground

13

0.35 TN

28

Horn Relay Control

14

0.35 D-BU

5719

START Indicator Control

15

0.35 WH

5741

Steering Column Lock Enable Relay

16

0.35 L-BU

1344

Trunk Release Control Signal

17

0.35 L-BU

187

Rear Fog Lamp Relay Control (Export)

18

0.35 OG/BK

744

Rear Compartment Lid Ajar Switch Signal

19

0.35 D-GN/WH

1317

Front Fog Lamp Relay Control

20-21

--

--

Not Used

22

0.35 YE

43

Accessory Voltage

23-28

--

--

Not Used

29

0.35 TN/WH

1969

Headlamp High Beam Relay Control

30-34

--

--

Not Used

35

0.35 TN

305

Trunk Key Switch Signal

36-37

--

--

Not Used

38

0.35 L-BU/WH

1314

Left Front Turn Signal Lamp Supply Voltage (- Europe/Japan)

0.5 L-BU/WH

1314

Left Front Turn Signal Lamp Supply Voltage (Europe/Japan)

39-41

--

--

Not Used

42

0.35 L-GN/BK

1605

Park Brake Relay Coil 1 Control

43

--

--

Not Used

44

0.35 TN

126

Left Front Door Open Switch Signal

45-46

--

--

Not Used

47

0.35 PU

5357

Right Tail Lamp Outage Detection Signal

48

--

--

Not Used

49

0.35 PU

5059

Intrusion Sensor Alarm On Signal (UA2)

50

--

--

Not Used

51

0.35 GY/BK

745

Left Front Door Ajar Switch Signal

52

--

--

Not Used

53

0.35 TN/WH

746

Right Front Door Ajar Switch Signal

54

--

--

Not Used

55

0.35 L-GN

1037

BCM Class 2 Serial Data

56

0.35 D-BU/WH

1315

Right Front Turn Signal Lamp Supply Voltage (- Europe/Japan)

0.5 D-BU/WH

1315

Right Front Turn Signal Lamp Supply Voltage (Europe/Japan)

57

0.35 WH

2282

Headlamp Washer Relay Control

58

0.35 D-GN

1399

Auxiliary Power Relay Coil Voltage

59

--

--

Not Used

60

0.35 L-GN

1845

Rear Parking Assist Chime Signal

61

0.35 PK

94

Windshield Washer Switch Signal

62

0.35 YE

5356

Left Tail Lamp Outage Detection Signal

63

0.35 L-GN

1177

Right Front Door Open Switch Signal

64

0.35 GY

91

Windshield Wiper Switch Signal 2

65

0.35 WH

1080

Park Lamp Relay Control

66

0.35 L-GN/WH

5723

BCM Ignition Mode Data Signal

67

--

--

Not Used

68

0.35 TN/BK

5168

Power Sounder Enable Signal (Europe)

69

0.35 PK/BK

109

Hood Ajar Switch Signal (UA2)

70

--

--

Not Used

71

0.35 BN/WH

2091

Trunk Release Switch Supply Voltage

72

--

--

Not Used

Body Control Module (BCM) X2


Object Number: 1376254  Size: CH

Connector Part Information

  • OEM: 15393121
  • Service: 88987848
  • Description: 72-Way F Micro-64 Unsealed (GY)

Terminal Part Information

  • Terminal/Tray: 15359541/4
  • Core/Insulation Crimp: M/M
  • Release Tool/Test Probe: 15381651-2/J-35616-64B (L-BU)

Body Control Module (BCM) X2

Pin

Wire

Circuit

Function

1

0.35 TN/BK

2500

High Speed GMLAN Serial Data (+)

2

0.35 TN/BK

2500

High Speed GMLAN Serial Data (+)

3

0.35 PK/WH

1970

Headlamp Low Beam Relay Control

4

0.35 PU

524

Headlamp Dimmer Switch High Beam Signal

5

0.35 BN/WH

301

Park Lamp Switch On Signal

6

0.35 YE

1977

Rear Fog Lamps Switch Signal (Europe)

7

0.35 PK

5068

Intrusion Sensor Switch Disable Signal (Europe)

8

--

--

Not Used

9

0.35 TN

2144

Hazard Switch Signal

10

--

--

Not Used

11

0.35 OG

5721

OFF Indicator Control

12-13

--

--

Not Used

14

0.35 TN

28

Horn Relay Control

15

0.35 WH

103

Headlamp Switch Headlamps On Signal

16

0.35 OG

192

Front Fog Lamp Switch Signal

17

0.35 L-BU

1872

Exterior Lamps OFF Input

18

0.35 GY

5381

5-Volt Reference

19

0.35 TN

2501

High Speed GMLAN Serial Data Bus (-)

20

0.35 TN

2501

High Speed GMLAN Serial Data Bus (-)

21-30

--

--

Not Used

31

0.35 TN

5380

Brake Position Sensor Signal

32-48

--

--

Not Used

49

0.35 PK

1607

Park Brake Relay Coil 2 Control

50

--

--

Not Used

51

0.35 BN

1356

Flash To Pass Switch Signal

52-56

--

--

Not Used

57

0.35 D-GN

5737

ACC Gap Adjustment Switch Signal

58

--

--

Not Used

59

0.35 BN

5382

Low Reference

60

--

--

Not Used

61

0.35 GY

1884

Cruise Control Set/Coast and Resume/Accelerate Switch Signal

62-65

--

--

Not Used

66

0.35 L-BU/WH

1414

Left Turn Signal Switch Signal

67

0.35 D-BU/WH

1415

Right Turn Signal Switch Signal

68

0.35 BN/WH

1571

Traction Control Switch Signal

69

0.35 D-GN/WH

1932

Transmission Shift Select Switch (Park) Signal

70

--

--

Not Used

71

0.35 L-GN

5720

ACC Indicator Control

72

--

--

Not Used

Body Control Module (BCM) X3


Object Number: 1362564  Size: CH

Connector Part Information

  • OEM: 15492675
  • Service: 88988613
  • Description: 41-Way F (RD)

Terminal Part Information

  • Pins: A7, A8, A10, B3, B5, B12, C3, D3
  • Terminal/Tray: 12110844/4
  • Core/Insulation Crimp: E/C
  • Release Tool/Test Probe: 15315247/J-35616-4A (PU)
  • Pins: D1, D6, D12
  • Terminal/Tray: 12110842/4
  • Core/Insulation Crimp: F/G
  • Release Tool/Test Probe: 15315247/J-35616-4A (PU)
  • Pins: A1, A4, C5, D10, D11, A3, A6, A9, A12, D4, D7, D9
  • Terminal/Tray: 12110844/4
  • Core/Insulation Crimp: Pins A1, A4, C5, D10, D11 - C/A
  • Core/Insulation Crimp: Pins A3, A6, A9, A12, D4, D7, D9 - E/A
  • Release Tool/Test Probe: 15315247/J-35616-4A (PU)

Body Control Module (BCM) X3

Pin

Wire

Circuit

Function

A1

0.8 TN

694

Driver Door Latch Control

A2

--

--

Not Used

A3

0.5 OG

1732

Courtesy Lamps Supply Voltage

A4

0.8 TN

294

Front Passenger Door Latch Control

A5

--

--

Not Used

A6

0.5 RD/WH

740

Battery Positive Voltage

A7

0.35 RD/WH

240

Battery Positive Voltage

A8

0.35 RD/WH

1040

Battery Positive Voltage

A9

0.35 YE

18

Left Rear Stop/Turn Lamp Supply Voltage (- Europe and Japan) Left Rear Turn Signal Lamp Supply Voltage (Europe and Japan)

A10

0.35 BK/WH

156

Courtesy Lamp Low Control

A11

--

--

Not Used

A12

0.35 D-GN

19

Right Rear Stop/Turn Lamp Supply Voltage (- Europe and Japan) Right Rear Turn Signal Lamp Supply Voltage (Europe and Japan)

B1-B2

--

--

Not Used

B3

0.5 RD/WH

1240

Battery Positive Voltage (LC3)

0.35 RD/WH

1240

Battery Positive Voltage (Europe)

B4

--

--

Not Used

B5

0.35 PK

3

Ignition 1 Voltage

B6-B11

--

--

Not Used

B12

0.35 PK

5722

Ignition Mode Switch Supply Voltage

C1-C2

--

--

Not Used

C3

0.35 PK

1139

Ignition 1 Voltage

0.35 PK

1139

Ignition 1 Voltage

C4

--

--

Not Used

C5

0.8 PK

839

Ignition 1 Voltage

C8-C12

--

--

Not Used

D1

5 RD/BK

242

Battery Positive Voltage

D2

--

--

Not Used

D3

0.35 PK

1139

Ignition 1 Voltage

0.35 PK

1139

Ignition 1 Voltage

D4

0.35 RD/WH

1340

Battery Positive Voltage

0.5 RD/WH

1340

Battery Positive Voltage

D5

--

--

Not Used

D6

5 RD/BK

242

Battery Positive Voltage

D7

0.5 RD/WH

840

Battery Positive Voltage

0.5 RD/WH

840

Battery Positive Voltage (Europe)

D8

--

--

Not Used

D9

0.35 L-GN

24

Backup Lamp Supply Voltage

0.5 L-GN

24

Backup Lamp Supply Voltage

D10

0.8 RD/WH

640

Battery Positive Voltage

D11

1 RD/WH

540

Battery Positive Voltage

D12

3 RD/WH

1740

Battery Positive Voltage

Body Control Module (BCM) X4


Object Number: 697044  Size: CH

Connector Part Information

  • OEM: 15492668
  • Service: 88988776
  • Description: 68-Way F Metri-Pack 280 Series, Flexlock (GY)

Terminal Part Information

  • Pins: D4
  • Terminal/Tray: 12110844/4
  • Core/Insulation Crimp: C/A
  • Release Tool/Test Probe: 15315247/J-35616-4A (PU)
  • Pins: E6
  • Terminal/Tray: 12110842/4
  • Core/Insulation Crimp: See Terminal Repair Kit
  • Release Tool/Test Probe: 15315247/J-35616-4A (PU)
  • Pins: A2, A3, C4, C8, C10, D1, D3, D5, E1, E8, F1, B10, C1, D8, D10, E5, E10, E12, F5, F9
  • Terminal/Tray: 12110844/4
  • Core/Insulation Crimp: Pins A2, A2, A3, C4, C8, C10, D1, D3, D5, E1, E8, F1 - E/C
  • Core/Insulation Crimp: Pins B10, C1, D8, D10, E5, E10, E12, F5, F9 - E/A
  • Release Tool/Test Probe: 15315247/J-35616-4A (PU)

Body Control Module (BCM) X4

Pin

Wire

Circuit

Function

A1

--

--

Not Used

A2

0.35 WH

156

Courtesy Lamp Low Control

0.35 WH

156

Courtesy Lamp Low Control

A3

0.35 BK/L-GN

24

Backup Lamp Supply Voltage

A4-A12

--

--

Not Used

B1-B9

--

--

Not Used

B10

0.5 PK

1439

Ignition 1 Voltage

B11-B12

--

--

Not Used

C1

0.5 RD/WH

140

Battery Positive Voltage

C2-C3

--

--

Not Used

C4

0.35 WH

17

Stop Lamp Switch Signal

C5

--

--

Not Used

C8

0.35 PK

3

Ignition 1 Voltage

C9

--

--

Not Used

C10

0.35 PK

739

Ignition 1 Voltage

0.5 PK

739

Ignition 1 Voltage

C11-C12

--

--

Not Used

D1

0.5 RD/WH

340

Battery Positive Voltage

D2

--

--

Not Used

D3

0.35 PK

3

Ignition 1 Voltage

D4

0.8 L-BU

20

Stop Lamp Supply Voltage

D5

0.35 OG

1732

Courtesy Lamps Supply Voltage

0.35 OG

1732

Courtesy Lamps Supply Voltage

D6-D7

--

--

Not Used

D8

0.5 PK

639

Ignition 1 Voltage

D9

--

--

Not Used

D10

0.5 RD/WH

1140

Battery Positive Voltage

0.5 RD/WH

1140

Battery Positive Voltage

D11-D12

--

--

Not Used

E1

0.35 RD/WH

440

Battery Positive Voltage

E2-E4

--

--

Not Used

E5

0.5 OG

1732

Courtesy Lamps Supply Voltage

E6

0.5 RD/WH

740

Battery Positive Voltage

0.5 RD/WH

740

Battery Positive Voltage

E7

--

--

Not Used

E8

0.35 PK

1039

Ignition 1 Voltage

0.35 PK

1039

Ignition 1 Voltage (LH2)

E9

--

--

Not Used

E10

0.5 RD/WH

1240

Battery Positive Voltage

E11

--

--

Not Used

E12

0.5 BK

1550

Ground

F1

0.35 RD/WH

240

Battery Positive Voltage

0.35 RD/WH

240

Battery Positive Voltage (Export)

F2-F4

--

--

Not Used

F5

0.5 RD/WH

1040

Battery Positive Voltage (Europe)

F6-F8

--

--

Not Used

F9

0.5 RD/WH

3140

Battery Positive Voltage (Export)

0.5 RD/WH

3140

Battery Positive Voltage (Export)

F10-F12

--

--

Not Used

Brake Fluid Level Switch


Object Number: 232831  Size: CH

Connector Part Information

  • OEM: 12162195
  • Service: 88987183
  • Description: 2-Way F Metri-Pack 150.2 Series (BK)

Terminal Part Information

  • Terminal/Tray: 12124075/5
  • Core/Insulation Crimp: E/C
  • Release Tool/Test Probe: 12180559-1/J-35616-2A (GY)

Brake Fluid Level Switch

Pin

Wire

Circuit

Function

A

0.35 PU

333

Brake Fluid Level Sensor Signal

B

0.35 BK

1350

Ground

Brake Fluid Pressure Sensor


Object Number: 1243672  Size: CH

Connector Part Information

  • OEM: 15324236
  • Service: 15306334
  • Description: 3-Way F MQS Socket Housing Series Sealed (GY)

Terminal Part Information

  • Terminal/Tray: 962885-5/15
  • Core/Insulation Crimp: 6/6
  • Release Tool/Test Probe: 12094429/J-35616-64B (L-BU)

Brake Fluid Pressure Sensor

Pin

Wire

Circuit

Function

1

0.35 L-BU

2088

Low Reference

2

0.35 PU

5002

Brake Fluid Pressure Sensor Signal

3

0.35 D-GN

2087

5-Volt Reference

Brake Pedal Position Sensor


Object Number: 1243663  Size: CH

Connector Part Information

  • OEM: 15332132
  • Service: 88953364
  • Description: 3-Way F GT 150 Series (BK)

Terminal Part Information

  • Terminal/Tray: 12191812/19
  • Core/Insulation Crimp: E/C
  • Release Tool/Test Probe: 15315247/J-35616-2A (GY)

Brake Pedal Position Sensor

Pin

Wire

Circuit

Function

A

0.35 BN

5382

Low Reference

B

0.35 TN

5380

Brake Position Sensor Signal

C

0.35 GY

5381

5-Volt Reference

Camshaft Position (CMP) Actuator Solenoid Valve - Bank 1 Exhaust


Object Number: 523630  Size: CH

Connector Part Information

  • OEM: 15326801
  • Service: 15306156
  • Description: 2-Way F GT 150 Series (BK)

Terminal Part Information

  • Terminal/Tray: 12191819/8
  • Core/Insulation Crimp: E/A
  • Release Tool/Test Probe: 15315247/J-35616-2A (GY)

Camshaft Position (CMP) Actuator Solenoid Valve - Bank 1 Exhaust

Pin

Wire

Circuit

Function

A

0.5 BN/WH

6754

Low Reference

B

0.5 WH/BK

6396

CMP Actuator Solenoid Control Bank 1 Exhaust

Camshaft Position (CMP) Actuator Solenoid Valve - Bank 1 Intake


Object Number: 523630  Size: CH

Connector Part Information

  • OEM: 15326801
  • Service: 15306156
  • Description: 2-Way F GT 150 Series (BK)

Terminal Part Information

  • Terminal/Tray: 12191819/8
  • Core/Insulation Crimp: E/A
  • Release Tool/Test Probe: 15315247/J-35616-2A (GY)

Camshaft Position (CMP) Actuator Solenoid Valve - Bank 1 Intake

Pin

Wire

Circuit

Function

A

0.5 BN

6753

Low Reference

B

0.35 PK/BK

6395

CMP Actuator Solenoid Control Bank 1 Intake

Camshaft Position (CMP) Actuator Solenoid Valve - Bank 2 Exhaust


Object Number: 523630  Size: CH

Connector Part Information

  • OEM: 15326801
  • Service: 15306156
  • Description: 2-Way F GT 150 Series (BK)

Terminal Part Information

  • Terminal/Tray: 12191819/8
  • Core/Insulation Crimp: E/A
  • Release Tool/Test Probe: 15315247/J-35616-2A (GY)

Camshaft Position (CMP) Actuator Solenoid Valve - Bank 2 Exhaust

Pin

Wire

Circuit

Function

A

0.5 D-BU/WH

6756

Low Reference

B

0.5 GY/BK

6394

CMP Actuator Solenoid Control Bank 2 Exhaust

Camshaft Position (CMP) Actuator Solenoid Valve - Bank 2 Intake


Object Number: 523630  Size: CH

Connector Part Information

  • OEM: 15326801
  • Service: 15306156
  • Description: 2-Way F GT 150 Series (BK)

Terminal Part Information

  • Terminal/Tray: 12191819/8
  • Core/Insulation Crimp: E/A
  • Release Tool/Test Probe: 15315247/J-35616-2A (GY)

Camshaft Position (CMP) Actuator Solenoid Valve - Bank 2 Intake

Pin

Wire

Circuit

Function

A

0.5 D-BU

6755

Low Reference

B

0.5 TN/BK

6397

CMP Actuator Solenoid Control Bank 2 Intake

Camshaft Position (CMP) Sensor Bank 1 Exhaust


Object Number: 646415  Size: CH

Connector Part Information

  • OEM: 15326808
  • Service: 15326808
  • Description: 3-Way F GT 150 Sealed 4.5 (BK)

Terminal Part Information

  • Terminal/Tray: 15326427/5
  • Core/Insulation Crimp: E/A
  • Release Tool/Test Probe: 15315247/J-35616-2A (GY)

Camshaft Position (CMP) Sensor Bank 1 Exhaust

Pin

Wire

Circuit

Function

A

0.35 D-GN

6457

5-Volt Reference - 1

B

0.35 PU

6267

Low Reference

C

0.35 D-GN/WH

6264

CMP Sensor Signal Bank 1 Exhaust

Camshaft Position (CMP) Sensor Bank 1 Intake


Object Number: 646415  Size: CH

Connector Part Information

  • OEM: 15326808
  • Service: 15326808
  • Description: 3-Way F (BK)

Terminal Part Information

  • Terminal/Tray: 15326427/5
  • Core/Insulation Crimp: E/A
  • Release Tool/Test Probe: 15315247/J-35616-2A (GY)

Camshaft Position (CMP) Sensor Bank 1 Intake

Pin

Wire

Circuit

Function

A

0.35 D-BU

6259

5-Volt Reference - 1

B

0.35 BN

6266

Low Reference

C

0.35 D-BU/WH

6265

CMP Sensor Signal Bank 1 Intake

Camshaft Position (CMP) Sensor Bank 2 Exhaust


Object Number: 646415  Size: CH

Connector Part Information

  • OEM: 15326808
  • Service: 15326808
  • Description: 3-Way F GT 150 Sealed 4.5 (BK)

Terminal Part Information

  • Terminal/Tray: 15326427/5
  • Core/Insulation Crimp: E/A
  • Release Tool/Test Probe: 15315247/J-35616-2A (GY)

Camshaft Position (CMP) Sensor Bank 2 Exhaust

Pin

Wire

Circuit

Function

A

0.35 PK

6261

5-Volt Reference - 1

B

0.35 WH

6269

Low Reference

C

0.35 PK/BK

6262

CMP Sensor Signal Bank 2 Exhaust

Camshaft Position (CMP) Sensor Bank 2 Intake


Object Number: 646415  Size: CH

Connector Part Information

  • OEM: 15326808
  • Service: 15326808
  • Description: 3-Way F (BK)

Terminal Part Information

  • Terminal/Tray: 12191819/8
  • Core/Insulation Crimp: E/A
  • Release Tool/Test Probe: 15315247/J-35616-2A (GY)

Camshaft Position (CMP) Sensor Bank 2 Intake

Pin

Wire

Circuit

Function

A

0.35 OG

6260

5-Volt Reference - 1

B

0.35 TN

6268

Low Reference

C

0.35 OG/BK

6263

CMP Sensor Signal Bank 2 Intake

Cellular Telephone Microphone


Object Number: 1868782  Size: CH

Connector Part Information

  • OEM: 10780414
  • Service: 88988371
  • Description: 2-Way M 1.6 Series, Unsealed (BK)

Terminal Part Information

  • Terminal/Tray: 963898-3/24
  • Core/Insulation Crimp: E/C
  • Release Tool/Test Probe: J-38125-560/J-35616-3 (GY)

Cellular Telephone Microphone

Pin

Wire

Circuit

Function

2

0.35 BARE

1705

Drain

3

0.35 GY

655

Cellular Microphone Signal (UE1)

0.35 PK

5149

Voice Recognition Audio Signal (- UE1)

Center Console Compartment Lamp Switch


Object Number: 258297  Size: CH

Connector Part Information

  • OEM: 12015197
  • Service: 12102626
  • Description: 2-Way F Metri-Pack 280 Series (BU)

Terminal Part Information

  • Terminal/Tray: 12034046/2
  • Core/Insulation Crimp: E/A
  • Release Tool/Test Probe: 12094430/J-35616-4A (PU)

Center Console Compartment Lamp Switch

Pin

Wire

Circuit

Function

A

0.35 PU

635

Console Lamp Switch Signal

B

0.5 BK

1550

Ground

Center Console Flood Lamp


Object Number: 39660  Size: CH

Connector Part Information

  • OEM: 12047785
  • Service: 12102900
  • Description: 4-Way F Metri-Pack 150 Series (BK)

Terminal Part Information

  • Terminal/Tray: 12064971/5
  • Core/Insulation Crimp: E/C
  • Release Tool/Test Probe: 12094429/J-35616-2A (GY)

Center Console Flood Lamp

Pin

Wire

Circuit

Function

A

0.35 OG

1732

Courtesy Lamps Supply Voltage

B

0.35 PU

635

Console Lamp Switch Signal

C-D

--

--

Not Used

Center High Mounted Stop Lamp (CHMSL)


Object Number: 635009  Size: CH

Connector Part Information

  • OEM: 12052641
  • Service: 12102747
  • Description: 2-Way F Metri-Pack 150 Series (BK)

Terminal Part Information

  • Terminal/Tray: See Terminal Repair Kit
  • Core/Insulation Crimp: See Terminal Repair Kit
  • Release Tool/Test Probe: See Terminal Repair Kit

Center High Mounted Stop Lamp (CHMSL)

Pin

Wire

Circuit

Function

A

0.8 WH

20

Stop Lamp Supply Voltage

B

0.8 BK

1150

Ground

Charge Air Cooler (CAC) Coolant Pump (LC3)


Object Number: 1405759  Size: CH

Connector Part Information

  • OEM: 12131678
  • Service: 89046833
  • Description: 2-Way F DS 280 SLD Delphi (BK)

Terminal Part Information

  • Terminal/Tray: See Terminal Repair Kit
  • Core/Insulation Crimp: See Terminal Repair Kit
  • Release Tool/Test Probe: See Terminal Repair Kit

Charge Air Cooler (CAC) Coolant Pump (LC3)

Pin

Wire

Circuit

Function

1

0.5 BK

1250

Ground

2

0.5 TN

2022

Coolant Pump Control

Charge Air Cooler (CAC) Coolant Pump Relay (LC3)


Object Number: 535919  Size: CH

Connector Part Information

  • OEM: 12110539
  • Service: 15306045
  • Description: 5-Way F Metri-Pack 280 Series, Flexlock (BK)

Terminal Part Information

  • Terminal/Tray: 12110847/4
  • Core/Insulation Crimp: E/5
  • Release Tool/Test Probe: 15315247/J-35616-4A (PU)

Charge Air Cooler (CAC) Coolant Pump Relay (LC3)

Pin

Wire

Circuit

Function

30

0.5 RD/WH

2940

Battery Positive Voltage

85

0.5 RD/WH

2940

Battery Positive Voltage

86

0.35 PK

2014

Coolant Pump Relay Control

87

0.5 TN

2022

Coolant Pump Control

87A

--

--

Not Used

Cigar Lighter


Object Number: 365964  Size: CH

Connector Part Information

  • OEM: 12176445
  • Service: 15305919
  • Description: 3-Way F Metri-Pack 280 Series, Flexlock (NA)

Terminal Part Information

  • Terminal/Tray: 12110844/4
  • Core/Insulation Crimp: C/A
  • Release Tool/Test Probe: 15315247/J-35616-4A (PU)

Cigar Lighter

Pin

Wire

Circuit

Function

A

0.8 YE

543

Accessory Voltage

B

--

--

Not Used

C

0.8 BK

1550

Ground

Crankshaft Position (CKP) Sensor


Object Number: 646415  Size: CH

Connector Part Information

  • OEM: 15326808
  • Service: 15326808
  • Description: 3-Way F GT 150 Sealed 4.5 (BK)

Terminal Part Information

  • Terminal/Tray: 1219819/8
  • Core/Insulation Crimp: E/A
  • Release Tool/Test Probe: 15315247/J-35616-2A (GY)

Crankshaft Position (CKP) Sensor

Pin

Wire

Circuit

Function

A

0.5 L-GN

6270

5-Volt Reference - 2 (LC3)

0.5 PU/WH

6270

5-Volt Reference - 2 (LH2)

B

0.5 YE

6272

Low Reference (LC3)

0.5 GY/BK

6272

Low Reference (LH2)

C

0.5 PU

6271

CKP Sensor Signal (LC3)

0.5 WH/BK

6271

CKP Sensor Signal (LH2)

Cruise Control Forward Vehicle Distance Sensor (Adaptive Cruise)


Object Number: 1332344  Size: CH

Connector Part Information

  • OEM: 15394587
  • Service: 88988933
  • Description: 5-Way F 040 Series Sealed (BK)

Terminal Part Information

  • Terminal/Tray: See Terminal Repair Kit
  • Core/Insulation Crimp: See Terminal Repair Kit
  • Release Tool/Test Probe: See Terminal Repair Kit

Cruise Control Forward Vehicle Distance Sensor (Adaptive Cruise)

Pin

Wire

Circuit

Function

1

0.5 PK

1239

Ignition 1 Voltage

2

0.5 BK

1250

Ground

3

0.35 L-GN/BK

6432

CAN Bus (-)

4

0.35 TN/WH

6433

CAN Bus (+)

5

0.5 RD/WH

340

Battery Positive Voltage

Data Link Connector (DLC)


Object Number: 68793  Size: CH

Connector Part Information

  • OEM: 12110250
  • Service: 12110250
  • Description: 16-Way F Metri-Pack 150 Series (BK)

Terminal Part Information

  • Terminal/Tray: 12129484/19
  • Core/Insulation Crimp: E/C
  • Release Tool/Test Probe: 12094429/J-35616-2A (GY)

Data Link Connector (DLC)

Pin

Wire

Circuit

Function

1

--

--

Not Used

2

0.35 PU

1132

DLC Class 2 Serial Data

3

--

--

Not Used

4

0.35 BK

1450

Ground

5

0.35 BK/WH

851

Ground

6

0.35 TN/BK

2500

High Speed GMLAN Serial Data Bus (+)

7-13

--

--

Not Used

14

0.35 TN

2501

High Speed GMLAN Serial Data Bus (-)

15

--

--

Not Used

16

0.35 RD/WH

1040

Battery Positive Voltage

Digital Radio Receiver


Object Number: 850856  Size: CH

Connector Part Information

  • OEM: 15394150
  • Service: 15394150
  • Description: 16-Way F Micro 64 Unsealed (BK)

Terminal Part Information

  • Terminal/Tray: 15359541/4
  • Core/Insulation Crimp: M/M
  • Release Tool/Test Probe: 15381651-2/J-35616-64B (L-BU)

Digital Radio Receiver

Pin

Wire

Circuit

Function

1

--

--

Not Used

2

0.35 BN/WH

367

Left Audio Signal

3

0.35 D-GN/WH

368

Right Audio Signal

4-8

--

--

Not Used

9

0.5 BK/WH

651

Ground

10

0.35 TN/WH

372

Audio Common

11

0.35

814

Drain

12-14

--

--

Not Used

15

0.35 L-BU

5781

Class 2 Serial Data

16

0.5 RD/WH

740

Battery Positive Voltage

Distance Sensing Cruise Control (DSCC) Module (Adaptive Cruise)


Object Number: 1856154  Size: CH

Connector Part Information

  • OEM: 12185289
  • Service: 88988932
  • Description: 30-Way F (BG)

Terminal Part Information

  • Terminal/Tray: 1411560-2/25
  • Core/Insulation Crimp: E/C
  • Release Tool/Test Probe: 12094429/J-35616-64B (L-BU)

Distance Sensing Cruise Control (DSCC) Module (Adaptive Cruise)

Pin

Wire

Circuit

Function

1

--

--

Not Used

2

0.35 L-GN/BK

6432

CAN Bus (-)

3

0.35 TN/WH

6433

CAN Bus (+)

4-7

--

--

Not Used

8

0.35 TN

2501

High Speed GMLAN Serial Data Bus (-)

9

0.35 TN/BK

2500

High Speed GMLAN Serial Data Bus (+)

10-11

--

--

Not Used

12

0.35 BK

750

Ground

13

--

--

Not Used

14

0.35 PK

1039

Ignition 1 Voltage

15

0.35 RD/WH

340

Battery Positive Voltage

16-22

--

--

Not Used

23

0.35 TN

2501

High Speed GMLAN Serial Data Bus (-)

24

0.35 TN/BK

2500

High Speed GMLAN Serial Data Bus (+)

25-30

--

--

Not Used

Door Courtesy Lamp - Driver


Object Number: 1362565  Size: CH

Connector Part Information

  • OEM: 12124891
  • Service: 89046632
  • Description: 2-Way F (BK)

Terminal Part Information

  • Terminal/Tray: 1438232-4/24
  • Core/Insulation Crimp: E/2
  • Release Tool/Test Probe: 12094429/J-35616-33 YE

Door Courtesy Lamp - Driver

Pin

Wire

Circuit

Function

1

0.35 L-GN

5116

Courtesy Lamps Supply Voltage

2

0.35 BK

1450

Ground

Door Courtesy Lamp - Passenger


Object Number: 1362565  Size: CH

Connector Part Information

  • OEM: 12124891
  • Service: 89046632
  • Description: 2-Way F (BK)

Terminal Part Information

  • Terminal/Tray: 1438232-4/24
  • Core/Insulation Crimp: E/2
  • Release Tool/Test Probe: 12094429/J-35616-33 YE

Door Courtesy Lamp - Passenger

Pin

Wire

Circuit

Function

1

0.35 D-BU

5117

Courtesy Lamps Supply Voltage

2

0.35 BK

1550

Ground

Door Handle Switch - Driver Exterior


Object Number: 38608  Size: CH

Connector Part Information

  • OEM: 12162190
  • Service: 12126487
  • Description: 4-Way F Metri-Pack 150.2 Series Sealed, Pull To Seat (BK)

Terminal Part Information

  • Terminal/Tray: 12124075/5
  • Core/Insulation Crimp: E/C
  • Release Tool/Test Probe: 12180559-1/J-35616-2A (GY)

Door Handle Switch - Driver Exterior

Pin

Wire

Circuit

Function

A

0.35 L-GN

394

Left Front Exterior Door Handle Switch Signal

B

--

--

Not Used

C

0.35 BK

1450

Ground

D

0.35 D-BU

5882

Left Front Exterior Door Handle Switch Signal

Door Handle Switch - Driver Interior


Object Number: 646420  Size: CH

Connector Part Information

  • OEM: 15332135
  • Service: 15306414
  • Description: 4-Way F GT 150 Series (BK)

Terminal Part Information

  • Terminal/Tray: 12124075/5
  • Core/Insulation Crimp: E/C
  • Release Tool/Test Probe: 12180559-1/J-35616-2A (GY)

Door Handle Switch - Driver Interior

Pin

Wire

Circuit

Function

A

0.35 BK

1450

Ground

B

0.35 OG

5880

Left Front Interior Door Handle Switch Signal

C

0.35 BN

5881

Left Front Interior Door Handle Switch Signal

D

0.35 GY

1359

LCD Backlighting Lamp Control

Door Handle Switch - Passenger Exterior


Object Number: 38608  Size: CH

Connector Part Information

  • OEM: 12162190
  • Service: 12126487
  • Description: 4-Way F Metri-Pack 150.2 Series Sealed, Pull To Seat (BK)

Terminal Part Information

  • Terminal/Tray: 12124075/5
  • Core/Insulation Crimp: E/C
  • Release Tool/Test Probe: 12180559-1/J-35616-2A (GY)

Door Handle Switch - Passenger Exterior

Pin

Wire

Circuit

Function

A

0.35 L-BU

395

Right Front Exterior Door Handle Switch Signal

B

--

--

Not Used

C

0.35 BK

1550

Ground

D

0.35 PK

5879

Right Front Door Handle Switch - Exterior Signal

Door Handle Switch - Passenger Interior


Object Number: 646420  Size: CH

Connector Part Information

  • OEM: 15332135
  • Service: 15306414
  • Description: 4-Way F GT 150 Series (BK)

Terminal Part Information

  • Terminal/Tray: 12124075/5
  • Core/Insulation Crimp: E/C
  • Release Tool/Test Probe: 12180559-1/J-35616-2A (GY)

Door Handle Switch - Passenger Interior

Pin

Wire

Circuit

Function

A

0.35 BK

1550

Ground

B

0.35 PU

5877

Right Front Interior Door Handle Switch Signal

C

0.35 GY

5878

Right Front Door Handle Switch - Interior Signal

D

0.35 GY

1359

LCD Backlighting Lamp Control

Door Latch - Driver


Object Number: 845631  Size: CH

Connector Part Information

  • OEM: 10768367
  • Service: 88952463
  • Description: 10-Way F Sealed (BK)

Terminal Part Information

  • Terminal/Tray: 964274-2/16
  • Core/Insulation Crimp: E/1
  • Release Tool/Test Probe: J-38125-560/J-35616-33 (YE)

Door Latch - Driver

Pin

Wire

Circuit

Function

1

0.5 BN

5131

Deadbolt Lock Control (Europe)

2

0.5 D-GN

5664

Deadbolt Unlock Control (Europe)

3

0.8 TN

694

Driver Door Latch Control

4

0.8 L-GN/BK

5703

Driver Door Latch Enable Control

5

--

--

Not Used

6

0.35 GY/BK

745

Left Front Door Ajar Switch Signal

7

0.35 TN

126

Left Front Door Open Switch Signal

8

0.5 BK

1150

Ground

9-10

--

--

Not Used

Door Latch - Passenger


Object Number: 845631  Size: CH

Connector Part Information

  • OEM: 10768367
  • Service: 88952463
  • Description: 10-Way F Sealed (BK)

Terminal Part Information

  • Terminal/Tray: 964274-2/16
  • Core/Insulation Crimp: E/1
  • Release Tool/Test Probe: J-38125-560/J-35616-33 (YE)

Door Latch - Passenger

Pin

Wire

Circuit

Function

1

0.35 TN/WH

746

Right Front Door Ajar Switch Signal

2

0.35 L-GN

1177

Right Front Door Open Switch Signal

3

0.35 BK

750

Ground

4-5

--

--

Not Used

6

0.5 BN

5131

Deadbolt Lock Control (Europe)

7

0.5 D-GN

5664

Deadbolt Unlock Control (Europe)

8

0.8 TN

294

Front Passenger Door Latch Control

9

0.8 D-BU

5876

Front Passenger Door Latch Enable Control

10

--

--

Not Used

Door Lock Indicator - Driver


Object Number: 258301  Size: CH

Connector Part Information

  • OEM: 15428725
  • Service: 12085481
  • Description: 2-Way M Micro-Pack 100 Series (BK)

Terminal Part Information

  • Terminal/Tray: 12047581/2
  • Core/Insulation Crimp: E/C
  • Release Tool/Test Probe: 12094429/J-35616-3 (GY)

Door Lock Indicator - Driver

Pin

Wire

Circuit

Function

A

0.35 PU/WH

5965

Driver Lock Indicator Voltage

B

0.35 BK

1450

Ground

Door Lock Indicator - Passenger


Object Number: 258301  Size: CH

Connector Part Information

  • OEM: 15428725
  • Service: 12085481
  • Description: 2-Way M Micro-Pack 100 Series (BK)

Terminal Part Information

  • Terminal/Tray: 12047581/2
  • Core/Insulation Crimp: E/C
  • Release Tool/Test Probe: 12094429/J-35616-3 (GY)

Door Lock Indicator - Passenger

Pin

Wire

Circuit

Function

A

0.35 PU/WH

5967

Passenger Door Lock Indicator Voltage

B

0.35 BK

1550

Ground

Door Lock Switch - Driver


Object Number: 130714  Size: CH

Connector Part Information

  • OEM: 12124997
  • Service: 12167130
  • Description: 5-Way F Micro-Pack 100 Series (BK)

Terminal Part Information

  • Terminal/Tray: 12103359/18
  • Core/Insulation Crimp: E/C
  • Release Tool/Test Probe: 12094429/J-35616-2A (GY)

Door Lock Switch - Driver

Pin

Wire

Circuit

Function

A

0.35 GY

1359

LCD Backlighting Lamp Control

B

--

--

Not Used

C

0.35 BK

1450

Ground

D

0.35 OG

780

Driver Door Lock Switch Lock Signal

E

0.35 OG/BK

781

Driver Door Lock Switch Unlock Signal

Door Lock Switch - Passenger


Object Number: 130714  Size: CH

Connector Part Information

  • OEM: 12124997
  • Service: 12167130
  • Description: 5-Way F Micro-Pack 100 Series (BK)

Terminal Part Information

  • Terminal/Tray: 12103359/18
  • Core/Insulation Crimp: E/C
  • Release Tool/Test Probe: 12094429/J-35616-2A (GY)

Door Lock Switch - Passenger

Pin

Wire

Circuit

Function

A

0.35 GY

1359

LCD Backlighting Lamp Control

B

--

--

Not Used

C

0.35 BK

1550

Ground

D

0.35 L-BU

244

Passenger Door Lock Switch Lock Control

E

0.35 D-BU

245

Passenger Door Lock Switch Unlock Control

Driver Door Module (DDM)


Object Number: 1362568  Size: CH

Connector Part Information

  • OEM: 15398932
  • Service: 88953333
  • Description: 29-Way F (BK)

Terminal Part Information

  • Pins: 10, 20
  • Terminal/Tray: 4-964273-1/15
  • Core/Insulation Crimp: C/5
  • Release Tool/Test Probe: 12093647/J-35616-4A (PU)
  • Pins: 1-6, 11-13, 19, 21-26, 29
  • Terminal/Tray: 4-969005-1/16
  • Core/Insulation Crimp: E/1
  • Release Tool/Test Probe: J-38125-560/J-35616-33 (YE)

Driver Door Module (DDM)

Pin

Wire

Circuit

Function

1

0.35 L-GN

89

Driver Mirror Motor Down Control

2

0.35 WH

81

Driver Mirror Motor Right Control

3

0.35 L-BU

82

Driver Mirror Motor Left Control

4

0.35 GY

788

5-Volt Reference

5

0.35 GY/BK

786

Driver Mirror Horizontal Position Sensor Signal

6

0.35 D-GN

784

Driver Mirror Vertical Position Sensor Signal

7-9

--

--

Not Used

10

2 BK

1450

Ground

11

0.35 YE

88

Driver Mirror Motor Up Control

12

0.35 OG

267

Heated Mirror Element Supply Voltage

13

0.35 L-GN

5116

Courtesy Lamps Supply Voltage

14-18

--

--

Not Used

19

0.35 BN

1046

DDM Class 2 Serial Data

20

2 RD/WH

1440

Battery Positive Voltage

21

0.5 BN

5131

Deadbolt Lock Control (Europe)

22

0.5 D-GN

5664

Deadbolt Unlock Control (Europe)

23

0.35 GY

1359

LCD Backlighting Lamp Control

24

0.35 PU/WH

5965

Driver Lock Indicator Voltage

25

0.35 D-BU

5882

Left Front Exterior Door Handle Switch Signal

26

0.35 BN

5881

Left Front Interior Door Handle Switch Signal

27-28

--

--

Not Used

29

0.35 TN

782

Low Reference

Driver Information Center (DIC) Switch


Object Number: 258245  Size: CH

Connector Part Information

  • OEM: 12065872
  • Service: 12101845
  • Description: 7-Way F Micro-Pack 100 Series (GY)

Terminal Part Information

  • Terminal/Tray: See Terminal Repair Kit
  • Core/Insulation Crimp: See Terminal Repair Kit
  • Release Tool/Test Probe: See Terminal Repair Kit

Driver Information Center (DIC) Switch

Pin

Wire

Circuit

Function

1

0.35 YE

--

DIC Information Up Switch Signal

2

0.35 BU

--

Instrument Panel Lamps Supply Voltage

3

GN

--

DIC Information Down Switch Signal

4

0.35 WH

--

Dome Lamp Switch Signal

5

0.35 OG

--

DIC Options Switch Signal

6

0.35 BN

--

DIC Reset Switch Signal

7

0.35 GY

--

Ground

Electronic Brake Control Module (EBCM)


Object Number: 1283867  Size: CH

Connector Part Information

  • OEM: 15410622
  • Service: 88953397
  • Description: 27-Way F Hybrid Connection System, GT 150 280 Metri-Pack, 630 Micro-Pack, and 064 Series, Sealed (BK)

Terminal Part Information

  • Pins: A, B
  • Terminal/Tray: 15305232/23
  • Core/Insulation Crimp: B/3
  • Release Tool/Test Probe: J-38125-11A/J-35616-42 (RD)
  • Pins: C, G, H
  • Terminal/Tray: 12191819/8
  • Core/Insulation Crimp: E/A
  • Release Tool/Test Probe: 15315247/J-35616-2A (GY)
  • Pins: A1-A8, B9-B14, C6-C10
  • Terminal/Tray: 15359541/4
  • Core/Insulation Crimp: M/M
  • Release Tool/Test Probe: 15381651-2/J-35616-64B (L-BU)
  • Pins: E
  • Terminal/Tray: 15304720/19
  • Core/Insulation Crimp: 4/5
  • Release Tool/Test Probe: 15315247/J-35616-4A (PU)
  • Pins: F
  • Terminal/Tray: 15304719/19
  • Core/Insulation Crimp: 2/5
  • Release Tool/Test Probe: 15315247/J-35616-4A (PU)

Electronic Brake Control Module (EBCM)

Pin

Wire

Circuit

Function

A

5 RD/BK

1442

Battery Positive Voltage

B

5 RD/BK

1442

Battery Positive Voltage

C

0.35 PK

1339

Ignition 1 Voltage

D

--

--

Not Used

E

3 BK/WH

251

Ground

F

1 BK/WH

251

Ground

G

0.35 WH

1294

Variable Effort Steering Actuator Supply Voltage

H

0.35 BN

1295

Variable Effort Steering Actuator Control

A1

0.35 L-BU

830

Left Front Wheel Speed Sensor Signal

A2

0.35 YE

873

Low Reference

A3

0.35 D-GN

872

Right Front Wheel Speed Sensor Signal

A4

0.35 TN

833

Low Reference

A5

0.35 TN

884

Left Rear Wheel Speed Sensor Signal

A6

0.35 OG

885

Low Reference

A7

0.35 BN

882

Right Rear Wheel Speed Sensor Signal

A8

0.35 WH

883

Low Reference

A9-A14

--

--

Not Used

B1-B8

--

--

Not Used

B9

0.35 TN

2501

High Speed GMLAN Serial Data Bus (-)

B10

0.35 TN

2501

High Speed GMLAN Serial Data Bus (-)

B11

0.35 TN/BK

2500

High Speed GMLAN Serial Data Bus (+)

B12

0.35 TN/BK

2500

High Speed GMLAN Serial Data Bus (+)

B13

0.35 L-BU

2088

Low Reference

B14

0.35 D-GN

2087

5-Volt Reference

C1-C5

--

--

Not Used

C6

0.35 L-BU

1764

Steering Wheel Position Signal B

C7

0.35 L-GN

1763

Steering Wheel Position Signal A

C8

0.35 D-BU

716

Yaw Rate Sensor Signal

C9

0.35 L-GN/BK

1338

Lateral Accelerometer Signal

C10

0.35 PU

5002

Brake Fluid Pressure Sensor Signal

C11-C14

--

--

Not Used

Electronic Suspension Control (ESC) Module


Object Number: 1457400  Size: CH

Connector Part Information

  • OEM: 15489815
  • Service: 89047158
  • Description: 48-Way F Drad (BK)

Terminal Part Information

  • Pins: 1, 2
  • Terminal/Tray: 60040441/21
  • Core/Insulation Crimp: 4/5
  • Release Tool/Test Probe: 12093647/J-35616-40 (BU)
  • Pins: 3, 4, 13-19, 21, 22, 27-34, 39, 40, 45-48
  • Terminal/Tray: 60000631/21
  • Core/Insulation Crimp: 2/1
  • Release Tool/Test Probe: 15314260/J-35616-2A (GY)

Electronic Suspension Control (ESC) Module

Pin

Wire

Circuit

Function

1

1 RD/WH

2840

Battery Positive Voltage

2

2 BK

1050

Ground

3

0.8 L-BU/WH

1116

RF Damper Control

4

0.8 D-BU/WH

1114

LR Damper Control

5-12

--

--

Not Used

13

0.8 L-GN/WH

1216

RR Suspension Position Sensor Signal

14

0.8 L-GN/WH

1210

LR Suspension Position Sensor Signal

15

0.8 TN/WH

1213

RF Suspension Position Sensor Signal

16

0.8 TN/WH

1207

LF Suspension Position Sensor Signal

17

0.8 L-BU/WH

1107

LF Damper Control

18

0.8 D-BU/WH

1118

RR Damper Control

19

0.8 PK

1339

Ignition 1 Voltage

20

--

--

Not Used

21

0.5 TN/BK

2500

High Speed GMLAN Serial Data Bus +

22

0.5 TN/BK

2500

High Speed GMLAN Serial Data Bus +

23-26

--

--

Not Used

27

0.8 OG/BK

1214

RR Suspension Position Sensor Voltage Reference

28

0.8 OG/BK

1208

LR Suspension Position Sensor Voltage Reference

29

0.8 PU/WH

1211

RF Suspension Position Sensor Voltage Reference

30

0.8 PU/WH

1205

LF Suspension Position Sensor Voltage Reference

31

0.8 GY

1113

Low Reference

32

0.8 GY

1117

Low Reference

33

0.8 D-GN

1115

Low Reference

34

0.8 D-GN

1119

Low Reference

35-38

--

--

Not Used

39

0.5 TN

2501

High Speed GMLAN Serial Data Bus -

40

0.5 TN

2501

High Speed GMLAN Serial Data Bus -

41-44

--

--

Not Used

45

0.8 L-GN/BK

1215

Low Reference

46

0.8 L-GN/BK

1209

Low Reference

47

0.8 L-BU/BK

1212

Low Reference

48

0.8 L-BU/BK

1206

Low Reference

Engine Control Module (ECM) - X1


Object Number: 1673474  Size: CH

Connector Part Information

  • OEM: 15499497
  • Service: 88988373
  • Description: 56-Way F MA123 Series, Sealed (BU)

Terminal Part Information

  • Pins: 7, 12, 13, 18, 25, 33, 35-37, 39, 40, 46, 47, 49, 53, 56
  • Terminal/Tray: 33467-0003/23
  • Core/Insulation Crimp: H/H
  • Release Tool/Test Probe: J-38125-213/J-35616-64B (L-BU)
  • Pins: 9, 19, 20, 34, 44, 45, 48, 55
  • Terminal/Tray: 33467-0005/23
  • Core/Insulation Crimp: Pins 9, 19, 34, 44, 45, 48, 55 - J/J
  • Core/Insulation Crimp: Pins 20 - K/K
  • Release Tool/Test Probe: J-38125-213/J-35616-64B (L-BU)

Engine Control Module (ECM) - X1

Pin

Wire

Circuit

Function

1-6

--

--

Not Used

7

0.35 WH

17

Stop Lamp Switch Signal

8

--

--

Not Used

9

0.5 TN

808

Low Reference

10-11

--

--

Not Used

12

0.35 BN/WH

419

MIL Control

13

0.35 D-GN/WH

465

Fuel Pump Relay Control

14-17

--

--

Not Used

18

0.35 YE

43

Accessory Voltage

19

0.5 PK

1439

Ignition 1 Voltage

20

0.8 RD/WH

2440

Battery Positive Voltage

21-24

--

--

Not Used

25

0.35 WH

121

Engine Speed Signal

26-32

--

--

Not Used

33

0.35 WH/BK

1164

5-Volt Reference - 2

34

0.5 GY

2709

5-Volt Reference - 1

35

0.35 TN

1274

5-Volt Reference - 1

36

0.35 BN

1271

Low Reference

37

0.35 PU

1272

Low Reference

38

--

--

Not Used

39

0.35 D-GN/WH

817

Vehicle Speed Signal

40

0.35 WH/BK

448

Ignition 1 Relay Control

41-43

--

--

Not Used

44

0.5 D-BU

1936

Fuel Level Sensor - Primary

45

0.5 L-BU

1937

Fuel Level Sensor - Secondary

46

0.35 BN

7123

SCIAP Sensor Signal (LC3)

47

0.35 D-BU

1161

APP Sensor 1 Signal

48

0.5 D-GN

890

Fuel Tank Pressure Sensor Signal

49

0.35 L-BU

1162

APP Sensor 2 Signal

50-52

--

--

Not Used

53

0.35 D-GN/WH

459

A/C Compressor Clutch Relay Control

54

--

--

Not Used

55

0.5 WH

1310

EVAP Canister Vent Solenoid Control

56

0.35 YE/BK

625

Starter Enable Relay Control

Engine Control Module (ECM) - X2


Object Number: 1590596  Size: CH

Connector Part Information

  • OEM: 15499466
  • Service: 88988360
  • Description: 73-Way F 0.64 2.8 Series, Sealed (BK)

Terminal Part Information

  • Pins: 1-5, 11-13, 15, 17-19, 28, 30, 31, 33-35, 46, 47, 50, 51, 53-55, 68, 69
  • Terminal/Tray: 33467-0005/23
  • Core/Insulation Crimp: J/J
  • Release Tool/Test Probe: J-38125-213/J-35616-64B (L-BU)
  • Pins: 6-9, 14, 16, 20-25, 27, 29, 32, 36-45, 48, 49, 52, 56-60, 62-67, 70-72
  • Terminal/Tray: 33467-0003/23
  • Core/Insulation Crimp: H/H
  • Release Tool/Test Probe: J-38125-213/J-35616-64B (L-BU)
  • Pins: 73
  • Terminal/Tray: 7116-4152-02/9
  • Core/Insulation Crimp: 2/5
  • Release Tool/Test Probe: 12094430/J-35616-35 (VT)

Engine Control Module (ECM) - X2

Pin

Wire

Circuit

Function

1

0.5 PU

2121

IC1 Control

2

0.5 TN/WH

3111

HO2S Low Reference Bank 1 Sensor 1

3

0.5 PU/WH

3110

HO2S Reference Voltage Bank 1 Sensor 1

4

0.5 PU

3120

HO2S Reference Voltage Bank 1 Sensor 2

5

0.5 TN/WH

3121

HO2S Low Reference Bank 1 Sensor 2

6

0.35 L-BU

1876

KS 2 Signal

7

0.35 GY

2303

KS 2 Signal

8

0.35 D-BU

496

KS 1 Signal

9

0.35 GY

1716

KS 1 Signal

10

--

--

Not Used

11

0.5 YE

581

TAC Motor Control - 1

12

0.5 BN

582

TAC Motor Control - 2

13

0.5 PK

439

Ignition 1 Voltage (LC3)

0.35 PK

439

Ignition 1 Voltage (LH2)

14

0.35 PK/BK

6395

CMP Actuator Solenoid Control Bank 1 Intake

15

0.5 TN/BK

6397

CMP Actuator Solenoid Control Bank 2 Intake

16

0.35 D-BU/WH

878

Fuel Injector 8 Control

17

0.5 OG/WH

2122

IC 2 Control

18

0.5 L-BU/WH

2126

IC 6 Control

19

0.5 BN/WH

2130

Low Reference

20

0.35 PU

6267

Low Reference

21

0.35 TN

6268

Low Reference

22

0.35 WH

6269

Low Reference

23

0.35 BN

6266

Low Reference

24

0.35 BK

2755

Low Reference

25

0.35 D-GN

7125

Low Reference (LC3)

26

--

--

Not Used

27

0.35 GY/BK

6272

Low Reference

28

0.5 PK

439

Ignition 1 Voltage

29

0.35 TN

2752

Low Reference

30

0.5 BN/WH

6754

Low Reference

31

0.5 D-BU/WH

6756

Low Reference

32

0.35 PK/BK

1746

Fuel Injector 3 Control

33

0.5 OG

2127

IC 7 Control

34

0.5 D-GN

2125

IC 5 Control

35

0.5 BN

2129

Low Reference

36

0.35 D-GN

6457

5-Volt Reference - 1

37

0.35 OG

6260

5-Volt Reference - 1

38

0.35 PK

6261

5-Volt Reference - 1

39

0.35 D-BU

6259

5-Volt Reference - 1

40

0.35 GY

2705

5-Volt Reference - 1

41

0.35 YE/BK

7124

5-Volt Reference - 2 (LC3)

42

0.35 TN

2760

Low Reference

43

0.35 PU/WH

6270

5-Volt Reference - 2

44

0.35 GY

2701

5-Volt Reference - 2

45

0.35 BN

6273

Low Reference (LC3)

46

0.5 BN

6753

Low Reference

47

0.5 D-BU

6755

Low Reference

48

0.35 L-GN/BK

1745

Fuel Injector 2 Control

49

0.35 TN/WH

845

Fuel Injector 5 Control

50

0.5 WH/BK

6396

CMP Actuator Solenoid Control Bank 1 Exhaust

51

0.5 GY/BK

6394

CMP Actuator Solenoid Control Bank 2 Exhaust

52

0.35 L-BU/BK

844

Fuel Injector 4 Control

53

0.5 L-BU

2123

IC 3 Control

54

0.5 D-GN/WH

2124

IC 4 Control

55

0.5 PU/WH

2128

IC 8 Control

56

0.35 D-GN/WH

6264

CMP Sensor Signal Bank 1 Exhaust

57

0.35 OG/BK

6263

CMP Sensor Signal Bank 2 Intake

58

0.35 PK/BK

6262

CMP Sensor Signal Bank 2 Exhaust

59

0.35 D-BU/WH

6265

CMP Sensor Signal Bank 1 Intake

60

0.35 TN/WH

331

Oil Pressure Sensor Signal

61

--

--

Not Used

62

0.35 TN/BK

472

IAT Sensor Signal

63

0.35 WH/BK

6271

CKP Sensor Signal

64

0.35 D-GN

485

TP Sensor 1 Signal

65

0.35 D-GN/WH

357

Engine Oil Temperature Sensor (LC3)

66

0.35 PU

486

TP Sensor 2 Signal

67

0.35 YE

492

MAF Sensor Signal

68

0.5 GY/WH

3113

HO2S Heater Low Control Bank 1 Sensor 1

69

0.5 GY/WH

3122

HO2S Heater Low Control Bank 1 Sensor 2

70

0.35 YE/BK

846

Fuel Injector 6 Control

71

0.35 OG/BK

877

Fuel Injector 7 Control

72

0.35 TN

1744

Fuel Injector 1 Control

73

2 BK/WH

451

Ground

Engine Control Module (ECM) - X3


Object Number: 1673472  Size: CH

Connector Part Information

  • OEM: 15499942
  • Service: 88988372
  • Description: 73-Way F MX123 34566 Series, Sealed (GY)

Terminal Part Information

  • Pins: 3, 4, 5, 6, 14, 15, 50
  • Terminal/Tray: 33467-0005/23
  • Core/Insulation Crimp: J/J
  • Release Tool/Test Probe: J-38125-213/J-35616-64B (L-BU)
  • Pins: 7, 16, 18, 21, 22, 23, 29, 33, 34, 35, 37, 38, 39, 46, 48, 49, 53, 55, 56, 57, 58, 59
  • Terminal/Tray: 33467-0003/23
  • Core/Insulation Crimp: H/H
  • Release Tool/Test Probe: J-38125-213/J-35616-64B (L-BU)
  • Pins: 73
  • Terminal/Tray: 7116-4152-02/9
  • Core/Insulation Crimp: 2/5
  • Release Tool/Test Probe: 12094430/J-35616-35 (VT)

Engine Control Module (ECM) - X3

Pin

Wire

Circuit

Function

1-2

--

--

Not Used

3

0.5 TN/WH

3211

HO2S Low Reference Bank 2 Sensor 1

4

0.5 PU/WH

3210

HO2S Reference Voltage Bank 2 Sensor 1

5

0.5 PU

3220

HO2S Reference Voltage Bank 2 Sensor 2

6

0.5 TN

3221

HO2S Low Reference Bank 2 Sensor 2

7

0.35 OG

225

Generator Turn On Signal

8-13

--

--

Not Used

14

0.5 L-BU

7126

Super Charger Vacuum Bypass Valve Control (LC3)

15

0.5 L-GN

3212

HO2S Heater Low Control Bank 2 Sensor 1

16

0.35 PK

2014

Coolant Pump Relay Control (LC3)

17

--

--

Not Used

18

0.35 BN

1174

Oil Level Switch Signal

19-20

--

--

Not Used

21

0.35 BK/WH

2751

Low Reference

22

0.35 OG/BK

6014

Low Reference (LC3)

23

0.35 OG/BK

469

Low Reference

24-28

--

--

Not Used

29

0.35 GY

23

Generator Field Duty Cycle Signal

30-32

--

--

Not Used

33

0.35 TN

2501

High Speed GMLAN Serial Data BUS -

34

0.35 YE/BK

6120

Low Reference (LC3)

35

0.35 TN

2761

Low Reference

36

--

--

Not Used

37

0.35 GY

2700

5-Volt Reference - 1

38

0.35 WH/BK

2932

5-Volt Reference - 2 (LC3)

39

0.35 GY

2704

5-Volt Reference - 2

40-45

--

--

Not Used

46

0.35 OG/BK

1786

Park/Neutral Signal

47

--

--

Not Used

48

0.35 D-GN/WH

428

EVAP Canister Purge Solenoid Control

49

0.35 D-GN

335

Cooling Fan Speed Control

50

0.5 OG/BK

3223

HO2S Heater Low Control Bank 2 Sensor 2

51-52

--

--

Not Used

53

0.35 TN/BK

2500

High Speed GMLAN Serial Data Bus +

54

--

--

Not Used

55

0.35 YE

410

ECT Sensor Signal

56

0.35 L-BU

6118

IAT 2 Signal (LC3)

57

0.35 OG/BK

380

A/C Refrigerant Pressure Sensor Signal

58

0.35 GY/BK

433

BARO Sensor Signal (LC3)

59

0.35 L-GN

432

MAP Sensor Signal

60-72

--

--

Not Used

73

2 BK/WH

451

Ground

Engine Coolant Level Switch


Object Number: 635009  Size: CH

Connector Part Information

  • OEM: 12052641
  • Service: 12102747
  • Description: 2-Way F Metri-Pack 150 Series (BK)

Terminal Part Information

  • Terminal/Tray: 12048074/2
  • Core/Insulation Crimp: E/A
  • Release Tool/Test Probe: 12094429/J-35616-2A (GY)

Engine Coolant Level Switch

Pin

Wire

Circuit

Function

A

0.35 YE/BK

68

Low Coolant Level Indicator Control

B

0.35 BK

1350

Ground

Engine Coolant Temperature (ECT) Sensor (LC3)


Object Number: 1468493  Size: CH

Connector Part Information

  • OEM: 15449028
  • Service: 88987993
  • Description: 2-Way F GT 150 Series Sealed (BK)

Terminal Part Information

  • Terminal/Tray: 15326267/19
  • Core/Insulation Crimp: E/4
  • Release Tool/Test Probe: 15315247/J-35616-2A (GY)

Engine Coolant Temperature (ECT) Sensor (LC3)

Pin

Wire

Circuit

Function

A

0.35 YE

410

ECT Sensor Signal

B

0.35 TN

2761

Low Reference

Engine Coolant Temperature (ECT) Sensor (LH2)


Object Number: 655692  Size: CH

Connector Part Information

  • OEM: 12162195
  • Service: 88987993
  • Description: 2-Way F Metri-Pack 150.2 Series, Sealed, Pull To Seat (BK)

Terminal Part Information

  • Terminal/Tray: 12124075/5
  • Core/Insulation Crimp: E/C
  • Release Tool/Test Probe: 12180559-1/J-35616-2A (GY)

Engine Coolant Temperature (ECT) Sensor (LH2)

Pin

Wire

Circuit

Function

A

0.35 YE

410

ECT Sensor Signal

B

0.35 TN

2761

Low Reference

Engine Oil Level Switch (LH2)


Object Number: 635009  Size: CH

Connector Part Information

  • OEM: 12052641
  • Service: 12102747
  • Description: 2-Way F Metri-Pack 150 Series (BK)

Terminal Part Information

  • Terminal/Tray: 12048074/2
  • Core/Insulation Crimp: E/1
  • Release Tool/Test Probe: 12094429/J-35616-2A (GY)

Engine Oil Level Switch (LH2)

Pin

Wire

Circuit

Function

A

0.35 BN

1174

Oil Level Switch Signal

B

0.35 BK

1250

Ground

Engine Oil Level and Temperature Sensor (LC3)


Object Number: 646415  Size: CH

Connector Part Information

  • OEM: 15326808
  • Service: 15326808
  • Description: 3-Way F Metri-Pack 150 Series (BK)

Terminal Part Information

  • Terminal/Tray: 12191819/8
  • Core/Insulation Crimp: E/A
  • Release Tool/Test Probe: 15315247/J-35616-2A (GY)

Engine Oil Level and Temperature Sensor (LC3)

Pin

Wire

Circuit

Function

A

0.35 BN

1174

Oil Level Switch Signal

B

0.5 D-GN/WH

357

Oil Temperature Sensor Signal

C

0.5 BN

6273

Low Reference

Engine Oil Pressure (EOP) Sensor


Object Number: 646409  Size: CH

Connector Part Information

  • OEM: 15336121
  • Service: 88953362
  • Description: 3-Way F GT 150 Series Sealed (BK)

Terminal Part Information

  • Terminal/Tray: 15326267/19
  • Core/Insulation Crimp: E/4
  • Release Tool/Test Probe: 15315247/J-35616-2A (GY)

Engine Oil Pressure (EOP) Sensor

Pin

Wire

Circuit

Function

A

0.35 BK

2755

Low Reference

B

0.35 TN/WH

331

Oil Pressure Sensor Signal

C

0.35 GY

2705

5-Volt Reference - 1

Evaporative Emission (EVAP) Canister Purge Solenoid Valve


Object Number: 684829  Size: CH

Connector Part Information

  • OEM: 12124037
  • Service: 12101858
  • Description: 2-Way F Metri-Pack 150 Series, Sealed (BK)

Terminal Part Information

  • Terminal/Tray: 12048074/2
  • Core/Insulation Crimp: E/1
  • Release Tool/Test Probe: 12094429/J-35616-2A (GY)

Evaporative Emission (EVAP) Canister Purge Solenoid Valve

Pin

Wire

Circuit

Function

A

0.5 PK

539

Ignition 1 Voltage

B

0.35 D-GN/WH

428

EVAP Canister Purge Solenoid Control

Evaporative Emission (EVAP) Canister Vent Solenoid Valve


Object Number: 684795  Size: CH

Connector Part Information

  • OEM: 12052643
  • Service: 12101858
  • Description: 2-Way F Metri-Pack 150 Series Sealed (RD)

Terminal Part Information

  • Terminal/Tray: 12048074/2
  • Core/Insulation Crimp: Pins A - 2/1
  • Core/Insulation Crimp: Pins B - E/1
  • Release Tool/Test Probe: 12094429/J-35616-2A (GY)

Evaporative Emission (EVAP) Canister Vent Solenoid Valve

Pin

Wire

Circuit

Function

A

1 RD/WH

2840

Battery Positive Voltage

B

0.35 WH

1310

EVAP Canister Vent Solenoid Control

Exhaust Tail Pipe Flow Control Valve Solenoid (LC3)


Object Number: 1405759  Size: CH

Connector Part Information

  • OEM: 12131678
  • Service: 89046833
  • Description: 2-Way F Mini-Timer Series (BK)

Terminal Part Information

  • Terminal/Tray: 60012941/21
  • Core/Insulation Crimp: See Terminal Repair Kit
  • Release Tool/Test Probe: 12122378/J-35616-4A (PU)

Exhaust Tail Pipe Flow Control Valve Solenoid (LC3)

Pin

Wire

Circuit

Function

1

0.5 BK

1150

Ground

2

0.5 TN/WH

1962

Exhaust Valve Solenoid Supply

Exhaust Tail Pipe Flow Valve Control Module X1 (LC3)


Object Number: 130637  Size: CH

Connector Part Information

  • OEM: 12064760
  • Service: 12085208
  • Description: 4-Way F Metri-Pack 150 Series (BK)

Terminal Part Information

  • Terminal/Tray: 12064971/5
  • Core/Insulation Crimp: E/C
  • Release Tool/Test Probe: 12094429/J-35616-2A (GY)

Exhaust Tail Pipe Flow Valve Control Module X1 (LC3)

Pin

Wire

Circuit

Function

A-B

--

--

Not Used

C

0.5 TN/WH

1962

Exhaust Valve Solenoid Supply

D

--

--

Not Used

Exhaust Tail Pipe Flow Valve Control Module X2 (LC3)


Object Number: 1391782  Size: CH

Connector Part Information

  • OEM: 12196605
  • Service: 88953352
  • Description: 8-Way F 070 Series (WH)

Terminal Part Information

  • Terminal/Tray: 173630-7/7
  • Core/Insulation Crimp: E/4
  • Release Tool/Test Probe: 15315247/J-35616-33 (YE)

Exhaust Tail Pipe Flow Valve Control Module X2 (LC3)

Pin

Wire

Circuit

Function

1

--

--

Not Used

2

0.5 RD/WH

1240

Battery Positive Voltage

3

--

--

Not Used

4

0.5 BK

1150

Ground

5-6

--

--

Not Used

7

0.35 L-GN/BK

1098

Class 2 Serial Data

8

--

--

Not Used

Fan Control Module


Object Number: 1593361  Size: CH

Connector Part Information

  • OEM: 9440194
  • Service: See Catalog
  • Description: 7-Way F (BK)

Terminal Part Information

  • Terminal/Tray: See Terminal Repair Kit
  • Core/Insulation Crimp: See Terminal Repair Kit
  • Release Tool/Test Probe: See Terminal Repair Kit

Fan Control Module

Pin

Wire

Circuit

Function

1

5 BK

--

Cooling Fan Low Reference

2

5 BK

1250

Ground

3

5 RD

342

Battery Positive Voltage

4

5 RD

--

Cooling Fan Motor Supply Voltage

5

--

--

Not Used

6

0.35 RD/OG

335

Cooling Fan Speed Control

7

--

--

Not Used

Fog Lamp - Left Front


Object Number: 684797  Size: CH

Connector Part Information

  • OEM: 12059183
  • Service: 12101898
  • Description: 2-Way F Metri-Pack 280 Series Sealed (BK)

Terminal Part Information

  • Terminal/Tray: 12077411/2
  • Core/Insulation Crimp: 2/5
  • Release Tool/Test Probe: 12094430/J-35616-4A (PU)

Fog Lamp - Left Front

Pin

Wire

Circuit

Function

A

0.5 PU

34

Fog Lamps Supply Voltage

B

0.35 BK

1350

Ground

Fog Lamp - Left Rear (Europe)


Object Number: 655692  Size: CH

Connector Part Information

  • OEM: 12162193
  • Service: 88987183
  • Description: 2-Way F Metri-Pack 150.2 Series Sealed, Pull To Seat (BK)

Terminal Part Information

  • Terminal/Tray: See Terminal Repair Kit
  • Core/Insulation Crimp: See Terminal Repair Kit
  • Release Tool/Test Probe: See Terminal Repair Kit

Fog Lamp - Left Rear (Europe)

Pin

Wire

Circuit

Function

A

0.8 BK

1150

Ground

B

0.8 OG

122

Rear Fog Lamp Supply Voltage

Fog Lamp - Right Front


Object Number: 684797  Size: CH

Connector Part Information

  • OEM: 12059183
  • Service: 12101898
  • Description: 2-Way F Metri-Pack 280 Series Sealed (BK)

Terminal Part Information

  • Terminal/Tray: 12077411/2
  • Core/Insulation Crimp: 2/5
  • Release Tool/Test Probe: 12094430/J-35616-4A (PU)

Fog Lamp - Right Front

Pin

Wire

Circuit

Function

A

0.5 PU

34

Fog Lamps Supply Voltage

B

0.35 BK

1250

Ground

Fog Lamp - Right Rear (Europe)


Object Number: 655692  Size: CH

Connector Part Information

  • OEM: 12162193
  • Service: 88987183
  • Description: 2-Way F Metri-Pack 150.2 Series Sealed, Pull To Seat (BK)

Terminal Part Information

  • Terminal/Tray: See Terminal Repair Kit
  • Core/Insulation Crimp: See Terminal Repair Kit
  • Release Tool/Test Probe: See Terminal Repair Kit

Fog Lamp - Right Rear (Europe)

Pin

Wire

Circuit

Function

A

0.8 BK

1150

Ground

B

0.8 OG

122

Rear Fog Lamp Supply Voltage

Folding Top Control Module X1


Object Number: 808706  Size: CH

Connector Part Information

  • OEM: 12064749
  • Service: 12101888
  • Description: 2-Way F Metri-Pack 480 Series (BK)

Terminal Part Information

  • Terminal/Tray: 12084595/2
  • Core/Insulation Crimp: F/G
  • Release Tool/Test Probe: 12094430/J-35616-40 (BU)

Folding Top Control Module X1

Pin

Wire

Circuit

Function

A

3 RD/BK

642

Battery Positive Voltage

B

3 BK

1150

Ground

Folding Top Control Module X2


Object Number: 73157  Size: CH

Connector Part Information

  • OEM: 12110114
  • Service: 12110114
  • Description: 32-Way F Micro-Pack 100 Series (WH)

Terminal Part Information

  • Terminal/Tray: 12146447/3
  • Core/Insulation Crimp: E/C
  • Release Tool/Test Probe: 12031876-1/J-35616-6 (BN)

Folding Top Control Module X2

Pin

Wire

Circuit

Function

C1

0.5 OG

138

Rear Compartment Lid Release/Close Switch Signal

C2

0.5 PK

5960

Trunk latch Clear Switch Signal

C3

0.5 PU

5936

Rear Compartment Lid Open Switch Signal

C4

--

--

Not Used

C5

0.5 GY/BK

896

Hard Top Connected Signal

C6

0.5 WH

5937

Header Latched Switch Signal

C7

0.5 BN

5935

Header Unlatched Switch Signal

C8-C11

--

--

Not Used

C12

0.5 L-GN

5744

Luggage Barrier Switch Signal

C13

0.35 GY

474

5-Volt Reference

C14

--

--

Not Used

C15

0.35 TN

407

Low Reference

C16

0.35 TN/WH

476

Thermal Sensor Signal

D1

0.5 OG

5933

Folding Top Position Sensor Signal

D2

0.35 L-GN

5934

Front Tonneau Position Sensor Signal

D3

0.35 D-BU

5742

Rear Tonneau Position Sensor Signal

D4-D8

--

--

Not Used

D9

0.35 L-GN

2166

Folding Top Control Switch Open Signal

D10

0.35 D-BU

2167

Folding Top Control Switch Close Signal

D11

0.5 YE

743

Accessory Voltage

D12-D13

--

--

Not Used

D14

0.35 PU

5513

Class 2 Serial Data

D15-D16

--

--

Not Used

Folding Top Control Module X3


Object Number: 283847  Size: CH

Connector Part Information

  • OEM: 12129431
  • Service: 12129431
  • Description: 16-Way F Metri-Pack 280 Series, ACT (BK)

Terminal Part Information

  • Terminal/Tray: 12186456/5
  • Core/Insulation Crimp: F/G
  • Release Tool/Test Probe: 12094429/J-35616-4A (PU)

Folding Top Control Module X3

Pin

Wire

Circuit

Function

A

3 TN

123

Valve 1 Control

B-E

--

--

Not Used

F

3 BN

5932

Valve 5 Control

G-L

--

--

Not Used

M

3 D-BU

5949

Pump Direction A Control

N

3 GY

2169

Valve 3 Control

P

3 L-GN

5948

Pump Direction B Control

R

3 TN/WH

56

Valve 4 Control

S

3 L-BU

124

Valve 2 Control

Folding Top Control Switch


Object Number: 535620  Size: CH

Connector Part Information

  • OEM: 12066189
  • Service: 12102636
  • Description: 4-Way F Micro-Pack 100 Series (WH)

Terminal Part Information

  • Terminal/Tray: 12146447/3
  • Core/Insulation Crimp: E/C
  • Release Tool/Test Probe: 12031876-1/J-35616-6 (BN)

Folding Top Control Switch

Pin

Wire

Circuit

Function

1

0.35 L-GN

2166

Folding Top Control Switch Open Signal

2

0.35 D-BU

2167

Folding Top Control Switch Close Signal

3

0.35 BN

1244

Instrument Panel Lamps Dimming Control

4

0.35 RD/WH

440

Battery Positive Voltage

Folding Top Front Latch Position Switch - Latched


Object Number: 35451  Size: CH

Connector Part Information

  • OEM: 12059251
  • Service: 12101848
  • Description: 2-Way F Metri-Pack 150 Series (RD)

Terminal Part Information

  • Terminal/Tray: 12064971/5
  • Core/Insulation Crimp: E/C
  • Release Tool/Test Probe: 12094429/J-35616-14 (GN)

Folding Top Front Latch Position Switch - Latched

Pin

Wire

Circuit

Function

A

0.5 WH

5937

Header Latched Switch Signal

B

0.5 YE

743

Accessory Voltage

Folding Top Front Latch Position Switch - Unlatched


Object Number: 646421  Size: CH

Connector Part Information

  • OEM: 12059253
  • Service: 12125690
  • Description: 2-Way F Metri-Pack 150 Series (L-GN)

Terminal Part Information

  • Terminal/Tray: 12064971/5
  • Core/Insulation Crimp: E/C
  • Release Tool/Test Probe: 12094429/J-35616-14 (GN)

Folding Top Front Latch Position Switch - Unlatched

Pin

Wire

Circuit

Function

A

0.5 BN

5935

Header Unlatched Switch Signal

B

0.5 YE

743

Accessory Voltage

Folding Top Front Locating Pin Position Switch


Object Number: 258301  Size: CH

Connector Part Information

  • OEM: 12059254
  • Service: 12126020
  • Description: 2-Way M Metri-Pack 150 Series (GN)

Terminal Part Information

  • Terminal/Tray: 12047581/2
  • Core/Insulation Crimp: E/C
  • Release Tool/Test Probe: 12094429/J-35616-3 (GY)

Folding Top Front Locating Pin Position Switch

Pin

Wire

Circuit

Function

A

0.5 GY/BK

896

Hard Top Connected Signal

B

0.5 YE

743

Accessory Voltage

Folding Top Position Sensor


Object Number: 333035  Size: CH

Connector Part Information

  • OEM: 12047781
  • Service: 12101864
  • Description: 3-Way F Metri-Pack 150 Series (BK)

Terminal Part Information

  • Terminal/Tray: 12064971/5
  • Core/Insulation Crimp: E/C
  • Release Tool/Test Probe: 12094429/J-35616-14 (GN)

Folding Top Position Sensor

Pin

Wire

Circuit

Function

A

0.5 TN

407

Low Reference

B

0.5 OG

5933

Folding Top Position Sensor Signal

C

0.35 GY

474

5-Volt Reference

Folding Top Stowage Compartment Front Panel Position Sensor


Object Number: 333035  Size: CH

Connector Part Information

  • OEM: 12047781
  • Service: 12101864
  • Description: 3-Way F Metri-Pack 150 Series (BK)

Terminal Part Information

  • Terminal/Tray: 12064971/5
  • Core/Insulation Crimp: E/C
  • Release Tool/Test Probe: 12094429/J-35616-14 (GN)

Folding Top Stowage Compartment Front Panel Position Sensor

Pin

Wire

Circuit

Function

A

0.35 GY

474

5-Volt Reference

B

0.35 L-GN

5934

Front Tonneau Position Sensor Signal

C

0.35 TN

407

Low Reference

Folding Top Stowage Compartment Rear Panel Position Sensor


Object Number: 333035  Size: CH

Connector Part Information

  • OEM: 12047781
  • Service: 12101864
  • Description: 3-Way F Metri-Pack 150 Series (BK)

Terminal Part Information

  • Terminal/Tray: 12064971/5
  • Core/Insulation Crimp: E/C
  • Release Tool/Test Probe: 12094429/J-35616-2A (GY)

Folding Top Stowage Compartment Rear Panel Position Sensor

Pin

Wire

Circuit

Function

A

0.35 GY

474

5-Volt Reference

B

0.5 D-BU

5742

Rear Tonneau Position Sensor Signal

C

0.5 TN

407

Low Reference

Front Passenger Door Module (FPDM)


Object Number: 1362568  Size: CH

Connector Part Information

  • OEM: 15398932
  • Service: 88953333
  • Description: 29-Way F (BK)

Terminal Part Information

  • Pins: 10, 20
  • Terminal/Tray: 4-964273-1/15
  • Core/Insulation Crimp: C/5
  • Release Tool/Test Probe: 12093647/J-35616-4A (PU)
  • Pins: 1-8, 11-16, 19, 21-26, 29
  • Terminal/Tray: 4-969005-1/16
  • Core/Insulation Crimp: E/1
  • Release Tool/Test Probe: J-38125-560/J-35616-33 (YE)

Front Passenger Door Module (FPDM)

Pin

Wire

Circuit

Function

1

0.5 L-BU

5023

Folding Mirror Motor Retract Control (Export)

2

0.35 OG

267

Heated Mirror Element Supply Voltage

3

0.5 YE

5004

Folding Mirror Motor Extend Control (Export)

4

0.35 GY

1359

LCD Backlighting Lamp Control

5

0.35 L-BU/BK

785

Passenger Mirror Horizontal Position Sensor Signal

6

0.35 BN

787

Passenger Mirror Vertical Position Sensor Signal

7

0.35 TN

1300

Power Window Motor Front Passenger Up Signal

8

0.35 GY

1136

Power Window Motor Front Passenger Down Signal

9

--

--

Not Used

10

2 BK

1550

Ground

11

0.35 GY

90

Passenger Mirror Motor Left Control

12

0.35 L-GN

89

Passenger Mirror Motor Down Control

13

0.35 BN/WH

1498

Passenger Mirror Motor Up Control

14

0.35 L-BU

244

Passenger Door Lock Switch Lock Control

15

0.35 D-BU

245

Passenger Door Lock Switch Unlock Control

16

0.35 PU

2765

Power Window Switch Right Front Express Signal

17-18

--

--

Not Used

19

0.35 TN

1047

PDM Class 2 Serial Data

20

2 RD/WH

1440

Battery Positive Voltage

21

0.35 OG/WH

881

Passenger Mirror Motor Right Control

22

0.35 GY

788

5-Volt Reference

23

0.35 D-BU

5117

Courtesy Lamps Supply Voltage

24

0.35 PU/WH

5967

Passenger Door Lock Indicator Voltage

25

0.35 PK

5879

Right Front Door Handle Switch - Exterior Signal

26

0.35 GY

5878

Right Front Door Handle Switch - Interior Signal

27-28

--

--

Not Used

29

0.35 TN

782

Low Reference

Fuel Door Release Actuator


Object Number: 808706  Size: CH

Connector Part Information

  • OEM: 12064749
  • Service: 12101888
  • Description: 2-Way F Metri-Pack 480 Series (BK)

Terminal Part Information

  • Terminal/Tray: 12124304/2
  • Core/Insulation Crimp: A/B
  • Release Tool/Test Probe: 12094430/J-35616-40 (BU)

Fuel Door Release Actuator

Pin

Wire

Circuit

Function

A

2 PK

79

Fuel Door Release Solenoid Supply Voltage

B

2 BK

1150

Ground

Fuel Door Release Switch


Object Number: 39660  Size: CH

Connector Part Information

  • OEM: 12047785
  • Service: 12102900
  • Description: 4-Way F Metri-Pack 150 Series (BK)

Terminal Part Information

  • Terminal/Tray: 12064971/5
  • Core/Insulation Crimp: E/C
  • Release Tool/Test Probe: 12094429/J-35616-2A (GY)

Fuel Door Release Switch

Pin

Wire

Circuit

Function

A

0.35 BK

1450

Ground

B

0.35 BK

1450

Ground

C

0.35 BN/WH

230

Instrument Panel Lamps Dimming Control

D

0.35 WH

93

Fuel Door Release Relay Control

Fuel Injector 1


Object Number: 1527729  Size: CH

Connector Part Information

  • OEM: 15419715
  • Service: 88988313
  • Description: 2-Way F (GY)

Terminal Part Information

  • Terminal/Tray: 12191819/8
  • Core/Insulation Crimp: E/A
  • Release Tool/Test Probe: 15315247/J-35616-2A (GY)

Fuel Injector 1

Pin

Wire

Circuit

Function

A

0.5 PK

39

Ignition 1 Voltage

B

0.35 TN

1744

Fuel Injector 1 Control

Fuel Injector 2


Object Number: 1527729  Size: CH

Connector Part Information

  • OEM: 15419715
  • Service: 88988313
  • Description: 2-Way F (GY)

Terminal Part Information

  • Terminal/Tray: 12191819/8
  • Core/Insulation Crimp: E/A
  • Release Tool/Test Probe: 15315247/J-35616-2A (GY)

Fuel Injector 2

Pin

Wire

Circuit

Function

A

0.5 PK

139

Ignition 1 Voltage

B

0.35 L-GN/BK

1745

Fuel Injector 2 Control

Fuel Injector 3


Object Number: 1527729  Size: CH

Connector Part Information

  • OEM: 15419715
  • Service: 88988313
  • Description: 2-Way F (GY)

Terminal Part Information

  • Terminal/Tray: 12191819/8
  • Core/Insulation Crimp: E/A
  • Release Tool/Test Probe: 15315247/J-35616-2A (GY)

Fuel Injector 3

Pin

Wire

Circuit

Function

A

0.5 PK

39

Ignition 1 Voltage

B

0.35 PK/BK

1746

Fuel Injector 3 Control

Fuel Injector 4


Object Number: 1527729  Size: CH

Connector Part Information

  • OEM: 15419715
  • Service: 88988313
  • Description: 2-Way F (GY)

Terminal Part Information

  • Terminal/Tray: 12191819/8
  • Core/Insulation Crimp: E/A
  • Release Tool/Test Probe: 15315247/J-35616-2A (GY)

Fuel Injector 4

Pin

Wire

Circuit

Function

A

0.5 PK

139

Ignition 1 Voltage

B

0.35 L-BU/BK

844

Fuel Injector 4 Control

Fuel Injector 5


Object Number: 1527729  Size: CH

Connector Part Information

  • OEM: 15419715
  • Service: 88988313
  • Description: 2-Way F (GY)

Terminal Part Information

  • Terminal/Tray: 12191819/8
  • Core/Insulation Crimp: E/A
  • Release Tool/Test Probe: 15315247/J-35616-2A (GY)

Fuel Injector 5

Pin

Wire

Circuit

Function

A

0.5 PK

39

Ignition 1 Voltage

B

0.35 TN/WH

845

Fuel Injector 5 Control

Fuel Injector 6


Object Number: 1527729  Size: CH

Connector Part Information

  • OEM: 15419715
  • Service: 88988313
  • Description: 2-Way F (GY)

Terminal Part Information

  • Terminal/Tray: 12191819/8
  • Core/Insulation Crimp: E/A
  • Release Tool/Test Probe: 15315247/J-35616-2A (GY)

Fuel Injector 6

Pin

Wire

Circuit

Function

A

0.5 PK

139

Ignition 1 Voltage

B

0.35 YE/BK

846

Fuel Injector 6 Control

Fuel Injector 7


Object Number: 1527729  Size: CH

Connector Part Information

  • OEM: 15419715
  • Service: 88988313
  • Description: 2-Way F (GY)

Terminal Part Information

  • Terminal/Tray: 12191819/8
  • Core/Insulation Crimp: E/A
  • Release Tool/Test Probe: 15315247/J-35616-2A (GY)

Fuel Injector 7

Pin

Wire

Circuit

Function

A

0.5 PK

39

Ignition 1 Voltage

B

0.35 OG/BK

877

Fuel Injector 7 Control

Fuel Injector 8


Object Number: 1527729  Size: CH

Connector Part Information

  • OEM: 15419715
  • Service: 88988313
  • Description: 2-Way F (GY)

Terminal Part Information

  • Terminal/Tray: 12191819/8
  • Core/Insulation Crimp: E/A
  • Release Tool/Test Probe: 15315247/J-35616-2A (GY)

Fuel Injector 8

Pin

Wire

Circuit

Function

A

0.5 PK

139

Ignition 1 Voltage

B

0.35 D-BU/WH

878

Fuel Injector 8 Control

Fuel Level Sensor


Object Number: 697003  Size: CH

Connector Part Information

  • OEM: 15324862
  • Service: 15306441
  • Description: 4-Way F Metri-Pack 150.2 Series (BK)

Terminal Part Information

  • Terminal/Tray: 54001800/22
  • Core/Insulation Crimp: 2/4
  • Release Tool/Test Probe: 12094429/J-35616-4A (PU)

Fuel Level Sensor

Pin

Wire

Circuit

Function

1

0.5 L-BU

1937

Fuel Level Sensor Signal - Secondary

2

--

--

Not Used

3

0.5 BK/WH

850

Ground

4

0.5 BK

808

Low Reference

Fuel Pump and Sender Assembly


Object Number: 697003  Size: CH

Connector Part Information

  • OEM: 15324862
  • Service: 15306441
  • Description: 4-Way F Metri-Pack 150.2 Series (BK)

Terminal Part Information

  • Pins: 1, 4
  • Terminal/Tray: 54001800/2
  • Core/Insulation Crimp: 2/4
  • Release Tool/Test Probe: 12094429/J-35616-4A (PU)
  • Pins: 2, 3
  • Terminal/Tray: 54001400/2
  • Core/Insulation Crimp: 2/D
  • Release Tool/Test Probe: 12094429/J-35616-4A (PU)

Fuel Pump and Sender Assembly

Pin

Wire

Circuit

Function

1

0.5 D-BU

1936

Fuel Level Sensor Signal - Primary

2

2 GY

120

Fuel Pump Supply Voltage

3

2 BK

9531

Ground

4

0.5 BK

808

Low Reference

Fuel Tank Pressure (FTP) Sensor


Object Number: 516611  Size: CH

Connector Part Information

  • OEM: 12059595
  • Service: 88986451
  • Description: 3-Way F Metri-Pack 150 Series Sealed (BK)

Terminal Part Information

  • Terminal/Tray: 12048074/2
  • Core/Insulation Crimp: E/1
  • Release Tool/Test Probe: 12094429/J-35616-2A (GY)

Fuel Tank Pressure (FTP) Sensor

Pin

Wire

Circuit

Function

A

0.35 BK

808

Low Reference

B

0.35 D-GN

890

Fuel Tank Pressure Sensor Signal

C

0.35 GY

2709

5-Volt Reference - 1

Garage Door Opener (GDO)


Object Number: 401671  Size: CH

Connector Part Information

  • OEM: 09-01-6038
  • Service: See Catalog
  • Description: 3-Way F.156 Edge Card 2574 Series (WH)

Terminal Part Information

  • Terminal/Tray: See Terminal Repair Kit
  • Core/Insulation Crimp: See Terminal Repair Kit
  • Release Tool/Test Probe: See Terminal Repair Kit

Garage Door Opener (GDO)

Pin

Wire

Circuit

Function

1

0.35 RD

--

Courtesy Lamp Supply Voltage

2

--

--

Not Used

3

0.35 BK

--

Ground

Generator


Object Number: 697046  Size: CH

Connector Part Information

  • OEM: 12186568
  • Service: See Catalog
  • Description: 4-Way F Metri-Pack 150 Series (BK)

Terminal Part Information

  • Terminal/Tray: 12048074/2
  • Core/Insulation Crimp: E/1
  • Release Tool/Test Probe: 12094429/J-35616-2A (GY)

Generator

Pin

Wire

Circuit

Function

A

--

--

Not Used

B

0.35 OG

225

Generator Turn On Signal

C

0.35 GY

23

Generator Field Duty Cycle Signal

D

0.5 RD/WH

2540

Battery Positive Voltage

Hazard Switch


Object Number: 1331436  Size: CH

Connector Part Information

  • OEM: 15364004
  • Service: 88953314
  • Description: 4-Way F (BK)

Terminal Part Information

  • Terminal/Tray: 173681-2/17
  • Core/Insulation Crimp: E/4
  • Release Tool/Test Probe: 15315247/J-35616-16 (L-GN)

Hazard Switch

Pin

Wire

Circuit

Function

1

0.35 TN

2144

Hazard Switch Signal

2

0.35 BK

1450

Ground

3

0.35 GY/BK

1458

Instrument Panel Lamps Supply Voltage 4

4

0.35 BN

27

Hazard Flasher Signal

Head Up Display (HUD)


Object Number: 850857  Size: CH

Connector Part Information

  • OEM: 15341086
  • Service: 12101845
  • Description: 12-Way F Multi-Lock (BK)

Terminal Part Information

  • Terminal/Tray: 173681-2/17
  • Core/Insulation Crimp: E/4
  • Release Tool/Test Probe: 15315247/J-35616-16 (L-GN)

Head Up Display (HUD)

Pin

Wire

Circuit

Function

1

0.5 RD/WH

1140

Battery Positive Voltage

2

--

--

Not Used

3

0.35 BN

2383

HUD Image Up Signal

4

0.35 PK

2384

HUD Image Down Signal

5

--

--

Not Used

6

0.35 YE

1127

HUD Class 2 Serial Data

7-9

--

--

Not Used

10

0.35 BK

1450

Ground

11

0.35 D-GN/WH

817

Vehicle Speed Signal

12

--

--

Not Used

Headlamp Ballast - Left


Object Number: 696988  Size: CH

Connector Part Information

  • OEM: 54200308
  • Service: 88953349
  • Description: 3-Way F (BK)

Terminal Part Information

  • Terminal/Tray: See Terminal Repair Kit
  • Core/Insulation Crimp: See Terminal Repair Kit
  • Release Tool/Test Probe: See Terminal Repair Kit

Headlamp Ballast - Left

Pin

Wire

Circuit

Function

1

--

--

Not Used

2

1 YE

712

Left Headlamp Low Beam Supply Voltage

3

1 BK

1350

Ground

Headlamp Ballast - Right


Object Number: 696988  Size: CH

Connector Part Information

  • OEM: 54200308
  • Service: 88953349
  • Description: 3-Way F (BK)

Terminal Part Information

  • Terminal/Tray: See Terminal Repair Kit
  • Core/Insulation Crimp: See Terminal Repair Kit
  • Release Tool/Test Probe: See Terminal Repair Kit

Headlamp Ballast - Right

Pin

Wire

Circuit

Function

1

--

--

Not Used

2

1 TN/WH

312

Right Headlamp Low Beam Supply Voltage

3

1 BK

1250

Ground

Headlamp - Left High Beam Solenoid


Object Number: 82383  Size: CH

Connector Part Information

  • OEM: 12047662
  • Service: 12085535
  • Description: 2-Way F Metri-Pack 150 Series (BK)

Terminal Part Information

  • Terminal/Tray: See Terminal Repair Kit
  • Core/Insulation Crimp: See Terminal Repair Kit
  • Release Tool/Test Probe: See Terminal Repair Kit

Headlamp - Left High Beam Solenoid

Pin

Wire

Circuit

Function

A

0.8 D-GN

711

Left Headlamp High Beam Supply Voltage

B

0.8 BK

1350

Ground

Headlamp Module (-T90)


Object Number: 651636  Size: CH

Connector Part Information

  • OEM: 12110487
  • Service: See Catalog
  • Description: 36-Way F Micro Pack 100 W Series, Sealed (BK)

Terminal Part Information

  • Terminal/Tray: 12084913/5
  • Core/Insulation Crimp: W/W
  • Release Tool/Test Probe: 12122523/J-35616-6 (BN)

Headlamp Module (-T90)

Pin

Wire

Circuit

Function

1

--

--

Not Used

2

0.35 TN

2501

High Speed GMLAN Data Bus -

3

0.35 TN

2501

High Speed GMLAN Data Bus -

4

0.35 TN/BK

2500

High Speed GMLAN Data Bus +

5

0.35 TN/BK

2500

High Speed GMLAN Data Bus +

6

--

--

Not Used

7

0.35 BK

813

Drain Wire

8

0.35 BK

814

Drain Wire

9

--

--

Not Used

10

0.5 PK

1339

Ignition 1 Voltage

11

0.5 RD/WH

2940

Battery Positive Voltage

12

0.5 BK

1250

Ground

13-18

--

--

Not Used

19

0.35 L-BU

7130

Headlamp Actuator - Left Signal 2

20

0.35 BN

7129

Headlamp Actuator - Left Signal 1

21

0.35 D-GN

7131

Headlamp Actuator - Left Signal 3

22

0.35 GY

7132

Headlamp Actuator - Left Signal 4

23

0.35 TN

7135

Headlamp Actuator - Right Signal 3

24

0.35 YE

7136

Headlamp Actuator - Right Signal 4

25

0.35 PK

7134

Headlamp Actuator - Right Signal 2

26

0.35 OG

7133

Headlamp Actuator - Right Signal 1

27-36

--

--

Not Used

Headlamp - Right High Beam Solenoid


Object Number: 82383  Size: CH

Connector Part Information

  • OEM: 12047662
  • Service: 12085535
  • Description: 2-Way F Metri-Pack 150 Series (BK)

Terminal Part Information

  • Terminal/Tray: See Terminal Repair Kit
  • Core/Insulation Crimp: See Terminal Repair Kit
  • Release Tool/Test Probe: See Terminal Repair Kit

Headlamp - Right High Beam Solenoid

Pin

Wire

Circuit

Function

A

0.8 L-GN

311

Right Headlamp High Beam Supply Voltage

B

0.8 BK

1250

Ground

Headlamp Washer Fluid Pump


Object Number: 684792  Size: CH

Connector Part Information

  • OEM: 12052613
  • Service: 12085212
  • Description: 2-Way F Metri-Pack 480 Series Sealed (BK)

Terminal Part Information

  • Terminal/Tray: 12048451/2
  • Core/Insulation Crimp: F/3
  • Release Tool/Test Probe: 12094430/J-35616-40 (BU)

Headlamp Washer Fluid Pump

Pin

Wire

Circuit

Function

A

1 BK

1350

Ground

B

1 PU

1197

Headlamp Washer Pump Control

Heated Oxygen Sensor (HO2S) - Bank 1 Sensor 1


Object Number: 655691  Size: CH

Connector Part Information

  • OEM: 12146046
  • Service: 15306365
  • Description: 4-Way F (GY)

Terminal Part Information

  • Terminal/Tray: 12048074/2
  • Core/Insulation Crimp: E/1
  • Release Tool/Test Probe: 12094429/J-35616-2A (GY)

Heated Oxygen Sensor (HO2S) - Bank 1 Sensor 1

Pin

Wire

Circuit

Function

A

0.5 TN/WH

3111

HO2S Low Reference Bank 1 Sensor 1

B

0.5 PU/WH

3110

HO2S Reference Voltage Bank 1 Sensor 1

C

--

--

Not Available

D

0.5 PK

339

Ignition 1 Voltage

E

0.5 GY/WH

3113

HO2S Heater Low Control Bank 1 Sensor 1

Heated Oxygen Sensor (HO2S) - Bank 1 Sensor 2


Object Number: 280761  Size: CH

Connector Part Information

  • OEM: 12160825
  • Service: 15305801
  • Description: 4-Way M Metri-Pack 150 Series (BK)

Terminal Part Information

  • Terminal/Tray: 12045773/2
  • Core/Insulation Crimp: E/1
  • Release Tool/Test Probe: 12094429/J-35616-2A (GY)

Heated Oxygen Sensor (HO2S) - Bank 1 Sensor 2

Pin

Wire

Circuit

Function

A

0.5 TN/WH

3121

HO2S Low Reference Bank 1 Sensor 2

B

0.5 PU

3120

HO2S Reference Voltage Bank 1 Sensor 2

C

0.5 GY/WH

3122

HO2S Heater Low Control Bank 1 Sensor 2

D

0.5 PK

339

Ignition 1 Voltage

Heated Oxygen Sensor (HO2S) - Bank 2 Sensor 1


Object Number: 655691  Size: CH

Connector Part Information

  • OEM: 12146046
  • Service: 15306365
  • Description: 5-Way F (GY)

Terminal Part Information

  • Terminal/Tray: 12048074/2
  • Core/Insulation Crimp: E/1
  • Release Tool/Test Probe: 12094429/J-35616-2A (GY)

Heated Oxygen Sensor (HO2S) - Bank 2 Sensor 1

Pin

Wire

Circuit

Function

A

0.5 TN/WH

3211

HO2S Low Reference Bank 2 Sensor 1

B

0.5 PU/WH

3210

HO2S Reference Voltage Bank 2 Sensor 1

C

--

--

Unavailable

D

0.5 PK

339

Ignition 1 Voltage

E

0.5 L-GN

3212

HO2S Heater Low Control Bank 2 Sensor 1

Heated Oxygen Sensor (HO2S) - Bank 2 Sensor 2


Object Number: 280761  Size: CH

Connector Part Information

  • OEM: 12160825
  • Service: 15305801
  • Description: 4-Way M Metri-Pack 150 Series, Sealed (BK)

Terminal Part Information

  • Terminal/Tray: 12045773/2
  • Core/Insulation Crimp: E/1
  • Release Tool/Test Probe: 12094429/J-35616-2A (GY)

Heated Oxygen Sensor (HO2S) - Bank 2 Sensor 2

Pin

Wire

Circuit

Function

A

0.5 TN

3221

HO2S Low Reference Bank 2 Sensor 2

B

0.5 PU

3220

HO2S Reference Voltage Bank 2 Sensor 2

C

0.5 OG/BK

3223

HO2S Heater Low Control Bank 2 Sensor 2

D

0.5 PK

339

Ignition 1 Voltage

Hood Ajar Switch (UA2)


Object Number: 635009  Size: CH

Connector Part Information

  • OEM: 12052641
  • Service: 12102747
  • Description: 2-Way F Metri-Pack 150 Series (BK)

Terminal Part Information

  • Terminal/Tray: 12048074/2
  • Core/Insulation Crimp: E/1
  • Release Tool/Test Probe: 12094429/J-35616-2A (GY)

Hood Ajar Switch (UA2)

Pin

Wire

Circuit

Function

A

0.35 PK/BK

109

Hood Ajar Switch Signal (UA2)

B

0.35 BK

1250

Ground (UA2)

Horn Assembly


Object Number: 603098  Size: CH

Connector Part Information

  • OEM: 15355226
  • Service: 89046636
  • Description: 2-Way F Metri-Pack 150 Series (BK)

Terminal Part Information

  • Terminal/Tray: 12176636/19
  • Core/Insulation Crimp: C/1
  • Release Tool/Test Probe: 12094429/J-35616-2A (GY)

Horn Assembly

Pin

Wire

Circuit

Function

A

0.5 BK

1250

Ground

B

0.8 D-GN

29

Horn Control

HVAC Control Module X1


Object Number: 744296  Size: CH

Connector Part Information

  • OEM: 12110259
  • Service: 12110259
  • Description: 16-Way F Micro-Pack 100 Series (GN)

Terminal Part Information

  • Terminal/Tray: 12146447/3
  • Core/Insulation Crimp: E/C
  • Release Tool/Test Probe: 12031876-1/J-35616-6 (BN)

HVAC Control Module X1

Pin

Wire

Circuit

Function

A1

0.5 BK

1550

Ground

A2

0.35 WH

1038

HVAC Class 2 Serial Data

A3-A6

--

--

Not Used

A7

0.35 D-GN

734

Inside Air Temperature Sensor Signal

A8

0.35 TN

517

Upper Right Air Temperature Sensor Signal

B1

0.35 YE

61

Low Reference

B2

0.35 D-BU/WH

1355

Valet Mode Switch Signal

B3

0.35 YE/BK

68

Low Coolant Level Indicator Control

B4

0.35 L-GN/BK

735

Ambient Air Temperature Sensor Signal

B5

0.35 L-BU/BK

590

Driver Sunload Sensor Signal

B6

0.35 GY

1548

Passenger Sunload Sensor Signal

B7

0.35 WH

278

Ambient Light Sensor Signal

B8

0.35 TN

516

Upper Left Air Temperature Sensor Signal

HVAC Control Module X2


Object Number: 744295  Size: CH

Connector Part Information

  • OEM: 12084944
  • Service: 12084944
  • Description: 16-Way F Micro-Pack 100 Series (BK)

Terminal Part Information

  • Terminal/Tray: 12146447/3
  • Core/Insulation Crimp: E/C
  • Release Tool/Test Probe: 12031876-1/J-35616-6 (BN)

HVAC Control Module X2

Pin

Wire

Circuit

Function

A1

0.35 WH

193

Rear Defog Relay Control

A2

0.35 BN

1244

Instrument Panel Lamps Dimming Control

A3

0.35 L-GN

5962

Inside Air Temperature Sensor Blower Control

A4-A6

--

--

Not Used

A7

0.35 PK

639

Ignition 1 Voltage

A8

0.5 RD/WH

1240

Battery Positive Voltage

B1

0.35 GY/BK

1458

Instrument Panel Lamp Supply Voltage 4

B2

0.35 GY/BK

1357

Instrument Panel Lamp Control

B3

0.35 GY/BK

754

Blower Motor Speed Control

B4

0.35 PK/BK

1503

HVAC Heated/Cool Seat Mode Signal

B5

0.35 PK

1501

HVAC Heated/Cool Seat Mode Signal

B6-B8

--

--

Not Used

HVAC Control Module X3


Object Number: 73152  Size: CH

Connector Part Information

  • OEM: 12084945
  • Service: 12084945
  • Description: 16-Way F Micro-Pack 100 Series (GY)

Terminal Part Information

  • Terminal/Tray: 12146647/3
  • Core/Insulation Crimp: E/C
  • Release Tool/Test Probe: 12031876-1/J-35616-6 (BN)

HVAC Control Module X3

Pin

Wire

Circuit

Function

A1

0.35 D-BU/WH

1199

Left Air Temperature Door Control A

A2

0.35 WH/BK

1236

Right Air Temperature Door Control A

A3

0.35 L-GN/BK

1647

Recirculation Door Control A

A4

0.35 TN

2273

Mode Door Control A

A5

0.35 BN

718

Low Reference

A6

0.35 TN

518

Lower Left Air Temperature Sensor Signal

A7

0.35 GY

720

Low Reference

A8

0.35 TN/BK

520

Lower Right Air Temperature Sensor Signal

B1

0.35 YE

1791

Left Air Temperature Door Control B

B2

0.35 D-BU

1646

Right Air Temperature Door Control B

B3

0.35 PK/WH

1648

Recirculation Door Control B

B4

0.35 L-GN

2275

Mode Door Control B

B5-B8

--

--

Not Used

Ignition Coil 1


Object Number: 1401799  Size: CH

Connector Part Information

  • OEM: 15366040
  • Service: See Catalog
  • Description: 4-Way F GT 150 (BK)

Terminal Part Information

  • Terminal/Tray: See Terminal Repair Kit
  • Core/Insulation Crimp: See Terminal Repair Kit
  • Release Tool/Test Probe: See Terminal Repair Kit

Ignition Coil 1

Pin

Wire

Circuit

Function

A

0.8 PK

39

Ignition 1 Voltage

B

0.8 RD

2127

IC 1 Control

C

0.8 BN

2129

Low Reference

D

0.8 BK

151

Ground

Ignition Coil 2


Object Number: 1401799  Size: CH

Connector Part Information

  • OEM: 15366040
  • Service: See Catalog
  • Description: 4-Way F GT 150 (BK)

Terminal Part Information

  • Terminal/Tray: See Terminal Repair Kit
  • Core/Insulation Crimp: See Terminal Repair Kit
  • Release Tool/Test Probe: See Terminal Repair Kit

Ignition Coil 2

Pin

Wire

Circuit

Function

A

0.8 PK

39

Ignition 1 Voltage

B

0.8 PU

2121

IC 2 Control

C

0.8 BN

2129

Low Reference

D

0.8 BK

151

Ground

Ignition Coil 3


Object Number: 1401799  Size: CH

Connector Part Information

  • OEM: 15366040
  • Service: See Catalog
  • Description: 4-Way F GT 150 (BK)

Terminal Part Information

  • Terminal/Tray: See Terminal Repair Kit
  • Core/Insulation Crimp: See Terminal Repair Kit
  • Release Tool/Test Probe: See Terminal Repair Kit

Ignition Coil 3

Pin

Wire

Circuit

Function

A

0.8 PK

39

Ignition 1 Voltage

B

0.8 D-GN

2125

IC 3 Control

C

0.8 BN

2129

Low Reference

D

0.8 BK

151

Ground

Ignition Coil 4


Object Number: 1401799  Size: CH

Connector Part Information

  • OEM: 15366040
  • Service: See Catalog
  • Description: 4-Way F GT 150 (BK)

Terminal Part Information

  • Terminal/Tray: See Terminal Repair Kit
  • Core/Insulation Crimp: See Terminal Repair Kit
  • Release Tool/Test Probe: See Terminal Repair Kit

Ignition Coil 4

Pin

Wire

Circuit

Function

A

0.8 PK

39

Ignition 1 Voltage

B

0.8 L-BU

2123

IC 4 Control

C

0.8 BN

2129

Low Reference

D

0.8 BK

151

Ground

Ignition Coil 5


Object Number: 1401799  Size: CH

Connector Part Information

  • OEM: 15366040
  • Service: See Catalog
  • Description: 4-Way F GT 150 (BK)

Terminal Part Information

  • Terminal/Tray: See Terminal Repair Kit
  • Core/Insulation Crimp: See Terminal Repair Kit
  • Release Tool/Test Probe: See Terminal Repair Kit

Ignition Coil 5

Pin

Wire

Circuit

Function

A

0.8 PK

39

Ignition 1 Voltage

B

0.8 L-BU

2123

IC 5 Control

C

0.8 BN

2129

Low Reference

D

0.8 BK

151

Ground

Ignition Coil 6


Object Number: 1401799  Size: CH

Connector Part Information

  • OEM: 15366040
  • Service: See Catalog
  • Description: 4-Way F GT 150 (BK)

Terminal Part Information

  • Terminal/Tray: See Terminal Repair Kit
  • Core/Insulation Crimp: See Terminal Repair Kit
  • Release Tool/Test Probe: See Terminal Repair Kit

Ignition Coil 6

Pin

Wire

Circuit

Function

A

0.8 PK

39

Ignition 1 Voltage

B

0.8 D-GN

2125

IC 6 Control

C

0.8 BN

2129

Low Reference

D

0.8 BK

151

Ground

Ignition Coil 7


Object Number: 1401799  Size: CH

Connector Part Information

  • OEM: 15366040
  • Service: See Catalog
  • Description: 4-Way F GT 150 (BK)

Terminal Part Information

  • Terminal/Tray: See Terminal Repair Kit
  • Core/Insulation Crimp: See Terminal Repair Kit
  • Release Tool/Test Probe: See Terminal Repair Kit

Ignition Coil 7

Pin

Wire

Circuit

Function

A

0.8 PK

39

Ignition 1 Voltage

B

0.8 PU

2121

IC 7 Control

C

0.8 BN

2129

Low Reference

D

0.8 BK

151

Ground

Ignition Coil 8


Object Number: 1401799  Size: CH

Connector Part Information

  • OEM: 15366040
  • Service: See Catalog
  • Description: 4-Way F GT 150 (BK)

Terminal Part Information

  • Terminal/Tray: See Terminal Repair Kit
  • Core/Insulation Crimp: See Terminal Repair Kit
  • Release Tool/Test Probe: See Terminal Repair Kit

Ignition Coil 8

Pin

Wire

Circuit

Function

A

0.8 PK

39

Ignition 1 Voltage

B

0.8 RD

2127

IC 8 Control

C

0.8 BN

2129

Low Reference

D

0.8 BK

151

Ground

Ignition Mode Switch


Object Number: 62464  Size: CH

Connector Part Information

  • OEM: 12064769
  • Service: 12101762
  • Description: 10-Way F Metri-Pack 150 Series (WH)

Terminal Part Information

  • Terminal/Tray: 12064971/5
  • Core/Insulation Crimp: E/C
  • Release Tool/Test Probe: 12094429/J-35616-2A (GY)

Ignition Mode Switch

Pin

Wire

Circuit

Function

A

0.35 L-BU/WH

5725

RCDLR Ignition Mode Data Signal

B

0.35 D-BU

5719

START Indicator Control

C

0.35 BN/WH

230

Instrument Panel Lamps Dimming Control

D

0.35 BK

1450

Ground

E

0.35 L-GN/WH

5723

BCM Ignition Mode Data Signal

F

0.35 L-GN

5724

BCM Ignition Mode Ground

G

0.35 PK

5722

Ignition Mode Switch Supply Voltage

H

0.35 OG

5721

OFF Indicator Control

J

0.35 L-GN

5720

ACC Indicator Control

K

0.35 L-BU

5726

RCDLR Ignition Mode Ground

Inflatable Restraint Front End Sensor - Left


Object Number: 1282936  Size: CH

Connector Part Information

  • OEM: 15356724
  • Service: 15306418
  • Description: 2-Way F GT 150 Series Sealed (YE)

Terminal Part Information

  • Terminal/Tray: Service with Pigtail
  • Core/Insulation Crimp: See Terminal Repair Kit
  • Release Tool/Test Probe: See Terminal Repair Kit

Inflatable Restraint Front End Sensor - Left

Pin

Wire

Circuit

Function

A

0.35 BK/WH

1851

Front End Sensor - Signal - Left

B

0.35 YE

1834

Front End Sensor - Voltage - Left

Inflatable Restraint Front End Sensor - Right


Object Number: 1282936  Size: CH

Connector Part Information

  • OEM: 15356724
  • Service: 15306418
  • Description: 2-Way F GT 150 Series Sealed (YE)

Terminal Part Information

  • Terminal/Tray: Service with Pigtail
  • Core/Insulation Crimp: See Terminal Repair Kit
  • Release Tool/Test Probe: See Terminal Repair Kit

Inflatable Restraint Front End Sensor - Right

Pin

Wire

Circuit

Function

A

0.35 GY

2260

Front End Sensor - Signal - Right

B

0.35 YE

2160

Front End Sensor - Voltage - Right

Inflatable Restraint Front Passenger Presence System (PPS) Module


Object Number: 1550231  Size: CH

Connector Part Information

  • OEM: 15431682
  • Service: See Catalog
  • Description: 18-Way F (BK)

Terminal Part Information

  • Terminal/Tray: Service with Terminated Lead
  • Core/Insulation Crimp: See Terminal Repair Kit
  • Release Tool/Test Probe: See Terminal Repair Kit

Inflatable Restraint Front Passenger Presence System (PPS) Module

Pin

Wire

Circuit

Function

1

0.35 BK/TN

723

Passenger Air Bag On Indicator Control

2

0.35 BK/PK

353

Passenger Air Bag Off Indicator Control

3

--

--

Not Used

4

0.35 PU

5611

Belt Tension Sensor Signal

5

0.35 BK/WH

1751

Ground

6

0.35 YE

5608

Pressure Sensor Signal

7

0.35 D-GN

5609

Pressure Sensor Voltage Reference

8

--

--

Not Used

9

0.35 PK

739

Ignition 1 Voltage

10-13

--

--

Not Used

14

0.35 TN

5613

Low Reference

15

0.35 GY

5610

Low Reference

16

0.35 L-BU

5612

Belt Tension Sensor Voltage Reference

17

--

--

Not Used

18

0.35 PK

5018

Occupant Sensor - Serial Data

Inflatable Restraint Front Passenger Presence System (PPS) Sensor


Object Number: 1424764  Size: CH

Connector Part Information

  • OEM: 15422250
  • Service: 88987995
  • Description: 3-Way F GT 150 Series (GY)

Terminal Part Information

  • Terminal/Tray: Service with Pigtail
  • Core/Insulation Crimp: See Terminal Repair Kit
  • Release Tool/Test Probe: See Terminal Repair Kit

Inflatable Restraint Front Passenger Presence System (PPS) Sensor

Pin

Wire

Circuit

Function

A

0.35 D-GN

5609

Pressure Sensor Voltage Reference

B

0.35 YE

5608

Pressure Sensor Signal

C

0.35 GY

5610

Low Reference

Inflatable Restraint I/P Module, X1


Object Number: 739643  Size: CH

Connector Part Information

  • OEM: CA-252-92-4-R
  • Service: See Catalog
  • Description: 2-Way F (GY +YE Case)

Terminal Part Information

  • Terminal/Tray: Service with Pigtail
  • Core/Insulation Crimp: See Terminal Repair Kit
  • Release Tool/Test Probe: See Terminal Repair Kit

Inflatable Restraint I/P Module, X1

Pin

Wire

Circuit

Function

1

0.5 YE

3025

I/P Module Stage 1 - High Control

2

0.5 OG

3024

I/P Module Stage 1 - Low Control

Inflatable Restraint I/P Module, X2


Object Number: 739643  Size: CH

Connector Part Information

  • OEM: CA-252-92-5 Q
  • Service: See Catalog
  • Description: 2-Way F (PU +YE Case)

Terminal Part Information

  • Terminal/Tray: Service with Pigtail
  • Core/Insulation Crimp: See Terminal Repair Kit
  • Release Tool/Test Probe: See Terminal Repair Kit

Inflatable Restraint I/P Module, X2

Pin

Wire

Circuit

Function

1

0.5 GY

3027

I/P Module Stage 2 - High Control

2

0.5 PU

3026

I/P Module Stage 2 - Low Control

Inflatable Restraint Seat Belt Tension Sensor - Passenger


Object Number: 646415  Size: CH

Connector Part Information

  • OEM: 15326808
  • Service: See Catalog
  • Description: 3-Way F GT 150 Series Sealed (BK)

Terminal Part Information

  • Terminal/Tray: Service with Pigtail
  • Core/Insulation Crimp: See Terminal Repair Kit
  • Release Tool/Test Probe: See Terminal Repair Kit

Inflatable Restraint Seat Belt Tension Sensor - Passenger

Pin

Wire

Circuit

Function

A

0.35 L-BU

5612

Belt Tension Sensor Voltage Reference

B

0.35 TN

5613

Low Reference

C

0.35 PU

5611

Belt Tension Sensor Signal

Inflatable Restraint Seat Position Sensor - Driver


Object Number: 280768  Size: CH

Connector Part Information

  • OEM: 12052832
  • Service: 12101825
  • Description: 2-Way F Metri-Pack 150 Series (BK)

Terminal Part Information

  • Terminal/Tray: Service with Pigtail
  • Core/Insulation Crimp: See Terminal Repair Kit
  • Release Tool/Test Probe: See Terminal Repair Kit

Inflatable Restraint Seat Position Sensor - Driver

Pin

Wire

Circuit

Function

A

0.35 L-GN

5055

Seat Position Sensor - Left - Signal

B

0.35 PK

5057

Low Reference

Inflatable Restraint Seat Position Sensor - Passenger


Object Number: 280768  Size: CH

Connector Part Information

  • OEM: 12052832
  • Service: 12101825
  • Description: 2-Way F Metri-Pack 150 Series (BK)

Terminal Part Information

  • Terminal/Tray: Service with Pigtail
  • Core/Insulation Crimp: See Terminal Repair Kit
  • Release Tool/Test Probe: See Terminal Repair Kit

Inflatable Restraint Seat Position Sensor - Passenger

Pin

Wire

Circuit

Function

A

0.35 L-BU

5056

Seat Position Sensor - Right - Signal

B

0.35 PK

5057

Low Reference

Inflatable Restraint Sensing and Diagnostic Module (SDM)


Object Number: 697020  Size: CH

Connector Part Information

  • OEM: 15449363
  • Service: See Catalog
  • Description: 42-Way F Micro-Pack 100 W (D-GY)

Terminal Part Information

  • Terminal/Tray: Service with Terminated Lead
  • Core/Insulation Crimp: See Terminal Repair Kit
  • Release Tool/Test Probe: 12122523/J-35616-6 (BN)

Inflatable Restraint Sensing and Diagnostic Module (SDM)

Pin

Wire

Circuit

Function

1

0.5 PK

739

Ignition 1 Voltage

2

0.35 PK

5018

Occupant Sensor - Serial Data

3

0.35 TN/WH

238

Seat Belt Switch Signal - Left

4

0.35 OG

1362

Seat Belt Switch Signal - Right

5

0.35 YE

1834

Front End Sensor - Voltage - Left

6

0.35 YE

2160

Front End Sensor - Voltage - Right

7

0.35 YE

2131

Side Impact Sensing Module Left - Voltage

8

0.35 TN

2133

Side Impact Sensing Module Right - Voltage

9

0.5 YE

3025

I/P Module Stage 1 - High Control

10

0.5 OG

3024

I/P Module Stage 1 - Low Control

11

0.35 PK

5057

Low Reference

12

0.5 BN

3020

Steering Wheel Module - Stage 1 - Low Control

13

0.5 TN

3021

Steering Wheel Module - Stage 1 - High Control

14

0.5 TN/WH

2135

Side Impact Module - RF - High Control

15

0.5 L-GN

2136

Side Impact Module - RF - Low Control

16

0.5 YE/BK

2138

Side Impact Module - LF - Low Control

17

0.5 BN

2137

Side Impact Module - LF - High Control

18-21

--

--

Not Used

22

0.35 D-BU

1128

SDM Class 2 Serial Data

23

--

--

Not Used

24

0.35 L-GN

5055

Seat Position Sensor - Left - Signal

25

0.35 L-BU

5056

Seat Position Sensor - Right - Signal

26

0.35 BK/WH

1851

Front End Sensor - Signal - Left

27

0.35 GY

2260

Front End Sensor - Signal - Right

28

0.35 WH

2132

Side Impact Sensing Module Left - Signal

29

0.35 D-GN

2134

Side Impact Sensing Module Right - Signal

30

0.5 GY

3027

I/P Module Stage 2 - High Control

31

0.5 PU

3026

I/P Module Stage 2 - Low Control

32

0.5 BK/WH

1751

Ground

33

0.5 PK

3022

Steering Wheel Module - Stage 2 - Low Control

34

0.5 WH

3023

Steering Wheel Module Stage 2 - High Control

35

0.5 L-GN

2116

Seat Belt Pretensioner - Right - High Control

36

0.5 OG

2117

Seat Belt Pretensioner - Right - Low Control

37

0.5 OG/BK

2119

Seat Belt Pretensioner - Left - Low Control

38

0.5 TN/WH

2118

Seat Belt Pretensioner - Left - High Control

39-42

--

--

Not Used

Inflatable Restraint Side Impact Module - Left


Object Number: 739643  Size: CH

Connector Part Information

  • OEM: CA-252-92-5 Q
  • Service: See Catalog
  • Description: 2-Way F (YE)

Terminal Part Information

  • Terminal/Tray: Service with Pigtail
  • Core/Insulation Crimp: See Terminal Repair Kit
  • Release Tool/Test Probe: See Terminal Repair Kit

Inflatable Restraint Side Impact Module - Left

Pin

Wire

Circuit

Function

1

0.5 BN

2137

Side Impact Module - LF - High Control

2

0.5 YE/BK

2138

Side Impact Module - LF - Low Control

Inflatable Restraint Side Impact Module - Right


Object Number: 739643  Size: CH

Connector Part Information

  • OEM: CA-252-92-5 Q
  • Service: See Catalog
  • Description: 2-Way F (YE)

Terminal Part Information

  • Terminal/Tray: Service with Pigtail
  • Core/Insulation Crimp: See Terminal Repair Kit
  • Release Tool/Test Probe: See Terminal Repair Kit

Inflatable Restraint Side Impact Module - Right

Pin

Wire

Circuit

Function

1

0.5 TN/WH

2135

Side Impact Module - RF - High Control

2

0.5 L-GN

2136

Side Impact Module - RF - Low Control

Inflatable Restraint Side Impact Sensor (SIS) - Left


Object Number: 744055  Size: CH

Connector Part Information

  • OEM: 15356722
  • Service: 15306405
  • Description: 2-Way F GT 150 Series Sealed (YE)

Terminal Part Information

  • Terminal/Tray: Service with Pigtail
  • Core/Insulation Crimp: See Terminal Repair Kit
  • Release Tool/Test Probe: 15315247/J-35616-2A (GY)

Inflatable Restraint Side Impact Sensor (SIS) - Left

Pin

Wire

Circuit

Function

A

0.35 WH

2132

Side Impact Sensing Module Left - Signal

B

0.35 YE

2131

Side Impact Sensing Module Left - Voltage

Inflatable Restraint Side Impact Sensor (SIS) - Right


Object Number: 744055  Size: CH

Connector Part Information

  • OEM: 15356722
  • Service: 15306405
  • Description: 2-Way F GT 150 Series Sealed (YE)

Terminal Part Information

  • Terminal/Tray: Service with Pigtail
  • Core/Insulation Crimp: See Terminal Repair Kit
  • Release Tool/Test Probe: 15315247/J-35616-2A (GY)

Inflatable Restraint Side Impact Sensor (SIS) - Right

Pin

Wire

Circuit

Function

A

0.35 D-GN

2134

Side Impact Sensing Module Right - Signal

B

0.35 TN

2133

Side Impact Sensing Module Right - Voltage

Inflatable Restraint Steering Wheel Module Coil X1


Object Number: 684931  Size: CH

Connector Part Information

  • OEM: 15336476
  • Service: 15306363
  • Description: 4-Way F Metri-Pack 280 Series (YE)

Terminal Part Information

  • Terminal/Tray: Service with Pigtail
  • Core/Insulation Crimp: See Terminal Repair Kit
  • Release Tool/Test Probe: 12094430/J-35616-5 (PU)

Inflatable Restraint Steering Wheel Module Coil X1

Pin

Wire

Circuit

Function

A1

0.5 TN

3021

Steering Wheel Module - Stage 1 - High Control

A2

0.5 BN

3020

Steering Wheel Module - Stage 1 - Low Control

B1

0.5 WH

3023

Steering Wheel Module - Stage 2 - High Control

B2

0.5 PK

3022

Steering Wheel Module - Stage 2 - Low Control

Inflatable Restraint Steering Wheel Module Coil X2


Object Number: 739643  Size: CH

Connector Part Information

  • OEM: CA-252-92-4-R
  • Service: See Catalog
  • Description: 2-Way F (YE)

Terminal Part Information

  • Terminal/Tray: Service with Pigtail
  • Core/Insulation Crimp: See Terminal Repair Kit
  • Release Tool/Test Probe: See Terminal Repair Kit

Inflatable Restraint Steering Wheel Module Coil X2

Pin

Wire

Circuit

Function

1

0.5 TN

3021

Steering Wheel Module - Stage 1 - High Control

2

0.5 BN

3020

Steering Wheel Module - Stage 1 - Low Control

Inflatable Restraint Steering Wheel Module Coil X3


Object Number: 739646  Size: CH

Connector Part Information

  • OEM: CA-252-92-5-Q
  • Service: See Catalog
  • Description: 2-Way F (YE)

Terminal Part Information

  • Terminal/Tray: Service with Pigtail
  • Core/Insulation Crimp: See Terminal Repair Kit
  • Release Tool/Test Probe: See Terminal Repair Kit

Inflatable Restraint Steering Wheel Module Coil X3

Pin

Wire

Circuit

Function

1

0.5 WH

3023

Steering Wheel Module - Stage 2 - High Control

2

0.5 PK

3022

Steering Wheel Module - Stage 2 - Low Control

Inflatable Restraint Steering Wheel Module Coil X4


Object Number: 808703  Size: CH

Connector Part Information

  • OEM: 12064770
  • Service: See Catalog
  • Description: 10-Way M (CM)

Terminal Part Information

  • Terminal/Tray: Service with Pigtail
  • Core/Insulation Crimp: See Terminal Repair Kit
  • Release Tool/Test Probe: See Terminal Repair Kit

Inflatable Restraint Steering Wheel Module Coil X4

Pin

Wire

Circuit

Function

A

0.35 TN

28

Horn Relay Control

B

0.35 BK

1450

Ground

C

--

--

Not Used

D

0.8 PK

1539

Ignition 1 Voltage

E

1 BK

1450

Ground

F

0.35 YE

1491

Backlight Lamps Control

G

0.35 D-BU

1796

Steering Wheel Controls Signal

H

0.35 PU

1375

Steering Wheel Control Supply Voltage

J

0.35 D-GN/WH

1399

Auxiliary Power Relay Coil Supply Voltage

K

0.35 D-GN

5737

ACC Gap Adjustment Switch Signal

Inflatable Restraint Steering Wheel Module Coil X5


Object Number: 808703  Size: CH

Connector Part Information

  • OEM: 12064770
  • Service: See Catalog
  • Description: 10-Way M (BK)

Terminal Part Information

  • Terminal/Tray: Service with Pigtail
  • Core/Insulation Crimp: See Terminal Repair Kit
  • Release Tool/Test Probe: See Terminal Repair Kit

Inflatable Restraint Steering Wheel Module Coil X5

Pin

Wire

Circuit

Function

A

0.35 TN

--

Horn Relay Control

B

0.35 BK

--

Ground

C

--

--

Not Used

D

0.8 PK

--

Ignition 1 Voltage

E

1 BK

--

Ground

F

0.35 YE

--

Backlight Lamps Control

G

0.35 L-GN

--

Steering Wheel Controls Signal

H

0.35 PU

--

Steering Wheel Control Supply Voltage

J

0.35 WH

--

Auxiliary Power Relay Coil Supply Voltage

K

0.35 TN

--

ACC Gap Adjustment Switch Signal

Inside Rearview Mirror


Object Number: 1564033  Size: CH

Connector Part Information

  • OEM: 15441350
  • Service: 15306351
  • Description: 16-Way F (BK)

Terminal Part Information

  • Terminal/Tray: 15445905/23
  • Core/Insulation Crimp: J/J
  • Release Tool/Test Probe: 12180559/J-35616-6 (BN)

Inside Rearview Mirror

Pin

Wire

Circuit

Function

1

0.35 BK/WH

156

Courtesy Lamp Low Control

2

--

--

Not Used

3

0.35 BK/TN

723

Passenger Air Bag On Indicator Control

4

0.35 BK/PK

353

Passenger Air Bag Off Indicator Control

5

0.35 BK/GY

1690

Automatic Day - Night Mirror Signal

6

0.35 BK/OG

1732

Courtesy Lamps Supply Voltage

7

--

--

Not Used

8

0.35 BK

1550

Ground

9

0.35 BK/L-GN

24

Backup Lamps Supply Voltage

10

--

--

Not Used

11

0.35 BK/L-BU

2514

Keypad Signal (UE1)

12

0.35 BK/L-GN

2515

Keypad Supply Voltage (UE1)

13

0.35 BK/PK

639

Ignition 1 Voltage

14

0.35 BK/YE

2516

Keypad Green LED Signal (UE1)

15

0.35 BK/TN

2517

Keypad Red LED Signal (UE1)

16

0.35 BK/PK

1691

Low Reference

Instrument Panel Cluster (IPC) - X1


Object Number: 62478  Size: CH

Connector Part Information

  • OEM: 12065803
  • Service: 12065803
  • Description: 34-Way F Micro-Pack 100 Series (BK)

Terminal Part Information

  • Terminal/Tray: 12146447/3
  • Core/Insulation Crimp: E/C
  • Release Tool/Test Probe: 12031876-1/J-35616-6 (BN)

Instrument Panel Cluster (IPC) - X1

Pin

Wire

Circuit

Function

A1

0.35 BN/WH

230

Instrument Panel Lamps Dimming Control

A2

0.35 YE

390

Instrument Panel Lamp Supply Voltage 3

A3-A4

--

--

Not Used

A5

0.35 GY

1036

IPC Class 2 Serial Data

A6-A9

--

--

Not Used

A10

0.5 BK

1450

Ground

A11

--

--

Not Used

A12

0.5 RD/WH

1140

Battery Positive Voltage

A13

--

--

Not Used

A14

0.35 WH

121

Engine Speed Signal

A15

0.35 D-GN/WH

817

Vehicle Speed Signal

A16

0.35 BN

9

Park Lamp Supply Voltage

A17

0.35 TN/WH

99

Windshield Washer Fluid Level Signal

B1

0.35 BN

27

Hazard Flasher Signal

B2-B3

--

--

Not Used

B4

0.35 PK

2384

HUD Image Down Signal

B5

0.35 BN

2383

HUD Image Up Signal

B6-B13

--

--

Not Used

B14

0.35 BN/WH

419

Check Engine Indicator Control

B15

0.35 L-BU

1134

Park Brake Switch Signal

B16

0.35 PU

333

Brake Fluid Level Sensor Signal

B17

--

--

Not Used

Instrument Panel Cluster (IPC) - X2


Object Number: 1758587  Size: CH

Connector Part Information

  • OEM: 51024-0700
  • Service: See Catalog
  • Description: 7-Way F Molex 2.5MM Low Profile (WH)

Terminal Part Information

  • Terminal/Tray: See Terminal Repair Kit
  • Core/Insulation Crimp: See Terminal Repair Kit
  • Release Tool/Test Probe: See Terminal Repair Kit

Instrument Panel Cluster (IPC) - X2

Pin

Wire

Circuit

Function

1

0.35 YE

--

DIC Information Up Switch Signal

2

0.35 BU

--

Instrument Panel Lamps Supply Voltage

3

0.35 GN

--

DIC Information Down Switch Signal

4

0.35 WH

--

Dome Lamp Switch Signal

5

0.35 BN

--

DIC Reset Switch Signal

6

0.35 OG

--

DIC Options Switch Signal

7

0.35 GY

--

Ground

Instrument Panel Cluster (IPC) - X3


Object Number: 1758587  Size: CH

Connector Part Information

  • OEM: 51024-0700
  • Service: See Catalog
  • Description: 7-Way F Molex 2.5MM Low Profile (WH)

Terminal Part Information

  • Terminal/Tray: See Terminal Repair Kit
  • Core/Insulation Crimp: See Terminal Repair Kit
  • Release Tool/Test Probe: See Terminal Repair Kit

Instrument Panel Cluster (IPC) - X3

Pin

Wire

Circuit

Function

1

0.35 YE

--

Ground

2

0.35 BU

--

Instrument Panel Lamps Dimmer Switch Up Signal

3

0.35 GN

--

Instrument Panel Lamps Dimmer Switch Down Signal

4

0.35 WH

--

Instrument Panel Lamps Dimmer Select Switch Signal

5

0.35 BN

--

HUD Image Down Signal

6

0.35 OG

--

Instrument Panel Lamps Supply Voltage

7

0.35 GY

--

HUD Image Up Signal

Intake Air Temperature (IAT) Sensor 2 (LC3)


Object Number: 646180  Size: CH

Connector Part Information

  • OEM: 12162197
  • Service: 12102620
  • Description: 2-Way F M/P 150 Sealed Delphi (L-GY)

Terminal Part Information

  • Terminal/Tray: 12124075/5
  • Core/Insulation Crimp: See Terminal Repair Kit
  • Release Tool/Test Probe: 12180559-1/J-35616-2A (GY)

Intake Air Temperature (IAT) Sensor 2 (LC3)

Pin

Wire

Circuit

Function

A

0.35 L-BU

6118

IAT 2 Signal

B

0.35 YE/BK

6120

Low Reference

Intake Air Temperature (IAT)/Mass Air Flow (MAF) Sensor


Object Number: 647974  Size: CH

Connector Part Information

  • OEM: 15326822
  • Service: 88987186
  • Description: 5-Way F GT 150 Series, Sealed (BK)

Terminal Part Information

  • Terminal/Tray: 12191819/8
  • Core/Insulation Crimp: E/A
  • Release Tool/Test Probe: 15315247/J-35616-2A (GY)

Intake Air Temperature (IAT)/Mass Air Flow (MAF) Sensor

Pin

Wire

Circuit

Function

A

0.35 YE

492

MAF Sensor Signal

B

0.5 BK/WH

451

Ground

C

0.5 PK

539

Ignition-1 Voltage

D

0.35 TN

2760

Low Reference

E

0.35 TN/BK

472

IAT Sensor Signal

Intrusion Sensor (UA2)


Object Number: 684911  Size: CH

Connector Part Information

  • OEM: 15326747
  • Service: 15306385
  • Description: 3-Way F Micro-Pack (BK)

Terminal Part Information

  • Terminal/Tray: 12177007/19
  • Core/Insulation Crimp: E/2
  • Release Tool/Test Probe: 12180559-1/J-35616-64B (L-BU)

Intrusion Sensor (UA2)

Pin

Wire

Circuit

Function

A

0.35 RD/WH

240

Battery Positive Voltage

B

0.35 PU

5059

Intrusion Sensor Alarm On Signal

C

0.35 YE

5058

Intrusion Sensor Armed Signal

Intrusion Sensor Defeat Switch (UA2)


Object Number: 39660  Size: CH

Connector Part Information

  • OEM: 12047785
  • Service: 12102900
  • Description: 4-Way F Metri-Pack 150 Series (BK)

Terminal Part Information

  • Terminal/Tray: 12064971/5
  • Core/Insulation Crimp: E/C
  • Release Tool/Test Probe: 12094429/J-35616-2A (GY)

Intrusion Sensor Defeat Switch (UA2)

Pin

Wire

Circuit

Function

A

0.35 BK

1550

Ground

B-C

--

--

Not Used

D

0.35 PK

5068

Intrusion Sensor Switch Disable Signal

I/P Compartment Lamp


Object Number: 82383  Size: CH

Connector Part Information

  • OEM: 12047662
  • Service: 12085535
  • Description: 2-Way F Metri-Pack 150 Series (BK)

Terminal Part Information

  • Terminal/Tray: 12064971/5
  • Core/Insulation Crimp: E/C
  • Release Tool/Test Probe: 12094429/J-35616-2A (GY)

I/P Compartment Lamp

Pin

Wire

Circuit

Function

A

0.35 OG

1732

Courtesy Lamps Supply Voltage

B

0.35 BK

1550

Ground

I/P Courtesy Lamp - Left


Object Number: 258620  Size: CH

Connector Part Information

  • OEM: 12162223
  • Service: 12166036
  • Description: 2-Way F (CL)

Terminal Part Information

  • Terminal/Tray: See Terminal Repair Kit
  • Core/Insulation Crimp: See Terminal Repair Kit
  • Release Tool/Test Probe: See Terminal Repair Kit

I/P Courtesy Lamp - Left

Pin

Wire

Circuit

Function

A

0.35 OG

1732

Courtesy Lamps Supply Voltage

B

0.35 WH

156

Courtesy Lamp Low Control

I/P Courtesy Lamp - Right


Object Number: 258620  Size: CH

Connector Part Information

  • OEM: 12162223
  • Service: 12166036
  • Description: 2-Way F (CL)

Terminal Part Information

  • Terminal/Tray: See Terminal Repair Kit
  • Core/Insulation Crimp: See Terminal Repair Kit
  • Release Tool/Test Probe: See Terminal Repair Kit

I/P Courtesy Lamp - Right

Pin

Wire

Circuit

Function

A

0.35 OG

1732

Courtesy Lamps Supply Voltage

B

0.35 WH

156

Courtesy Lamp Low Control

I/P Dimmer/Head Up Display (HUD) Switch


Object Number: 258245  Size: CH

Connector Part Information

  • OEM: 12065872
  • Service: 12101845
  • Description: 7-Way F Micro-Pack 100 Series (GY)

Terminal Part Information

  • Terminal/Tray: See Terminal Repair Kit
  • Core/Insulation Crimp: See Terminal Repair Kit
  • Release Tool/Test Probe: See Terminal Repair Kit

I/P Dimmer/Head Up Display (HUD) Switch

Pin

Wire

Circuit

Function

1

0.35 YE

--

Ground

2

0.35 GY

--

HUD Image Up Signal

3

0.35 BN

--

HUD Image Down Signal

4

0.35 WH

--

Instrument Panel Lamps Dimmer Select Switch Signal

5

0.35 GN

--

Instrument Panel Lamps Dimmer Switch Down Signal

6

0.35 OG

--

Instrument Panel Lamps Supply Voltage

7

0.35 BU

--

Instrument Panel Lamps Dimmer Switch Up Signal

Keyless Entry Antenna - Backup


Object Number: 684852  Size: CH

Connector Part Information

  • OEM: 12162017
  • Service: 12101937
  • Description: 2-Way F Metri-Pack 150 Series (GY)

Terminal Part Information

  • Terminal/Tray: 12048074/2
  • Core/Insulation Crimp: E/1
  • Release Tool/Test Probe: 12094429/J-35616-2A (GY)

Keyless Entry Antenna - Backup

Pin

Wire

Circuit

Function

A

0.35 OG

5708

Keyless Entry Antenna - Back Up Signal

B

0.35 OG/BK

5712

Low Reference

Keyless Entry Antenna - Left


Object Number: 684852  Size: CH

Connector Part Information

  • OEM: 12162017
  • Service: 12101937
  • Description: 2-Way F Metri-Pack 150 Series (GY)

Terminal Part Information

  • Terminal/Tray: 12048074/2
  • Core/Insulation Crimp: E/1
  • Release Tool/Test Probe: 12094429/J-35616-2A (GY)

Keyless Entry Antenna - Left

Pin

Wire

Circuit

Function

A

0.35 PU

218

Keyless Entry Antenna - Left Signal

B

0.35 TN

219

Low Reference

Keyless Entry Antenna - Rear Compartment


Object Number: 684852  Size: CH

Connector Part Information

  • OEM: 12162017
  • Service: 12101937
  • Description: 2-Way F Metri-Pack 150 Series (GY)

Terminal Part Information

  • Terminal/Tray: 12048074/2
  • Core/Insulation Crimp: E/1
  • Release Tool/Test Probe: 12094429/J-35616-2A (GY)

Keyless Entry Antenna - Rear Compartment

Pin

Wire

Circuit

Function

A

0.35 PK

5709

Keyless Entry Antenna - Rear Compartment Signal

B

0.35 PK/BK

5713

Low Reference

Keyless Entry Antenna - Right


Object Number: 684852  Size: CH

Connector Part Information

  • OEM: 12162017
  • Service: 12101937
  • Description: 2-Way F Metri-Pack 150 Series (GY)

Terminal Part Information

  • Terminal/Tray: 12048074/2
  • Core/Insulation Crimp: E/1
  • Release Tool/Test Probe: 12094429/J-35616-2A (GY)

Keyless Entry Antenna - Right

Pin

Wire

Circuit

Function

A

0.35 L-GN

5707

Keyless Entry Antenna - Right Signal

B

0.35 L-GN/BK

5711

Low Reference

Knock Sensor (KS) 1


Object Number: 1232999  Size: CH

Connector Part Information

  • OEM: 15374222
  • Service: See Catalog
  • Description: 2-Way F GT 150 Series Sealed (BK)

Terminal Part Information

  • Terminal/Tray: 1219819/8
  • Core/Insulation Crimp: E/A
  • Release Tool/Test Probe: 15315247/J-35616-2A (GY)

Knock Sensor (KS) 1

Pin

Wire

Circuit

Function

A

0.5 D-BU

496

KS 1 Signal

B

0.5 GY

1716

KS 1 Signal

Knock Sensor (KS) 2


Object Number: 1232999  Size: CH

Connector Part Information

  • OEM: 15374222
  • Service: See Catalog
  • Description: 2-Way F GT 150 Series Sealed (BK)

Terminal Part Information

  • Terminal/Tray: 1219819/8
  • Core/Insulation Crimp: E/A
  • Release Tool/Test Probe: 15315247/J-35616-2A (GY)

Knock Sensor (KS) 2

Pin

Wire

Circuit

Function

A

0.5 L-BU

1876

KS 2 Signal

B

0.5 GY

2303

KS 2 Signal

License Lamp - Left


Object Number: 744036  Size: CH

Connector Part Information

  • OEM: 12110053
  • Service: 88986416
  • Description: 2-Way F Lamp Socket Wedge Base W2 (GY)

Terminal Part Information

  • Terminal/Tray: 12124471/5
  • Core/Insulation Crimp: 2/3
  • Release Tool/Test Probe: 12094430/N/A

License Lamp - Left

Pin

Wire

Circuit

Function

A

0.5 BN

9

Park Lamp Supply Voltage

B

0.5 BK

1150

Ground

License Lamp - Right


Object Number: 744036  Size: CH

Connector Part Information

  • OEM: 12110053
  • Service: 88986416
  • Description: 2-Way F Lamp Socket Wedge Base W2 (GY)

Terminal Part Information

  • Terminal/Tray: 12124471/5
  • Core/Insulation Crimp: 2/3
  • Release Tool/Test Probe: 12094430/N/A

License Lamp - Right

Pin

Wire

Circuit

Function

A

0.5 BN

9

Park Lamp Supply Voltage

B

0.5 BK

1150

Ground

Manifold Absolute Pressure (MAP) Sensor


Object Number: 684840  Size: CH

Connector Part Information

  • OEM: 12129946
  • Service: 88987997
  • Description: 3-Way F Metri-Pack 150 Series Sealed (GY)

Terminal Part Information

  • Terminal/Tray: 12048074/2
  • Core/Insulation Crimp: E/1
  • Release Tool/Test Probe: 12094429/J-35616-2A (GY)

Manifold Absolute Pressure (MAP) Sensor

Pin

Wire

Circuit

Function

A

0.35 OG/BK

469

Low Reference

B

0.35 L-GN

432

MAP Sensor Signal

C

0.35 GY

2704

5-Volt Reference - 2

Marker Lamp - Left Front


Object Number: 877923  Size: CH

Connector Part Information

  • OEM: 16530675
  • Service: See Catalog
  • Description: 2-Way F (L-GY)

Terminal Part Information

  • Terminal/Tray: See Terminal Repair Kit
  • Core/Insulation Crimp: See Terminal Repair Kit
  • Release Tool/Test Probe: See Terminal Repair Kit

Marker Lamp - Left Front

Pin

Wire

Circuit

Function

A

0.5 BN

9

Park Lamp Supply Voltage

0.5 BN

9

Park Lamp Supply Voltage

B

0.8 BK

1350

Ground

0.8 BK

1350

Ground

Marker Lamp - Right Front


Object Number: 877923  Size: CH

Connector Part Information

  • OEM: 16530675
  • Service: See Catalog
  • Description: 2-Way F (L-GY)

Terminal Part Information

  • Terminal/Tray: See Terminal Repair Kit
  • Core/Insulation Crimp: See Terminal Repair Kit
  • Release Tool/Test Probe: See Terminal Repair Kit

Marker Lamp - Right Front

Pin

Wire

Circuit

Function

A

0.5 BN

9

Park Lamp Supply Voltage

0.5 BN

9

Park Lamp Supply Voltage

B

0.8 BK

1250

Ground

0.8 BK

1250

Ground

Memory Seat Adjuster Switch - Driver


Object Number: 287981  Size: CH

Connector Part Information

  • OEM: 12092162
  • Service: 15306021
  • Description: 4-Way F Metri-Pack 150 Series (BK)

Terminal Part Information

  • Terminal/Tray: 12064971/5
  • Core/Insulation Crimp: E/C
  • Release Tool/Test Probe: 12094429/J-35616-14 (GN)

Memory Seat Adjuster Switch - Driver

Pin

Wire

Circuit

Function

A

0.35 WH

615

Memory 1 Switch Signal

B

0.35 PU

616

Memory 2 Switch Signal

C

0.35 RD/WH

440

Battery Positive Voltage

D

0.35 WH

9029

Instrument Panel Lamps Dimming Control

Memory Seat Module - Driver X1


Object Number: 808706  Size: CH

Connector Part Information

  • OEM: 12064749
  • Service: 12101888
  • Description: 2-Way F Metri-Pack 480 Series (BK)

Terminal Part Information

  • Terminal/Tray: 12084595/2
  • Core/Insulation Crimp: F/G
  • Release Tool/Test Probe: 12094430/J-35616-40 (BU)

Memory Seat Module - Driver X1

Pin

Wire

Circuit

Function

A

3 RD/WH

1540

Battery Positive Voltage

B

3 BK

1150

Ground

Memory Seat Module - Driver X2


Object Number: 73222  Size: CH

Connector Part Information

  • OEM: 12110115
  • Service: 12110115
  • Description: 32-Way F Micro-Pack 100 Series (BU)

Terminal Part Information

  • Terminal/Tray: 12146447/3
  • Core/Insulation Crimp: E/C
  • Release Tool/Test Probe: 12031876-1/J-35616-6 (BN)

Memory Seat Module - Driver X2

Pin

Wire

Circuit

Function

E1

0.35 D-GN

1518

Power Seat Front Vertical Up Switch Signal

E2

0.35 YE

1519

Power Seat Rear Vertical Up Switch Signal

E3

0.35 D-BU

1520

Power Seat Front Vertical Down Switch Signal

E4

0.35 L-BU

1521

Power Seat Rear Vertical Down Switch Signal

E5

0.35 TN

1522

Power Seat Horizontal Forward Switch Signal

E6

0.35 L-GN

1523

Power Seat Horizontal Rearward Switch Signal

E7

0.35 D-GN//BK

1269

Power Seat Recline Forward Switch Signal

E8

0.35 D-GN/WH

1270

Power Seat Recline Rearward Switch Signal

E9

0.35 OG

2095

Steering Column Telescope Reverse Switch Signal

E10

0.35 PK

2094

Steering Column Telescope Forward Switch Signal

E11

0.35 GY

2096

Steering Column Tilt Up Switch Signal

E12

0.35 YE

2097

Steering Column Tilt Down Switch Signal

E13

0.35 GY

788

5-Volt Reference

E14

0.35 BN/WH

557

Front Vertical Seat Motor Position Sensor Signal

E15

0.35 TN

782

Low Reference

E16

0.35 D-GN

569

Horizontal Seat Motor Position Sensor Signal

F1

0.35 TN

568

Rear Vertical Seat Motor Position Sensor Signal

F2

0.35 WH/BK

570

Driver Seat Recline Motor Position Sensor Signal

F3

0.35 OG

2153

Steering Column Telescope Sensor Signal

F4

0.35 OG

2154

Steering Column Tilt Sensor Signal

F5-F8

--

--

Not Used

F9

0.35 WH

615

Memory 1 Switch Signal

F10

0.35 PU

616

Memory 2 Switch Signal

F11

0.35 RD/WH

440

Battery Positive Voltage

F12-F13

--

--

Not Used

F14

0.35 BN/WH

1048

SCM (Seat) Class 2 Serial Data

F15-F16

--

--

Not Used

Memory Seat Module - Driver X3


Object Number: 283847  Size: CH

Connector Part Information

  • OEM: 12129431
  • Service: 12129431
  • Description: 16-Way F Metri-Pack 280 Series, ACT (BK)

Terminal Part Information

  • Terminal/Tray: 12186456/5
  • Core/Insulation Crimp: A/B
  • Release Tool/Test Probe: 12094429/J-35616-4A (PU)

Memory Seat Module - Driver X3

Pin

Wire

Circuit

Function

A

2 D-GN

286

Driver Seat Front Vertical Motor Up Control

B

2 OG

2098

Steering Column Telescope Motor Control - Forward

C

2 PK

2111

Steering Column Tilt Motor Control - Up

D-E

--

--

Not Used

F

2 L-GN

276

Driver Seat Recline Motor Forward Control

G

2 L-BU

277

Driver Seat Recline Motor Rearward Control

H-J

--

--

Not Used

K

2 BK

2112

Steering Column Tilt Motor Control - Down

L

2 TN

2110

Steering Column Telescope Motor Control - Reverse

M

2 D-BU

287

Driver Seat Front Vertical Motor Down Control

N

2 TN

285

Driver Seat Horizontal Motor Forward Control

P

2 L-BU

283

Driver Seat Rear Vertical Motor Down Control

R

2 YE

282

Driver Seat Rear Vertical Motor Up Control

S

2 L-GN

284

Driver Seat Horizontal Motor Rearward Control

Mode Actuator


Object Number: 333035  Size: CH

Connector Part Information

  • OEM: 12047781
  • Service: 12101864
  • Description: 3-Way F Metri-Pack 150 Series (BK)

Terminal Part Information

  • Terminal/Tray: 12064971/5
  • Core/Insulation Crimp: E/C
  • Release Tool/Test Probe: 12094429/J-35616-2A (GY)

Mode Actuator

Pin

Wire

Circuit

Function

A

0.35 TN

2273

Mode Door Control A

B

--

--

Not Used

C

0.35 L-GN

2275

Mode Door Control B

Noise Compensation Microphone


Object Number: 35441  Size: CH

Connector Part Information

  • OEM: 12047663
  • Service: 12085481
  • Description: 2-Way M Metri-Pack 150 Series (BK)

Terminal Part Information

  • Terminal/Tray: 12047581/2
  • Core/Insulation Crimp: E/C
  • Release Tool/Test Probe: 12094429/J-35616-3 (GY)

Noise Compensation Microphone

Pin

Wire

Circuit

Function

A

0.35 BARE

1489

Drain

B

0.35 D-GN

1488

Noise Compensation Microphone Signal

Object Alarm Module


Object Number: 599191  Size: CH

Connector Part Information

  • OEM: 12124957
  • Service: 88987946
  • Description: 26-Way F (BK)

Terminal Part Information

  • Terminal/Tray: 0-963720-3/25
  • Core/Insulation Crimp: J/J
  • Release Tool/Test Probe: J-38125-24/J-35616-64B (L-BU)

Object Alarm Module

Pin

Wire

Circuit

Function

1

0.35 YE

2375

LR Corner Object Sensor Signal

2

0.35 OG

2376

LR Middle Object Sensor Signal

3

0.35 D-GN

2377

RR Middle Object Sensor Signal

4

0.35 PU

2378

RR Corner Object Sensor Signal

5

0.35 D-BU

2374

Object Sensor Supply Voltage

6

0.35 GY

2379

Low Reference

7-11

--

--

Not Used

12

0.35 BK

750

Ground

13

0.35 PK

1139

Ignition 1 Voltage

14

--

--

Not Used

15

0.35 L-GN

24

Backup Lamp Supply Voltage

16

0.35 L-GN

2525

Rear Parking Assist Diagnostic Signal

17

--

--

Not Used

18

0.35 D-GN/WH

817

Vehicle Speed Signal

19-21

--

--

Not Used

22

0.35 L-GN

1845

Rear Parking Assist Chime Signal

23

0.35 WH

2370

Telltale Assembly Supply Voltage

24

0.35 GY

2373

Red Indicator Control

25

0.35 D-BU

2372

Center Amber Indicator Control

26

0.35 OG

2371

Left Amber Indicator Control

Object Alarm Sensor - Left Rear Corner


Object Number: 655785  Size: CH

Connector Part Information

  • OEM: 15324398
  • Service: 15306313
  • Description: 3-Way F MQS Sealed (BK)

Terminal Part Information

  • Terminal/Tray: 962885-5/15
  • Core/Insulation Crimp: 6/6
  • Release Tool/Test Probe: 12094429/J-35616-64B (L-BU)

Object Alarm Sensor - Left Rear Corner

Pin

Wire

Circuit

Function

1

0.35 YE

2375

LR Corner Object Sensor Signal

2

0.35 GY

2379

Low Reference

3

0.35 D-BU

2374

Object Sensor Supply Voltage

Object Alarm Sensor - Left Rear Middle


Object Number: 655785  Size: CH

Connector Part Information

  • OEM: 15324398
  • Service: 15306313
  • Description: 3-Way F MQS Sealed (BK)

Terminal Part Information

  • Terminal/Tray: 962885-5/15
  • Core/Insulation Crimp: 6/6
  • Release Tool/Test Probe: 12094429/J-35616-64B (L-BU)

Object Alarm Sensor - Left Rear Middle

Pin

Wire

Circuit

Function

1

0.35 OG

2376

LR Middle Object Sensor Signal

2

0.35 GY

2379

Low Reference

3

0.35 D-BU

2374

Object Sensor Supply Voltage

Object Alarm Sensor - Right Rear Corner


Object Number: 655785  Size: CH

Connector Part Information

  • OEM: 15324398
  • Service: 15306313
  • Description: 3-Way F MQS Sealed (BK)

Terminal Part Information

  • Terminal/Tray: 962885-5/15
  • Core/Insulation Crimp: 6/6
  • Release Tool/Test Probe: 12094429/J-35616-64B (L-BU)

Object Alarm Sensor - Right Rear Corner

Pin

Wire

Circuit

Function

1

0.35 PU

2378

RR Corner Object Sensor Signal

2

0.35 GY

2379

Low Reference

3

0.35 D-BU

2374

Object Sensor Supply Voltage

Object Alarm Sensor - Right Rear Middle


Object Number: 655785  Size: CH

Connector Part Information

  • OEM: 15324398
  • Service: 15306313
  • Description: 3-Way F MQS Sealed (BK)

Terminal Part Information

  • Terminal/Tray: 962885-5/15
  • Core/Insulation Crimp: 6/6
  • Release Tool/Test Probe: 12094429/J-35616-64B (L-BU)

Object Alarm Sensor - Right Rear Middle

Pin

Wire

Circuit

Function

1

0.35 D-GN

2377

RR Middle Object Sensor Signal

2

0.35 GY

2379

Low Reference

3

0.35 D-BU

2374

Object Sensor Supply Voltage

Outside Rearview Mirror - Driver X1


Object Number: 62434  Size: CH

Connector Part Information

  • OEM: 12084256
  • Service: 12101827
  • Description: 8-Way M Metri-Pack 150 Series (BK)

Terminal Part Information

  • Terminal/Tray: 12047581/2
  • Core/Insulation Crimp: E/C
  • Release Tool/Test Probe: 12094429/J-35616-3 (GY)

Outside Rearview Mirror - Driver X1

Pin

Wire

Circuit

Function

A

0.35 YE

88

Driver Mirror Motor Up Control

B

0.5 BK

1450

Ground

C

0.35 L-GN

89

Driver Mirror Motor Down Control

D

0.35 GY

1690

Automatic Day - Night Mirror Signal

E

0.35 OG

267

Heated Mirror Element Supply Voltage

F

0.35 WH

81

Driver Mirror Motor Right Control

G

0.35 PK

1691

Low Reference

H

0.35 L-BU

82

Driver Mirror Motor Left Control

Outside Rearview Mirror - Driver X2


Object Number: 62434  Size: CH

Connector Part Information

  • OEM: 12162427
  • Service: 12162427
  • Description: 8-Way M Metri-Pack 150 Series (WH)

Terminal Part Information

  • Terminal/Tray: 12047581/2
  • Core/Insulation Crimp: E/C
  • Release Tool/Test Probe: 12094429/J-35616-3 (GY)

Outside Rearview Mirror - Driver X2

Pin

Wire

Circuit

Function

A

0.35 GY

788

5-Volt Reference

B

0.35 D-GN

784

Driver Mirror Vertical Position Sensor Signal

C

0.35 TN

782

Low Reference

D

0.35 GY/BK

786

Driver Mirror Horizontal Position Sensor Signal

E

0.5 YE

190

Driver Folding Mirror Motor Extend Control (Export)

F

0.5 L-BU

191

Driver Folding Mirror Motor Retract Control (Export)

G-H

--

--

Not Used

Outside Rearview Mirror - Passenger X1


Object Number: 62434  Size: CH

Connector Part Information

  • OEM: 12084256
  • Service: 12101827
  • Description: 8-Way M Metri-Pack 150 Series (BK)

Terminal Part Information

  • Terminal/Tray: 12047581/2
  • Core/Insulation Crimp: E/C
  • Release Tool/Test Probe: 12094429/J-35616-3 (GY)

Outside Rearview Mirror - Passenger X1

Pin

Wire

Circuit

Function

A

0.35 BN/WH

1498

Passenger Mirror Motor Up Control

B

0.5 BK

1550

Ground

C

0.35 L-GN

89

Passenger Mirror Motor Down Control

D

--

--

Not Used

E

0.35 OG

267

Heated Mirror Element Supply Voltage

F

0.35 OG/WH

881

Passenger Mirror Motor Right Control

G

--

--

Not Used

H

0.35 GY

90

Passenger Mirror Motor Left Control

Outside Rearview Mirror - Passenger X2


Object Number: 62434  Size: CH

Connector Part Information

  • OEM: 12162427
  • Service: 12162427
  • Description: 8-Way M Metri-Pack 150 Series (WH)

Terminal Part Information

  • Terminal/Tray: 12047581/2
  • Core/Insulation Crimp: E/C
  • Release Tool/Test Probe: 12094429/J-35616-3 (GY)

Outside Rearview Mirror - Passenger X2

Pin

Wire

Circuit

Function

A

0.35 GY

788

5-Volt Reference

B

0.35 BN

787

Passenger Mirror Vertical Position Sensor Signal

C

0.35 TN

782

Low Reference

D

0.35 L-BU/BK

785

Passenger Mirror Horizontal Position Sensor Signal

E

0.5 YE

5004

Folding Mirror Motor Extend Control (Export)

F

0.5 L-BU

5023

Folding Mirror Motor Retract Control (Export)

G-H

--

--

Not Used

Park Brake Pedal Assembly


Object Number: 68737  Size: CH

Connector Part Information

  • OEM: 12129489
  • Service: 12126486
  • Description: 3-Way F Metri-Pack 280 Series, Flexlock (BK)

Terminal Part Information

  • Pins: C
  • Terminal/Tray: 12110844/4
  • Core/Insulation Crimp: E/C
  • Release Tool/Test Probe: 15315247/J-35616-4A (PU)
  • Pins: A, B
  • Terminal/Tray: 12110844/4
  • Core/Insulation Crimp: Pins A - C/A
  • Core/Insulation Crimp: Pins B - E/A
  • Release Tool/Test Probe: 15315247/J-35616-4A (PU)

Park Brake Pedal Assembly

Pin

Wire

Circuit

Function

A

1 TN

1628

Park Brake Release Relay Supply Voltage

B

0.5 L-GN

1627

Park Brake Hold Relay Supply Voltage

C

0.35 L-BU

1134

Park Brake Switch Signal

Park Lamp - Left Front


Object Number: 744036  Size: CH

Connector Part Information

  • OEM: 16530676
  • Service: See Catalog
  • Description: 2-Way F (GY)

Terminal Part Information

  • Terminal/Tray: See Terminal Repair Kit
  • Core/Insulation Crimp: See Terminal Repair Kit
  • Release Tool/Test Probe: See Terminal Repair Kit

Park Lamp - Left Front

Pin

Wire

Circuit

Function

A

0.5 BN

9

Park Lamp Supply Voltage

B

0.8 BK

1350

Ground

Park Lamp - Right Front


Object Number: 744036  Size: CH

Connector Part Information

  • OEM: 16530676
  • Service: See Catalog
  • Description: 2-Way F (GY)

Terminal Part Information

  • Terminal/Tray: See Terminal Repair Kit
  • Core/Insulation Crimp: See Terminal Repair Kit
  • Release Tool/Test Probe: See Terminal Repair Kit

Park Lamp - Right Front

Pin

Wire

Circuit

Function

A

0.5 BN

9

Park Lamp Supply Voltage

B

0.8 BK

1250

Ground

Position Lamp - Left (T90)


Object Number: 744036  Size: CH

Connector Part Information

  • OEM: 16530676
  • Service: See Catalog
  • Description: 2-Way F (GY)

Terminal Part Information

  • Terminal/Tray: See Terminal Repair Kit
  • Core/Insulation Crimp: See Terminal Repair Kit
  • Release Tool/Test Probe: See Terminal Repair Kit

Position Lamp - Left (T90)

Pin

Wire

Circuit

Function

A

0.5 BN

9

Park Lamp Supply Voltage

B

0.8 BK

1350

Ground

Position Lamp - Right (T90)


Object Number: 744036  Size: CH

Connector Part Information

  • OEM: 16530676
  • Service: See Catalog
  • Description: 2-Way F (GY)

Terminal Part Information

  • Terminal/Tray: See Terminal Repair Kit
  • Core/Insulation Crimp: See Terminal Repair Kit
  • Release Tool/Test Probe: See Terminal Repair Kit

Position Lamp - Right (T90)

Pin

Wire

Circuit

Function

A

0.5 BN

9

Park Lamp Supply Voltage

B

0.8 BK

1250

Ground

Radio X1


Object Number: 73222  Size: CH

Connector Part Information

  • OEM: 12110115
  • Service: 12110115
  • Description: 32-Way F Micro-Pack 100 Series (D-BU)

Terminal Part Information

  • Pins: E4, E6, E12-E14, F1-F3, F11-F15
  • Terminal/Tray: 12146447/3
  • Core/Insulation Crimp: E/C
  • Release Tool/Test Probe: 12031876-1/J-35616-6 (BN)
  • Pins: E16
  • Terminal/Tray: 12146448/19
  • Core/Insulation Crimp: E/A
  • Release Tool/Test Probe: 12031876-1/J-35616-6 (BN)

Radio X1

Pin

Wire

Circuit

Function

E1-E3

--

--

Not Used

E4

0.35 YE

5172

FM Composite Signal

E5

--

--

Not Used

E6

0.35 OG

1044

Radio Class 2 Serial Data

E7-E11

--

--

Not Used

E12

0.35 TN

511

Left Low Level Audio Signal (+)

E13

0.35 D-GN

1947

Left Low Level Audio Signal (-)

E14

0.35 BARE

2011

Drain

E15

--

--

Not Used

E16

1 BK/WH

651

Ground

F1

0.5 RD/WH

740

Battery Positive Voltage

F2

0.35 D-GN/WH

817

Vehicle Speed Signal

F3

0.35 PK

5165

Antenna Enable Signal

F4-F10

--

--

Not Used

F11

0.35 BARE

5344

Drain

F12

0.35 TN

5778

Voice Prompt Signal (+)

F13

0.35 D-GN

5743

Voice Prompt Signal (-)

F14

0.35 L-GN

1948

Right Low Level Audio Signal (-)

F15

0.35 D-GN/WH

512

Right Low Level Audio Signal (+)

F16

--

--

Not Used

Radio X2


Object Number: 1283833  Size: CH

Connector Part Information

  • OEM: 15380274
  • Service: 89046839
  • Description: 5-Way F (BK)

Terminal Part Information

  • Terminal/Tray: 15445905/23
  • Core/Insulation Crimp: J/J
  • Release Tool/Test Probe: 12180559/J-35616-6 (BN)

Radio X2

Pin

Wire

Circuit

Function

1

0.35 PK

5149

Voice Recognition Audio Signal

2

0.35 PK/BK

5152

Low Reference (US or Canada)

BARE

1705

Drain (Export)

3-5

--

--

Not Used

Radio X3 (Japan)


Object Number: 861685  Size: CH

Connector Part Information

  • OEM: 15383013
  • Service: 89046847
  • Description: 6-Way F (WH)

Terminal Part Information

  • Terminal/Tray: 15445905/23
  • Core/Insulation Crimp: J/J
  • Release Tool/Test Probe: 12180559/J-35616-6 (BN)

Radio X3 (Japan)

Pin

Wire

Circuit

Function

1

--

--

Not Used

2

0.35 YE

5385

Vehicle Identification Communication System Bus Request Signal

3

0.35 GY

5383

Vehicle Identification Communication System High Signal

4

--

--

Not Used

5

0.5 BARE

514

Drain Wire

6

0.35 BN

5384

Vehicle Identification Communication System Low Signal

Radio Antenna Module - Left


Object Number: 1664518  Size: CH

Connector Part Information

  • OEM: 172165-1
  • Service: See Catalog
  • Description: 2-Way M Mini-Universal Mate-N-Lock Series (NA)

Terminal Part Information

  • Terminal/Tray: See Terminal Repair Kit
  • Core/Insulation Crimp: See Terminal Repair Kit
  • Release Tool/Test Probe: See Terminal Repair Kit

Radio Antenna Module - Left

Pin

Wire

Circuit

Function

1

0.35 GN

--

Low Reference

2

0.35 BU

--

FM 2 Signal

Radio Antenna Module - Right, X1


Object Number: 1664518  Size: CH

Connector Part Information

  • OEM: 172165-1
  • Service: See Catalog
  • Description: 2-Way M Mini-Universal Mate-N-Lock Series (NA)

Terminal Part Information

  • Terminal/Tray: See Terminal Repair Kit
  • Core/Insulation Crimp: See Terminal Repair Kit
  • Release Tool/Test Probe: See Terminal Repair Kit

Radio Antenna Module - Right, X1

Pin

Wire

Circuit

Function

1

0.35 BK

1487

Antenna Enable Signal

2

0.35 BK

5172

FM Composite Signal

Radio Antenna Module - Right, X2


Object Number: 1664518  Size: CH

Connector Part Information

  • OEM: 172165-1
  • Service: See Catalog
  • Description: 2-Way M Mini-Universal Mate-N-Lock Series (NA)

Terminal Part Information

  • Terminal/Tray: See Terminal Repair Kit
  • Core/Insulation Crimp: See Terminal Repair Kit
  • Release Tool/Test Probe: See Terminal Repair Kit

Radio Antenna Module - Right, X2

Pin

Wire

Circuit

Function

1

0.35 YE

--

AM Signal

2

0.35 RD

--

FM 1 Signal

Rear Compartment Courtesy Lamp - Left


Object Number: 82383  Size: CH

Connector Part Information

  • OEM: 12047662
  • Service: 12085535
  • Description: 2-Way F Metri-Pack 150 Series (BK)

Terminal Part Information

  • Terminal/Tray: 12064971/5
  • Core/Insulation Crimp: E/C
  • Release Tool/Test Probe: 12094429/J-35616-2A (GY)

Rear Compartment Courtesy Lamp - Left

Pin

Wire

Circuit

Function

A

0.35 OG

1732

Courtesy Lamps Supply Voltage

B

0.35 WH/BK

158

Cargo Lamp Switch Signal

Rear Compartment Courtesy Lamp - Right


Object Number: 82383  Size: CH

Connector Part Information

  • OEM: 12047662
  • Service: 12085535
  • Description: 2-Way F Metri-Pack 150 Series (BK)

Terminal Part Information

  • Terminal/Tray: 12064971/5
  • Core/Insulation Crimp: E/C
  • Release Tool/Test Probe: 12094429/J-35616-2A (GY)

Rear Compartment Courtesy Lamp - Right

Pin

Wire

Circuit

Function

A

0.35 OG

1732

Courtesy Lamps Supply Voltage

B

0.35 WH/BK

158

Cargo Lamp Switch Signal

Rear Compartment Lid Position Switch


Object Number: 82383  Size: CH

Connector Part Information

  • OEM: 12047662
  • Service: 12085535
  • Description: 2-Way F Metri-Pack 150 Series (BK)

Terminal Part Information

  • Terminal/Tray: 12064971/5
  • Core/Insulation Crimp: E/C
  • Release Tool/Test Probe: 12094429/J-35616-14 (GN)

Rear Compartment Lid Position Switch

Pin

Wire

Circuit

Function

A

0.5 PU

5936

Rear Compartment Lid Open Switch Signal

B

0.5 YE

743

Accessory Voltage

Rear Compartment Lid Pull Down Actuator


Object Number: 73158  Size: CH

Connector Part Information

  • OEM: 12110626
  • Service: 12110626
  • Description: 8-Way F Metri-Pack 280 Series, Flexlock (GY)

Terminal Part Information

  • Terminal/Tray: 12110844/4
  • Core/Insulation Crimp: Pins A, B, E, G - E/C
  • Core/Insulation Crimp: Pins C, F, H - E/A
  • Release Tool/Test Probe: 15315247/J-35616-4A (PU)

Rear Compartment Lid Pull Down Actuator

Pin

Wire

Circuit

Function

A

0.35 OG/BK

744

Rear Compartment Lid Ajar Switch Signal

B

0.35 L-BU

1344

Trunk Release Control Signal

C

0.5 PK

5960

Trunk Latch Clear Switch Signal

D

--

--

Not Used

E

0.35 TN

305

Trunk Key Switch Signal

F

0.5 BK

750

Ground

G

0.35 WH/BK

158

Rear Compartment Lid Ajar Switch Signal

H

0.5 YE

743

Accessory Voltage

Rear Compartment Lid Pulldown Switch


Object Number: 39660  Size: CH

Connector Part Information

  • OEM: 12047785
  • Service: 12102900
  • Description: 4-Way F Metri-Pack 150 Series (BK)

Terminal Part Information

  • Terminal/Tray: 12064971/5
  • Core/Insulation Crimp: E/C
  • Release Tool/Test Probe: 12094429/J-35616-2A (GY)

Rear Compartment Lid Pulldown Switch

Pin

Wire

Circuit

Function

A

0.5 OG

138

Rear Compartment Lid Release/Close Switch Signal

B

0.5 OG/BK

744

Rear Compartment Lid Ajar Switch Signal

C

0.5 RD/WH

1340

Battery Positive Voltage

D

0.5 RD/WH

1340

Battery Positive Voltage

Rear Compartment Lid Release Switch - Exterior


Object Number: 38608  Size: CH

Connector Part Information

  • OEM: 12162190
  • Service: 12126487
  • Description: 4-Way F Metri-Pack 150.2 Series Sealed, Pull To Seat (BK)

Terminal Part Information

  • Terminal/Tray: 12124075/5
  • Core/Insulation Crimp: E/C
  • Release Tool/Test Probe: 12180559-1/J-35616-2A (GY)

Rear Compartment Lid Release Switch - Exterior

Pin

Wire

Circuit

Function

A

0.5 TN

1576

Trunk Release Switch Signal

B

--

--

Not Used

C

0.35 BK

1150

Ground

D

--

--

Not Used

Rear Compartment Lid Release Switch - Interior


Object Number: 39665  Size: CH

Connector Part Information

  • OEM: 12089248
  • Service: 12102900
  • Description: 4-Way F Metri-Pack 150 Series (NA)

Terminal Part Information

  • Terminal/Tray: 12064971/5
  • Core/Insulation Crimp: E/C
  • Release Tool/Test Probe: 12094429/J-35616-2A (GY)

Rear Compartment Lid Release Switch - Interior

Pin

Wire

Circuit

Function

A

0.35 BK

1450

Ground

B

0.35 BK

1450

Ground

C

0.35 BN/WH

230

Instrument Panel Lamps Dimming Control

D

0.35 BN/WH

2091

Trunk Release Switch Supply Voltage

Rear Compartment Partition Position Switch


Object Number: 1385747  Size: CH

Connector Part Information

  • OEM: 15332129
  • Service: 15306425
  • Description: 2-Way F (BK)

Terminal Part Information

  • Terminal/Tray: 12191812/19
  • Core/Insulation Crimp: E/C
  • Release Tool/Test Probe: 15315247/J-35616-2A (GY)

Rear Compartment Partition Position Switch

Pin

Wire

Circuit

Function

A

0.5 YE

743

Accessory Voltage

B

0.5 L-GN

5744

Luggage Barrier Switch Signal

Rear Parking Assist (RPA) Diagnostic Connector


Object Number: 439818  Size: CH

Connector Part Information

  • OEM: 12047682
  • Service: 12101850
  • Description: 1-Way F Metri-Pack 150 Series (BK)

Terminal Part Information

  • Terminal/Tray: 12064971/5
  • Core/Insulation Crimp: E/C
  • Release Tool/Test Probe: 12094429/J-35616-2A (GY)

Rear Parking Assist (RPA) Diagnostic Connector

Pin

Wire

Circuit

Function

A

0.35 L-GN

2525

Rear Parking Assist Diagnostic Signal

Rear Parking Assist (RPA) Display


Object Number: 130635  Size: CH

Connector Part Information

  • OEM: 12045813
  • Service: 12101889
  • Description: 4-Way F Metri-Pack 150 Series (WH)

Terminal Part Information

  • Terminal/Tray: 12064971/5
  • Core/Insulation Crimp: E/C
  • Release Tool/Test Probe: 12094429/J-35616-2A (GY)

Rear Parking Assist (RPA) Display

Pin

Wire

Circuit

Function

A

0.35 WH

2370

Telltale Assembly Supply Voltage

B

0.35 OG

2371

Left Amber Indicator Control

C

0.35 D-BU

2372

Center Amber Indicator Control

D

0.35 GY

2373

Red Indicator Control

Rear Window Defogger Grid X1


Object Number: 365953  Size: CH

Connector Part Information

  • OEM: 12004201
  • Service: 12004201
  • Description: 1-Way M 56 Series (BK)

Terminal Part Information

  • Terminal/Tray: 12015878/18
  • Core/Insulation Crimp: F/G
  • Release Tool/Test Probe: 12094430/J-35616-43 (RD)

Rear Window Defogger Grid X1

Pin

Wire

Circuit

Function

A

3 RD

34

Rear Defog Element Supply Voltage

Rear Window Defogger Grid X2


Object Number: 365953  Size: CH

Connector Part Information

  • OEM: 12004201
  • Service: 12004201
  • Description: 1-Way M 56 Series (BK)

Terminal Part Information

  • Terminal/Tray: 12015878/18
  • Core/Insulation Crimp: F/G
  • Release Tool/Test Probe: 12094430/J-35616-43 (RD)

Rear Window Defogger Grid X2

Pin

Wire

Circuit

Function

A

3 BK

150

Ground

Recirculation Actuator


Object Number: 704047  Size: CH

Connector Part Information

  • OEM: 12059110
  • Service: 88953271
  • Description: 2-Way F Metri-Pack 150 Series (BK)

Terminal Part Information

  • Terminal/Tray: 12064971/5
  • Core/Insulation Crimp: E/C
  • Release Tool/Test Probe: 12094429/J-35616-F2A (GY)

Recirculation Actuator

Pin

Wire

Circuit

Function

A

0.35 L-GN/BK

1647

Recirculation Door Control A

B

0.35 PK/WH

1648

Recirculation Door Control B

Remote CD Changer X1


Object Number: 1283837  Size: CH

Connector Part Information

  • OEM: 15422427
  • Service: 89046662
  • Description: 16-Way F (WH)

Terminal Part Information

  • Terminal/Tray: 7116-1261/27
  • Core/Insulation Crimp: Pins 1, 16 - K/K
  • Core/Insulation Crimp: Pins 5, 10, 11, 13, 14, 15 - J/J
  • Release Tool/Test Probe: 12152110/J-35616-16 (L-GN)

Remote CD Changer X1

Pin

Wire

Circuit

Function

1

0.5 BK/WH

651

Ground

2-4

--

--

Not Used

5

0.35 D-GN/WH

368

Right Audio Signal (U2K)

6-9

--

--

Not Used

10

0.35 PU

1375

Steering Wheel Control Supply Voltage

11

0.35 D-BU

1796

Steering Wheel Control Signal

12

--

--

Not Used

13

0.35 TN/WH

372

Audio Common (U2K)

14

0.35 BN/WH

367

Left Audio Signal (U2K)

15

0.35 TN

5072

Class 2 Serial Data

16

0.5 RD/WH

740

Battery Positive Voltage

Remote CD Changer X2


Object Number: 1283836  Size: CH

Connector Part Information

  • OEM: 15422428
  • Service: 89046661
  • Description: 20-Way F (WH)

Terminal Part Information

  • Terminal/Tray: 7116-1261/27
  • Core/Insulation Crimp: J/J
  • Release Tool/Test Probe: 12152110/J-35616-16 (L-GN)

Remote CD Changer X2

Pin

Wire

Circuit

Function

1-3

--

--

Not Used

4

0.35 TN

511

Left Low Level Audio Signal (+)

5

0.35 D-GN/WH

512

Right Low Level Audio Signal (+)

6

0.35 TN

511

Left Low Level Audio Signal (+)

7

0.35 D-GN/WH

512

Right Low Level Audio Signal (+)

8-13

--

--

Not Used

14

0.35 D-GN

1947

Left Low Level Audio Signal (-)

15

0.35 L-GN

1948

Right Low Level Audio Signal (-)

16

0.35 D-GN

1947

Left Low Level Audio Signal (-)

17

0.35 BARE

2011

Drain

18

0.35 L-GN

1948

Right Low Level Audio Signal (-)

19-20

--

--

Not Used

Remote Control Door Lock Receiver (RCDLR) X1


Object Number: 800518  Size: CH

Connector Part Information

  • OEM: 15332177
  • Service: 15332177
  • Description: 16-Way F GT 150 Series (BK)

Terminal Part Information

  • Terminal/Tray: 12191812/19
  • Core/Insulation Crimp: Pins A, B, H - C/A
  • Core/Insulation Crimp: Pins C-G, J, L, N, P, R, S - E/C
  • Release Tool/Test Probe: 15315247/J-35616-2A (GY)

Remote Control Door Lock Receiver (RCDLR) X1

Pin

Wire

Circuit

Function

A

0.8 D-BU

5876

Front Passenger Door Latch Enable Control

B

0.8 L-GN/BK

5703

Driver Door Latch Enable Control

C

0.35 PK

3

Ignition 1 Voltage

D

0.35 D-GN/WH

1135

A/T Shift Lock Control Solenoid Control

E

0.35 OG

5880

Left Front Interior Door Handle Switch Signal

F

0.35 PU

5877

Right Front Interior Door Handle Switch Signal

G

0.35 L-BU/WH

5725

RCDLR Ignition Mode Data Signal

H

0.8 RD/WH

2440

Battery Positive Voltage

J

0.35 L-BU

5726

RCDLR Ignition Mode Ground

K

--

--

Not Used

L

0.35 PK

1045

RFA Class 2 Serial Data

M

--

--

Not Used

N

0.35 L-BU

395

Right Front Exterior Door Handle Switch Signal

P

0.35 TN

1576

Trunk Release Switch Signal

R

0.35 L-GN/BK

394

Left Front Exterior Door Handle Switch Signal

S

0.5 BK/WH

851

Ground

Remote Control Door Lock Receiver (RCDLR) X2


Object Number: 646384  Size: CH

Connector Part Information

  • OEM: 15332153
  • Service: 88986440
  • Description: 10-Way F GT 150 Series (BK)

Terminal Part Information

  • Terminal/Tray: 12191812/19
  • Core/Insulation Crimp: E/C
  • Release Tool/Test Probe: 15315247/J-35616-2A (GY)

Remote Control Door Lock Receiver (RCDLR) X2

Pin

Wire

Circuit

Function

A

0.35 OG

5708

Keyless Entry Antenna - Back Up Signal

B

0.35 TN

219

Low Reference

C

0.35 L-GN

5707

Keyless Entry Antenna - Right Signal

D

0.35 PK

5709

Keyless Entry Antenna - Rear Compartment Signal

E

--

--

Not Used

F

0.35 OG/BK

5712

Low Reference

G

0.35 PU

218

Keyless Entry Antenna - Left Signal

H

0.35 L-GN/BK

5711

Low Reference

J

0.35 PK/BK

5713

Low Reference

K

--

--

Not Used

Repeater Lamp - Left Front (T90)


Object Number: 635009  Size: CH

Connector Part Information

  • OEM: 12052641
  • Service: 12102747
  • Description: 2-Way F Metri-Pack 150 Series (BK)

Terminal Part Information

  • Terminal/Tray: 12048074/2
  • Core/Insulation Crimp: E/1
  • Release Tool/Test Probe: 12094429/J-35616-2A (GY)

Repeater Lamp - Left Front (T90)

Pin

Wire

Circuit

Function

A

0.35 L-BU/WH

1314

Left Front Turn Signal Lamp Supply Voltage

B

0.35 BK

1350

Ground

Repeater Lamp - Right Front (T90)


Object Number: 635009  Size: CH

Connector Part Information

  • OEM: 12052641
  • Service: 12102747
  • Description: 2-Way F Metri-Pack 150 Series (BK)

Terminal Part Information

  • Terminal/Tray: 12048074/2
  • Core/Insulation Crimp: E/1
  • Release Tool/Test Probe: 12094429/J-35616-2A (GY)

Repeater Lamp - Right Front (T90)

Pin

Wire

Circuit

Function

A

0.35 D-BU/WH

1315

Right Front Turn Signal Lamp Supply Voltage

B

0.35 BK

1250

Ground

Seat Adjuster Motor Assembly - Driver X1


Object Number: 39689  Size: CH

Connector Part Information

  • OEM: 12064754
  • Service: 15305872
  • Description: 6-Way M Metri-Pack 280 Series, Self Lock (BK)

Terminal Part Information

  • Terminal/Tray: 12084856/4
  • Core/Insulation Crimp: F/G
  • Release Tool/Test Probe: 12094430/J-35616-5 (PU)

Seat Adjuster Motor Assembly - Driver X1

Pin

Wire

Circuit

Function

A

2 TN

285

Driver Seat Horizontal Motor Forward Control

B

2 L-GN

284

Driver Seat Horizontal Motor Rearward Control

C

2 D-GN

286

Driver Seat Front Vertical Motor Up Control

D

2 D-BU

287

Driver Seat Front Vertical Motor Down Control

E

2 YE

282

Driver Seat Rear Vertical Motor Up Control

F

2 L-BU

283

Driver Seat Rear Vertical Motor Down Control

Seat Adjuster Motor Assembly - Driver X2


Object Number: 333035  Size: CH

Connector Part Information

  • OEM: 12047781
  • Service: 12101864
  • Description: 3-Way F Metri-Pack 150 Series (BK)

Terminal Part Information

  • Terminal/Tray: 12064971/5
  • Core/Insulation Crimp: E/C
  • Release Tool/Test Probe: 12094429/J-35616-14 (GN)

Seat Adjuster Motor Assembly - Driver X2

Pin

Wire

Circuit

Function

A

0.35 TN

782

Low Reference

B

0.35 BN/WH

557

Front Vertical Seat Motor Position Sensor Signal

C

0.35 GY

788

5-Volt Reference

Seat Adjuster Motor Assembly - Driver X3


Object Number: 333035  Size: CH

Connector Part Information

  • OEM: 12047781
  • Service: 12101864
  • Description: 3-Way F Metri-Pack 150 Series (BK)

Terminal Part Information

  • Terminal/Tray: 12064971/5
  • Core/Insulation Crimp: E/C
  • Release Tool/Test Probe: 12094429/J-35616-14 (GN)

Seat Adjuster Motor Assembly - Driver X3

Pin

Wire

Circuit

Function

A

0.35 TN

782

Low Reference

B

0.35 TN

568

Rear Vertical Seat Motor Position Sensor Signal

C

0.35 GY

788

5-Volt Reference

Seat Adjuster Motor Assembly - Driver X4


Object Number: 333035  Size: CH

Connector Part Information

  • OEM: 12047781
  • Service: 12101864
  • Description: 3-Way F Metri-Pack 150 Series (BK)

Terminal Part Information

  • Terminal/Tray: 12064971/5
  • Core/Insulation Crimp: E/C
  • Release Tool/Test Probe: 12094429/J-35616-14 (GN)

Seat Adjuster Motor Assembly - Driver X4

Pin

Wire

Circuit

Function

A

0.35 GY

788

5-Volt Reference

B

0.35 D-GN

569

Horizontal Seat Motor Position Sensor Signal

C

0.35 TN

782

Low Reference

Seat Adjuster Motor Assembly - Passenger


Object Number: 39689  Size: CH

Connector Part Information

  • OEM: 12064754
  • Service: 15305872
  • Description: 6-Way M Metri-Pack 280 Series, Self Lock (BK)

Terminal Part Information

  • Terminal/Tray: 12084856/4
  • Core/Insulation Crimp: F/G
  • Release Tool/Test Probe: 12094430/J-35616-5 (PU)

Seat Adjuster Motor Assembly - Passenger

Pin

Wire

Circuit

Function

A

3 TN

296

Passenger Seat Horizontal Motor Forward Control

B

3 L-GN

290

Passenger Seat Horizontal Motor Rearward Control

C

3 D-GN

297

Passenger Seat Front Vertical Motor Up Control

D

3 D-BU

298

Passenger Seat Front Vertical Motor Down Control

E

3 YE

288

Passenger Seat Rear Vertical Motor Up Control

F

3 L-BU

289

Passenger Seat Rear Vertical Motor Down Control

Seat Adjuster Switch - Driver


Object Number: 623046  Size: CH

Connector Part Information

  • OEM: 15326931
  • Service: 15306309
  • Description: 10-Way F GT 280 Series (BK)

Terminal Part Information

  • Terminal/Tray: 15304711/8
  • Core/Insulation Crimp: E/A
  • Release Tool/Test Probe: 15315247/J-35616-4A (PU)

Seat Adjuster Switch - Driver

Pin

Wire

Circuit

Function

A

0.35 D-GN/WH

1270

Power Seat Recline Rearward Switch Signal

B

--

--

Not Used

C

0.35 L-GN

1523

Power Seat Horizontal Rearward Switch Signal

D

0.35 TN

1522

Power Seat Horizontal Forward Switch Signal

E

0.35 RD/WH

440

Battery Positive Voltage

F

0.35 D-GN/BK

1269

Power Seat Recline Forward Switch Signal

G

0.35 L-BU

1521

Power Seat Rear Vertical Down Switch Signal

H

0.35 YE

1519

Power Seat Rear Vertical Up Switch Signal

J

0.35 D-BU

1520

Power Seat Front Vertical Down Switch Signal

K

0.35 D-GN

1518

Power Seat Front Vertical Up Switch Signal

Seat Adjuster Switch - Passenger


Object Number: 623046  Size: CH

Connector Part Information

  • OEM: 15326931
  • Service: 15306309
  • Description: 10-Way F GT 280 Series (BK)

Terminal Part Information

  • Pins: A-C, E-K
  • Terminal/Tray: 15304713/19
  • Core/Insulation Crimp: F/D
  • Release Tool/Test Probe: 15315247/J-35616-4A (PU)
  • Pins: D
  • Terminal/Tray: 15304711/8
  • Core/Insulation Crimp: E/A
  • Release Tool/Test Probe: 15315247/J-35616-4A (PU)

Seat Adjuster Switch - Passenger

Pin

Wire

Circuit

Function

A

3 RD/WH

1540

Battery Positive Voltage

B

3 L-GN

290

Passenger Seat Horizontal Motor Rearward Control

C

3 TN

296

Passenger Seat Horizontal Motor Forward Control

D

0.5 BK

750

Ground

E

3 D-GN

76

Passenger Seat Recline Motor Forward Control

F

3 D-BU

298

Passenger Seat Front Vertical Motor Down Control

G

3 D-GN

297

Passenger Seat Front Vertical Motor Up Control

H

3 L-BU

289

Passenger Seat Rear Vertical Motor Down Control

J

3 YE

288

Passenger Seat Rear Vertical Motor Up Control

K

3 D-BU

77

Passenger Seat Recline Motor Rearward Control

Seat Back Ventilation Heating and Cooling Module - Driver


Object Number: 1283896  Size: CH

Connector Part Information

  • OEM: 7282-5532-40
  • Service: 89046743
  • Description: 6-Way M (GY)

Terminal Part Information

  • Terminal/Tray: 7114-4100-08/9
  • Core/Insulation Crimp: E/C
  • Release Tool/Test Probe: 15315247/J-35616-3 (GY)

Seat Back Ventilation Heating and Cooling Module - Driver

Pin

Wire

Circuit

Function

1

--

--

Not Used

2

0.35 PK

2426

Low Reference

3

0.35 D-BU

2425

Driver Seat Back Temperature Sensor Signal

4

0.5 PU

2424

Driver Seat Back Heated/Cool Ventilation Module Cool Control

5

--

--

Not Used

6

0.5 BN

2432

Driver Seat Back Heated/Cool Ventilation Module Heat Control

Seat Back Ventilation Heating and Cooling Module - Passenger


Object Number: 1283896  Size: CH

Connector Part Information

  • OEM: 7282-5532-40
  • Service: 89046743
  • Description: 6-Way M (GY)

Terminal Part Information

  • Terminal/Tray: 7114-4100-08/9
  • Core/Insulation Crimp: E/C
  • Release Tool/Test Probe: 15315247/J-35616-3 (GY)

Seat Back Ventilation Heating and Cooling Module - Passenger

Pin

Wire

Circuit

Function

1

--

--

Not Used

2

0.35 PK

2426

Low Reference

3

0.35 D-BU

2425

Passenger Seat Back Temperature Sensor Signal

4

0.5 PU

2424

Passenger Seat Back Heated/Cool Ventilation Module Cool Control

5

--

--

Not Used

6

0.5 BN

2432

Passenger Seat Back Heated/Cool Ventilation Module Heat Control

Seat Belt Pretensioner - Driver


Object Number: 739643  Size: CH

Connector Part Information

  • OEM: 15304649
  • Service: 15306061
  • Description: 2-Way F (YE)

Terminal Part Information

  • Terminal/Tray: Service with Pigtail
  • Core/Insulation Crimp: See Terminal Repair Kit
  • Release Tool/Test Probe: See Terminal Repair Kit

Seat Belt Pretensioner - Driver

Pin

Wire

Circuit

Function

1

0.5 TN/WH

2118

Seat Belt Pretensioner - Left - High Control

2

0.5 OG/BK

2119

Seat Belt Pretensioner - Left - Low Control

Seat Belt Pretensioner - Passenger


Object Number: 739643  Size: CH

Connector Part Information

  • OEM: CA-252-92-4 R
  • Service: See Catalog
  • Description: 2-Way F (YE)

Terminal Part Information

  • Terminal/Tray: Service with Pigtail
  • Core/Insulation Crimp: See Terminal Repair Kit
  • Release Tool/Test Probe: See Terminal Repair Kit

Seat Belt Pretensioner - Passenger

Pin

Wire

Circuit

Function

1

0.5 L-GN

2116

Seat Belt Pretensioner - Right - High Control

2

0.5 OG

2117

Seat Belt Pretensioner - Right - Low Control

Seat Belt Switch - Driver


Object Number: 35441  Size: CH

Connector Part Information

  • OEM: 12047663
  • Service: 12085481
  • Description: 2-Way M Metri-Pack 150 Series (BK)

Terminal Part Information

  • Terminal/Tray: See Terminal Repair Kit
  • Core/Insulation Crimp: See Terminal Repair Kit
  • Release Tool/Test Probe: See Terminal Repair Kit

Seat Belt Switch - Driver

Pin

Wire

Circuit

Function

A

0.35 TN/WH

238

Seat Belt Switch Signal - Left

B

0.35 PK

5057

Low Reference

Seat Belt Switch - Passenger


Object Number: 35441  Size: CH

Connector Part Information

  • OEM: 12047663
  • Service: 12085481
  • Description: 2-Way M Metri-Pack 150 Series (BK)

Terminal Part Information

  • Terminal/Tray: See Terminal Repair Kit
  • Core/Insulation Crimp: See Terminal Repair Kit
  • Release Tool/Test Probe: See Terminal Repair Kit

Seat Belt Switch - Passenger

Pin

Wire

Circuit

Function

A

0.35 OG

1362

Seat Belt Switch Signal - Right

B

0.35 PK

5057

Low Reference

Seat Climate Control Module - Driver X1


Object Number: 62450  Size: CH

Connector Part Information

  • OEM: 12052856
  • Service: 12125636
  • Description: 4-Way F Metri-Pack 280 Series (BK)

Terminal Part Information

  • Terminal/Tray: 12034046/2
  • Core/Insulation Crimp: E/A
  • Release Tool/Test Probe: 12094430/J-35616-4A (PU)

Seat Climate Control Modulee - Driver X1

Pin

Wire

Circuit

Function

A

--

--

Not Used

B

0.35 PK

1139

Ignition 1 Voltage

C

0.8 BK

1150

Ground

D

0.8 RD/WH

1640

Battery Positive Voltage

Seat Climate Control Module - Driver X2


Object Number: 1317472  Size: CH

Connector Part Information

  • OEM: 638082-1
  • Service: See Catalog
  • Description: 20-Way M Hybrid (BK)

Terminal Part Information

  • Pins: 1-3
  • Terminal/Tray: 7116-4100-08/9
  • Core/Insulation Crimp: E/C
  • Release Tool/Test Probe: 12094430/J-35616-2A (GY)
  • Pins: 10-15, 17-20
  • Terminal/Tray: See Terminal Repair Kit
  • Core/Insulation Crimp: See Terminal Repair Kit
  • Release Tool/Test Probe: See Terminal Repair Kit

Seat Climate Control Module - Driver X2

Pin

Wire

Circuit

Function

1

0.5 PK

2077

Driver Seat Cushion Heated/Cool Ventilation Module Heat Control

2

0.5 L-GN

2078

Driver Seat Cushion Heated/Cool Ventilation Module Cool Control

3

0.5 GY

5912

Low Reference

4-9

--

--

Not Used

10

0.35 D-GN

5918

Driver Seat Blower Voltage Reference

11

0.5 BN

2432

Driver Seat Back Heated/Cool Ventilation Module Heat Control

12

0.5 PU

2424

Driver Seat Back Heated/Cool Ventilation Module Cool Control

13

0.5 OG

5919

Driver Seat Blower Speed Control

14

0.35 L-BU/WH

5917

Driver Seat Blower Tachometer Signal

15

0.35 PK

1501

HVAC Heated/Cool Seat Mode Signal

16

--

--

Not Used

17

0.35 YE

2080

Low Reference

18

0.35 YE/BK

2079

Driver Seat Cushion Temperature Sensor Signal

19

0.35 D-BU

2425

Driver Seat Back Temperature Sensor Signal

20

0.35 PK

2426

Low Reference

Seat Climate Control Module - Passenger X1


Object Number: 62450  Size: CH

Connector Part Information

  • OEM: 12052856
  • Service: 12125636
  • Description: 4-Way F Metri-Pack 280 Series (BK)

Terminal Part Information

  • Terminal/Tray: 12034046/2
  • Core/Insulation Crimp: E/A
  • Release Tool/Test Probe: 12094430/J-35616-4A (PU)

Seat Climate Control Module - Passenger X1

Pin

Wire

Circuit

Function

A

--

--

Not Used

B

0.35 PK

1139

Ignition 1 Voltage

C

0.8 BK

750

Ground

D

0.8 RD/WH

3240

Battery Positive Voltage

Seat Climate Control Module - Passenger X2


Object Number: 1317472  Size: CH

Connector Part Information

  • OEM: 638082-1
  • Service: See Catalog
  • Description: 20-Way F Hybrid (BK)

Terminal Part Information

  • Pins: 1, 2, 11, 12
  • Terminal/Tray: 7116-4100-08/9
  • Core/Insulation Crimp: E/C
  • Release Tool/Test Probe: 12094430/J-35616-4A (PU)
  • Pins: 3, 10, 13-15, 17-20
  • Terminal/Tray: See Terminal Repair Kit
  • Core/Insulation Crimp: See Terminal Repair Kit
  • Release Tool/Test Probe: See Terminal Repair Kit

Seat Climate Control Module - Passenger X2

Pin

Wire

Circuit

Function

1

0.5 D-BU

2479

Passenger Seat Cushion Heated/Cool Ventilation Module Heat Control

2

0.5 PK

2480

Passenger Seat Cushion Heated/Cool Ventilation Module Cool Control

3

0.5 L-GN

5916

Low Reference

4-9

--

--

Not Used

10

0.35 WH

5914

Passenger Seat Blower Voltage Reference

11

0.5 TN

2481

Passenger Seat Back Heated/Cool Ventilation Module Heat Control

12

0.5 L-BU

2433

Passenger Seat Back Heated/Cool Ventilation Module Cool Control

13

0.5 D-BU

5915

Passenger Seat Blower Speed Control

14

0.35 BN/WH

5913

Passenger Seat Blower Tachometer Signal

15

0.35 PK/BK

1503

HVAC Heated/Cool Seat Mode Signal

16

--

--

Not Used

17

0.35 PK

2435

Low Reference

18

0.35 GY

2434

Passenger Seat Cushion Temperature Sensor Signal

19

0.35 TN

2436

Passenger Seat Back Temperature Sensor Signal

20

0.35 TN

2482

Low Reference

Seat Cushion Ventilation Heating and Cooling Module - Driver


Object Number: 1283896  Size: CH

Connector Part Information

  • OEM: 7283-5532-40
  • Service: 89046849
  • Description: 6-Way M (GY)

Terminal Part Information

  • Terminal/Tray: 7114-4100-08/9
  • Core/Insulation Crimp: E/C
  • Release Tool/Test Probe: 15315247/J-35616-3 (GY)

Seat Cushion Ventilation Heating and Cooling Module - Driver

Pin

Wire

Circuit

Function

1

--

--

Not Used

2

0.35 YE

2080

Low Reference

3

0.35 YE/BK

2079

Driver Seat Cushion Temperature Sensor Signal

4

0.5 L-GN

2078

Driver Seat Cushion Heated/Cool Ventilation Module Cool Control

5

--

--

Not Used

6

0.5 PK

2077

Driver Seat Cushion Heated/Cool Ventilation Module Heat Control

Seat Cushion Ventilation Heating and Cooling Module - Passenger


Object Number: 1283896  Size: CH

Connector Part Information

  • OEM: 7282-5532-40
  • Service: 89046743
  • Description: 6-Way M (GY)

Terminal Part Information

  • Terminal/Tray: 7114-4100-08/9
  • Core/Insulation Crimp: E/C
  • Release Tool/Test Probe: 15315247/J-35616-3 (GY)

Seat Cushion Ventilation Heating and Cooling Module - Passenger

Pin

Wire

Circuit

Function

1

--

--

Not Used

2

0.35 PK

2435

Low Reference

3

0.35 GY

2434

Passenger Seat Cushion Temperature Sensor Signal

4

0.5 PK

2480

Passenger Seat Cushion Heated/Cool Ventilation Module Cool Control

5

--

--

Not Used

6

0.5 D-BU

2479

Passenger Seat Cushion Heated/Cool Ventilation Module Heat Control

Seat Lumbar Adjuster Switch - Driver Lower


Object Number: 62432  Size: CH

Connector Part Information

  • OEM: 12041429
  • Service: 12167129
  • Description: 5-Way F Metri-Pack 280 Series (BK)

Terminal Part Information

  • Terminal/Tray: 12034046/2
  • Core/Insulation Crimp: E/A
  • Release Tool/Test Probe: 12094430/J-35616-4A (PU)

Seat Lumbar Adjuster Switch - Driver Lower

Pin

Wire

Circuit

Function

A

--

--

Not Used

B

0.5 YE

386

Driver Seat Lower Lumbar Deflate Control

C

--

--

Not Used

D

0.5 RD/WH

2240

Battery Positive Voltage

E

0.5 PK

789

Driver Seat Lower Lumbar Inflate Control

Seat Lumbar Adjuster Switch - Driver Upper


Object Number: 62432  Size: CH

Connector Part Information

  • OEM: 12041429
  • Service: 12167129
  • Description: 5-Way F Metri-Pack 280 Series (BK)

Terminal Part Information

  • Terminal/Tray: 12034046/2
  • Core/Insulation Crimp: E/A
  • Release Tool/Test Probe: 12094430/J-35616-4A (PU)

Seat Lumbar Adjuster Switch - Driver Upper

Pin

Wire

Circuit

Function

A

--

--

Not Used

B

0.5 GY

764

Driver Seat Upper Lumber Deflate Control

C

--

--

Not Used

D

0.5 RD/WH

2240

Battery Positive Voltage

E

0.5 YE

777

Driver Seat Upper Lumbar Inflate Control

Seat Lumbar Adjuster Switch - Passenger Lower


Object Number: 62432  Size: CH

Connector Part Information

  • OEM: 12041429
  • Service: 12167129
  • Description: 5-Way F Metri-Pack 280 Series (BK)

Terminal Part Information

  • Terminal/Tray: 12034046/2
  • Core/Insulation Crimp: E/A
  • Release Tool/Test Probe: 12094430/J-35616-4A (PU)

Seat Lumbar Adjuster Switch - Passenger Lower

Pin

Wire

Circuit

Function

A

--

--

Not Used

B

0.5 YE

757

Passenger Seat Lower Lumbar Deflate Control

C

--

--

Not Used

D

0.5 RD/WH

2240

Battery Positive Voltage

E

0.5 L-BU

1259

Passenger Seat Lower Lumbar Inflate Control

Seat Lumbar Adjuster Switch - Passenger Upper


Object Number: 62432  Size: CH

Connector Part Information

  • OEM: 12041429
  • Service: 12167129
  • Description: 5-Way F Metri-Pack 280 Series (BK)

Terminal Part Information

  • Terminal/Tray: 12034046/2
  • Core/Insulation Crimp: E/A
  • Release Tool/Test Probe: 12094430/J-35616-4A (PU)

Seat Lumbar Adjuster Switch - Passenger Upper

Pin

Wire

Circuit

Function

A

--

--

Not Used

B

0.5 GY

1805

Passenger Seat Upper Lumber Deflate Control

C

--

--

Not Used

D

0.5 RD/WH

2240

Battery Positive Voltage

E

0.5 OG

1261

Passenger Seat Upper Lumbar Inflate Control

Seat Lumbar Pump/Control Module - Driver


Object Number: 808703  Size: CH

Connector Part Information

  • OEM: 12064770
  • Service: 12101823
  • Description: 10-Way M Metri-Pack 150 Series (WH)

Terminal Part Information

  • Terminal/Tray: 12047581/2
  • Core/Insulation Crimp: E/C
  • Release Tool/Test Probe: 12094429/J-35616-3 (GY)

Seat Lumbar Pump/Control Module - Driver

Pin

Wire

Circuit

Function

A

0.5 BK

1150

Ground

B

--

--

Not Used

C

0.5 YE

386

Driver Seat Lower Lumbar Deflate Control

D

0.5 GY

764

Driver Seat Upper Lumber Deflate Control

E-F

--

--

Not Used

G

0.5 YE

777

Driver Seat Upper Lumbar Inflate Control

H

0.5 PK

789

Driver Seat Lower Lumbar Inflate Control

J

--

--

Not Used

K

0.5 RD/WH

2240

Battery Positive Voltage

Seat Lumbar Pump/Control Module - Passenger


Object Number: 808703  Size: CH

Connector Part Information

  • OEM: 12064770
  • Service: 12101823
  • Description: 10-Way M Metri-Pack 150 Series (WH)

Terminal Part Information

  • Terminal/Tray: 12047581/2
  • Core/Insulation Crimp: E/C
  • Release Tool/Test Probe: 12094429/J-35616-3 (GY)

Seat Lumbar Pump/Control Module - Passenger

Pin

Wire

Circuit

Function

A

0.5 BK

750

Ground

B

--

--

Not Used

C

0.5 YE

757

Passenger Seat Lower Lumbar Deflate Control

D

0.5 GY

1805

Passenger Seat Upper Lumber Deflate Control

E-F

--

--

Not Used

G

0.5 OG

1261

Passenger Seat Upper Lumbar Inflate Control

H

0.5 L-BU

1259

Passenger Seat Lower Lumbar Inflate Control

J

--

--

Not Used

K

0.5 RD/WH

2240

Battery Positive Voltage

Seat Recline Motor - Driver X1


Object Number: 130706  Size: CH

Connector Part Information

  • OEM: 12052110
  • Service: 12102768
  • Description: 2-Way F Metri-Pack 480 Series (WH)

Terminal Part Information

  • Terminal/Tray: 12124304/2
  • Core/Insulation Crimp: A/B
  • Release Tool/Test Probe: 12094430/J-35616-40 (BU)

Seat Recline Motor - Driver X1

Pin

Wire

Circuit

Function

A

2 L-GN

276

Driver Seat Recline Motor Forward Control

B

2 L-BU

277

Driver Seat Recline Motor Rearward Control

Seat Recline Motor - Driver X2


Object Number: 405591  Size: CH

Connector Part Information

  • OEM: 12059583
  • Service: 15305814
  • Description: 4-Way F Metri-Pack 150 Series (WH)

Terminal Part Information

  • Terminal/Tray: 12064971/5
  • Core/Insulation Crimp: E/C
  • Release Tool/Test Probe: 12094429/J-35616-14 (GN)

Seat Recline Motor - Driver X2

Pin

Wire

Circuit

Function

A

0.35 GY

788

5-Volt Reference

B

--

--

Not Used

C

0.35 WH/BK

570

Driver Seat Recline Motor Position Sensor Signal

D

0.35 TN

782

Low Reference

Seat Recline Motor - Passenger


Object Number: 38284  Size: CH

Connector Part Information

  • OEM: 12052110
  • Service: 12052110
  • Description: 2-Way M Metri-Pack 480 Series (WH)

Terminal Part Information

  • Terminal/Tray: 12084595/2
  • Core/Insulation Crimp: F/G
  • Release Tool/Test Probe: 12094430/J-35616-40 (BU)

Seat Recline Motor - Passenger

Pin

Wire

Circuit

Function

A

3 D-GN

76

Passenger Seat Recline Motor Forward Control

B

3 D-BU

77

Passenger Seat Recline Motor Rearward Control

Seat Ventilation Heating and Cooling Blower - Driver


Object Number: 1464335  Size: CH

Connector Part Information

  • OEM: 7282-5531-40
  • Service: 88988483
  • Description: 4-Way M YESC/USCAR Class III Series (GY)

Terminal Part Information

  • Terminal/Tray: 7114-4100-08/9
  • Core/Insulation Crimp: E/C
  • Release Tool/Test Probe: 15315247/J-35616-3 (GY)

Seat Ventilation Heating and Cooling Blower - Driver

Pin

Wire

Circuit

Function

1

0.35 D-GN

5918

Driver Seat Blower Voltage Reference

2

0.35 L-BU/WH

5917

Driver Seat Blower Tachometer Signal

3

0.5 OG

5919

Driver Seat Blower Speed Control

4

0.5 GY

5912

Low Reference

Seat Ventilation Heating and Cooling Blower - Passenger


Object Number: 1464335  Size: CH

Connector Part Information

  • OEM: 7282-5531-41
  • Service: 88988483
  • Description: 4-Way M YESC/USCAR Class III Series (GY)

Terminal Part Information

  • Terminal/Tray: 7114-4100-08/9
  • Core/Insulation Crimp: E/C
  • Release Tool/Test Probe: 15315247/J-35616-3 (GY)

Seat Ventilation Heating and Cooling Blower - Passenger

Pin

Wire

Circuit

Function

1

0.35 WH

5914

Passenger Seat Blower Voltage Reference

2

0.35 BN/WH

5913

Passenger Seat Blower Tachometer Signal

3

0.5 D-BU

5915

Passenger Seat Blower Speed Control

4

0.5 L-GN

5916

Low Reference

Speaker - Center I/P


Object Number: 280768  Size: CH

Connector Part Information

  • OEM: 12052832
  • Service: 12101825
  • Description: 2-Way F Metri-Pack 150 Series (BK)

Terminal Part Information

  • Terminal/Tray: 12064971/5
  • Core/Insulation Crimp: E/C
  • Release Tool/Test Probe: 12094429/J-35616-2A (GY)

Speaker - Center I/P

Pin

Wire

Circuit

Function

A

0.5 L-BU

1960

Front Center Speaker Output (-)

B

0.5 YE

1860

Front Center Speaker Output (+)

Speaker - Driver Seat Left


Object Number: 82383  Size: CH

Connector Part Information

  • OEM: 12047662
  • Service: 12085535
  • Description: 2-Way F Metri-Pack 150 Series (BK)

Terminal Part Information

  • Terminal/Tray: 12064971/5
  • Core/Insulation Crimp: E/C
  • Release Tool/Test Probe: 12094429/J-35616-14 (GN)

Speaker - Driver Seat Left

Pin

Wire

Circuit

Function

A

0.5 L-BU

115

Left Seat Speaker Output (-)

B

0.5 D-BU

46

Left Seat Speaker Output (+)

Speaker - Driver Seat Right


Object Number: 82383  Size: CH

Connector Part Information

  • OEM: 12047662
  • Service: 12085535
  • Description: 2-Way F Metri-Pack 150 Series (BK)

Terminal Part Information

  • Terminal/Tray: 12064971/5
  • Core/Insulation Crimp: E/C
  • Release Tool/Test Probe: 12094429/J-35616-14 (GN)

Speaker - Driver Seat Right

Pin

Wire

Circuit

Function

A

0.5 YE

116

Right Seat Speaker Output (-)

B

0.5 BN

199

Right Seat Speaker Output (+)

Speaker - Left


Object Number: 280768  Size: CH

Connector Part Information

  • OEM: 12052832
  • Service: 12101825
  • Description: 2-Way F Metri-Pack 150 Series (BK)

Terminal Part Information

  • Terminal/Tray: 12064971/5
  • Core/Insulation Crimp: E/C
  • Release Tool/Test Probe: 12094429/J-35616-2A (GY)

Speaker - Left

Pin

Wire

Circuit

Function

A

0.5 YE

1956

Left Front Midrange Speaker Output (-)

B

0.5 TN

1856

Left Front Midrange Speaker Output (+)

Speaker - Left Front Subwoofer


Object Number: 68737  Size: CH

Connector Part Information

  • OEM: 12129489
  • Service: 12126486
  • Description: 3-Way F Metri-Pack 280 Series, Flexlock (BK)

Terminal Part Information

  • Terminal/Tray: 12110844/4
  • Core/Insulation Crimp: C/A
  • Release Tool/Test Probe: 15315247/J-35616-4A (PU)

Speaker - Left Front Subwoofer

Pin

Wire

Circuit

Function

A

1 TN

201

Left Front Subwoofer Speaker Output (+)

B

--

--

Not Used

C

1 GY

118

Left Front Subwoofer Speaker Output (-)

Speaker - Passenger Seat Left


Object Number: 82383  Size: CH

Connector Part Information

  • OEM: 12047662
  • Service: 12085535
  • Description: 2-Way F Metri-Pack 150 Series (BK)

Terminal Part Information

  • Terminal/Tray: 12064971/5
  • Core/Insulation Crimp: E/C
  • Release Tool/Test Probe: 12094429/J-35616-14 (GN)

Speaker - Passenger Seat Left

Pin

Wire

Circuit

Function

A

0.5 YE

116

Left Seat Speaker Output (-)

B

0.5 BN

199

Left Seat Speaker Output (+)

Speaker - Passenger Seat Right


Object Number: 82383  Size: CH

Connector Part Information

  • OEM: 12047662
  • Service: 12085535
  • Description: 2-Way F Metri-Pack 150 Series (BK)

Terminal Part Information

  • Terminal/Tray: 12064971/5
  • Core/Insulation Crimp: E/C
  • Release Tool/Test Probe: 12094429/J-35616-14 (GN)

Speaker - Passenger Seat Right

Pin

Wire

Circuit

Function

A

0.5 L-BU

115

Right Seat Speaker Output (-)

B

0.5 D-BU

46

Right Seat Speaker Output (+)

Speaker - Right


Object Number: 280768  Size: CH

Connector Part Information

  • OEM: 12052832
  • Service: 12101825
  • Description: 2-Way F Metri-Pack 150 Series (BK)

Terminal Part Information

  • Terminal/Tray: 12064971/5
  • Core/Insulation Crimp: E/C
  • Release Tool/Test Probe: 12094429/J-35616-2A (GY)

Speaker - Right

Pin

Wire

Circuit

Function

A

0.5 PU

1952

Right Front Midrange Speaker Output (-)

B

0.5 L-GN

1852

Right Front Midrange Speaker Output (+)

Speaker - Right Front Subwoofer


Object Number: 68737  Size: CH

Connector Part Information

  • OEM: 12129489
  • Service: 12126486
  • Description: 3-Way F Metri-Pack 280 Series, Flexlock (BK)

Terminal Part Information

  • Terminal/Tray: 12110844/4
  • Core/Insulation Crimp: C/A
  • Release Tool/Test Probe: 15315247/J-35616-4A (PU)

Speaker - Right Front Subwoofer

Pin

Wire

Circuit

Function

A

1 L-GN

200

Right Front Subwoofer Speaker Output (+)

B

--

--

Not Used

C

1 D-GN

117

Right Front Subwoofer Speaker Output (-)

Steering Angle Sensor


Object Number: 40427  Size: CH

Connector Part Information

  • OEM: 12064978
  • Service: 12125678
  • Description: 6-Way F Micro-Pack 100 Series (GY)

Terminal Part Information

  • Terminal/Tray: 12146447/3
  • Core/Insulation Crimp: E/C
  • Release Tool/Test Probe: 12031876-1/J-35616-6 (BN)

Steering Angle Sensor

Pin

Wire

Circuit

Function

1

0.35 D-GN

2087

5-Volt Reference

2

0.35 L-BU

2088

Low Reference

3-4

--

--

Not Used

5

0.35 L-GN

1763

Steering Wheel Position Signal A

6

0.35 L-BU

1764

Steering Wheel Position Signal B

Steering Column Lock Control Module X1 (UA2)


Object Number: 1391782  Size: CH

Connector Part Information

  • OEM: 12196605
  • Service: 88953352
  • Description: 8-Way F Metri-Pack 280 Series (WH)

Terminal Part Information

  • Terminal/Tray: See Terminal Repair Kit
  • Core/Insulation Crimp: See Terminal Repair Kit
  • Release Tool/Test Probe: See Terminal Repair Kit

Steering Column Lock Control Module X1 (UA2)

Pin

Wire

Circuit

Function

1

0.35 D-GN/WH

1932

Transmission Shift Select Switch (Park) Signal

2

0.5 RD/WH

840

Battery Positive Voltage

3

0.35 WH

5741

Steering Column Lock Enable Relay

4

0.5 BK

1550

Ground

5

0.35 PK

639

Ignition 1 Voltage

6

0.5 BK

1550

Ground

7

0.35 OG

5739

Class 2 Serial Data

8

--

--

Not Used

Steering Column Lock Control Module X2 (UA2)


Object Number: 130637  Size: CH

Connector Part Information

  • OEM: 12064760
  • Service: 12085208
  • Description: 4-Way F Metri-Pack 150 Series (BK)

Terminal Part Information

  • Terminal/Tray: 12064971/5
  • Core/Insulation Crimp: E/C
  • Release Tool/Test Probe: 12094429/J-35616-14 (GN)

Steering Column Lock Control Module X2 (UA2)

Pin

Wire

Circuit

Function

A

0.35 L-GN

1601

Steering Column Lock Signal

B

0.35 BK

150

Ground

C

0.5 PU

1604

Steering Column Unlock Relay

D

0.5 OG

1603

Steering Column Lock Relay

Steering Wheel/Column Tilt/Telescope Actuator


Object Number: 62434  Size: CH

Connector Part Information

  • OEM: 12045688
  • Service: 12101827
  • Description: 8-Way M Metri-Pack 150 Series (BK)

Terminal Part Information

  • Terminal/Tray: 12047581/2
  • Core/Insulation Crimp: Pins A, B - E/A
  • Core/Insulation Crimp: Pins C - E - E/C
  • Release Tool/Test Probe: 12094429/J-35616-3 (GY)

Steering Wheel/Column Tilt/Telescope Actuator

Pin

Wire

Circuit

Function

A

1 TN

2110

Steering Column Telescope Motor Control - Reverse

B

1 RD

2098

Steering Column Telescope Motor Control - Forward

C

0.35 OG

2153

Steering Column Telescope Sensor Signal

D

0.35 GY

788

5-Volt Reference

E

0.35 TN

782

Low Reference

F-H

--

--

Not Used

Steering Wheel/Column Tilt/Telescope Switch


Object Number: 877907  Size: CH

Connector Part Information

  • OEM: 12065781
  • Service: 12101876
  • Description: 6-Way M 701 Series (GY)

Terminal Part Information

  • Terminal/Tray: 12047581/2
  • Core/Insulation Crimp: E/C
  • Release Tool/Test Probe: 12094429/J-35616-3 (GY)

Steering Wheel/Column Tilt/Telescope Switch

Pin

Wire

Circuit

Function

A

0.35 GY

2096

Steering Column Tilt Up Switch Signal

B

0.35 YE

2097

Steering Column Tilt Down Switch Signal

C

0.35 OG

2095

Steering Column Telescope Reverse Switch Signal

D

0.35 PK

2094

Steering Column Telescope Forward Switch Signal

E

--

--

Not Used

F

0.35 RD/WH

440

Battery Positive Voltage

Steering Wheel Control Switch - Left


Object Number: 1283887  Size: CH

Connector Part Information

  • OEM: 50-57-9408
  • Service: Not Serviced
  • Description: 8-Way F (BK)

Terminal Part Information

  • Terminal/Tray: See Terminal Repair Kit
  • Core/Insulation Crimp: See Terminal Repair Kit
  • Release Tool/Test Probe: See Terminal Repair Kit

Steering Wheel Control Switch - Left

Pin

Wire

Circuit

Function

1

0.35 WH

--

Auxiliary Power Relay Coil Supply Voltage

2

0.35 TN

--

ACC Gap Adjustment Switch Signal

3

0.35 YE

--

Backlight Lamps Control

4

0.35 BK

--

Ground

5

0.35 D-BU

--

Remote Radio Signal

6

0.35 L-GN

--

Steering Wheel Controls Signal

7

0.35 WH

--

Heated Steering Wheel Switch LED Control

8

0.35 YE

--

Heated Steering Wheel Switch Control

Steering Wheel Control Switch - Right


Object Number: 605511  Size: CH

Connector Part Information

  • OEM: 50-57-9405
  • Service: Not Serviced
  • Description: 5-Way F (BK)

Terminal Part Information

  • Terminal/Tray: See Terminal Repair Kit
  • Core/Insulation Crimp: See Terminal Repair Kit
  • Release Tool/Test Probe: See Terminal Repair Kit

Steering Wheel Control Switch - Right

Pin

Wire

Circuit

Function

1

0.35 PU

--

Steering Wheel Control Supply Voltage

2

0.35 L-GN

--

Steering Wheel Controls Signal

3

0.35 YE

--

Backlight Lamps Control

4

0.35 BK

--

Ground

5

0.35 D-BU

--

Remote Radio Signal

Steering Wheel Tilt Actuator


Object Number: 366067  Size: CH

Connector Part Information

  • OEM: 15332138
  • Service: See Catalog
  • Description: 5-Way F Metri-Pack 280 Series (BK)

Terminal Part Information

  • Terminal/Tray: 12191812/19
  • Core/Insulation Crimp: Pins A, B - C/A
  • Core/Insulation Crimp: Pins C - E - E/C
  • Release Tool/Test Probe: 15315247/J-35616-2A (GY)

Steering Wheel Tilt Actuator

Pin

Wire

Circuit

Function

A

1 RD

2111

Steering Column Tilt Motor Control - Up

B

1 BK

2112

Steering Column Tilt Motor Control - Down

C

0.35 OG

2154

Steering Column Tilt Sensor Signal

D

0.35 GY

788

5-Volt Reference

E

0.35 TN

782

Low Reference

Sunload Sensor


Object Number: 130637  Size: CH

Connector Part Information

  • OEM: 12064760
  • Service: 12085208
  • Description: 4-Way F Metri-Pack 150 Series (BK)

Terminal Part Information

  • Terminal/Tray: 12064971/5
  • Core/Insulation Crimp: E/C
  • Release Tool/Test Probe: 12094429/J-35616-2A (GY)

Sunload Sensor

Pin

Wire

Circuit

Function

A

0.35 L-BU/BK

590

Driver Sunload Sensor Signal

B

0.35 GY

1548

Passenger Sunload Sensor Signal

C

0.35 YE

61

Low Reference

D

0.35 WH

278

Ambient Light Sensor Signal

Sunshade - Right


Object Number: 82383  Size: CH

Connector Part Information

  • OEM: 12047662
  • Service: 12085535
  • Description: 2-Way F Metri-Pack 150 Series (BK)

Terminal Part Information

  • Terminal/Tray: 12064971/5
  • Core/Insulation Crimp: E/C
  • Release Tool/Test Probe: 12094429/J-35616-2A (GY)

Sunshade - Right

Pin

Wire

Circuit

Function

A

0.35 OG

1732

Courtesy Lamps Supply Voltage

B

0.35 BK

1550

Ground

Supercharger Air Inlet Pressure Sensor (LC3)


Object Number: 684840  Size: CH

Connector Part Information

  • OEM: 12129946
  • Service: 88987997
  • Description: 3-Way F M/P 150 Sealed Delphi (L-GY)

Terminal Part Information

  • Terminal/Tray: 12048074/2
  • Core/Insulation Crimp: E/1
  • Release Tool/Test Probe: 12094429/J-35616-2A (GY)

Supercharger Air Inlet Pressure Sensor (LC3)

Pin

Wire

Circuit

Function

A

0.35 D-GN

7125

Low Reference

B

0.35 BN

7123

SCIAP Sensor Signal

C

0.35 YE/BK

7124

5-Volt Reference - 2

Supercharger Bypass Valve Solenoid (LC3)


Object Number: 1701981  Size: CH

Connector Part Information

  • OEM: 10757676
  • Service: 88988501
  • Description: 2-Way M (GY)

Terminal Part Information

  • Terminal/Tray: 184095-1/7
  • Core/Insulation Crimp: E/D
  • Release Tool/Test Probe: 12094429/J-35616-33 (YE)

Supercharger Bypass Valve Solenoid (LC3)

Pin

Wire

Circuit

Function

1

0.5 PK

539

Ignition 1 Voltage

2

0.5 L-BU

7126

Super Charger Vacuum Bypass Valve Control

Suspension Damper - Left Front


Object Number: 287974  Size: CH

Object Number: 1486322  Size: CH

Connector Part Information

  • OEM: 15305168
  • Service: 12167117
  • Description: 2-Way F Metri-Pack 150 Series (GY)
  • Suspension Damper Adapter
  • OEM: 15359261
  • Service: 88953232
  • Description: 2-Way M Metri-Pack 150 Series (GY)

Terminal Part Information

  • Terminal/Tray: 12048074/2
  • Core/Insulation Crimp: E/1
  • Release Tool/Test Probe: 12094429/J-35616-2A (GY)

Suspension Damper - Left Front

Pin

Wire

Circuit

Function

A

0.8 L-BU/WH

1107

LF Damper Control

B

0.8 GY

1113

Low Reference

Suspension Damper - Left Rear


Object Number: 287974  Size: CH

Object Number: 1486322  Size: CH

Connector Part Information

  • OEM: 15305168
  • Service: 12167117
  • Description: 2-Way F Metri-Pack 150 Series (GY)
  • Suspension Damper Adapter
  • OEM: 15359261
  • Service: 88953232
  • Description: 2-Way M Metri-Pack 150 Series (GY)

Terminal Part Information

  • Terminal/Tray: 12048074/2
  • Core/Insulation Crimp: E/1
  • Release Tool/Test Probe: 12094429/J-35616-2A (GY)

Suspension Damper - Left Rear

Pin

Wire

Circuit

Function

A

1 RD

1114

LR Damper Control

B

1 BK

1115

Low Reference

Suspension Damper - Right Front


Object Number: 287974  Size: CH

Object Number: 1486322  Size: CH

Connector Part Information

  • OEM: 15305168
  • Service: 12167117
  • Description: 2-Way F Metri-Pack 150 Series (GY)
  • Suspension Damper Adapter
  • OEM: 15359261
  • Service: 88953232
  • Description: 2-Way M Metri-Pack 150 Series (GY)

Terminal Part Information

  • Terminal/Tray: 12048074/2
  • Core/Insulation Crimp: E/1
  • Release Tool/Test Probe: 12094429/J-35616-2A (GY)

Suspension Damper - Right Front

Pin

Wire

Circuit

Function

A

0.8 L-BU/WH

1116

RF Damper Control

B

0.8 GY

1117

Low Reference

Suspension Damper - Right Rear


Object Number: 287974  Size: CH

Object Number: 1486322  Size: CH

Connector Part Information

  • OEM: 15305168
  • Service: 12167117
  • Description: 2-Way F Metri-Pack 150 Series (GY)
  • Suspension Damper Adapter
  • OEM: 15359261
  • Service: 88953232
  • Description: 2-Way M Metri-Pack 150 Series (GY)

Terminal Part Information

  • Terminal/Tray: 12048074/2
  • Core/Insulation Crimp: E/1
  • Release Tool/Test Probe: 12094429/J-35616-2A (GY)

Suspension Damper - Right Rear

Pin

Wire

Circuit

Function

A

1 RD

1118

RR Damper Control

B

1 BK

1119

Low Reference

Suspension Position Sensor - Left Front


Object Number: 1387924  Size: CH

Connector Part Information

  • OEM: 15326556
  • Service: 88953359
  • Description: 3-Way M Metri-Pack 150 Series (BK)

Terminal Part Information

  • Terminal/Tray: 15326267/19
  • Core/Insulation Crimp: E/4
  • Release Tool/Test Probe: 15315247/J-35616-2A (GY)

Suspension Position Sensor - Left Front

Pin

Wire

Circuit

Function

A

0.35 PU/WH

1205

LF Suspension Position Sensor Voltage Reference

B

0.35 TN/WH

1207

LF Suspension Position Sensor Signal

C

0.35 L-BU/BK

1206

Low Reference

Suspension Position Sensor - Left Rear


Object Number: 1387924  Size: CH

Connector Part Information

  • OEM: 15326556
  • Service: 88953359
  • Description: 3-Way F Metri-Pack 150 Series (BK)

Terminal Part Information

  • Terminal/Tray: 15326267/19
  • Core/Insulation Crimp: E/4
  • Release Tool/Test Probe: 15315247/J-35616-2A (GY)

Suspension Position Sensor - Left Rear

Pin

Wire

Circuit

Function

A

0.8 OG/BK

1208

LR Suspension Position Sensor Voltage Reference

B

0.8 L-GN/WH

1210

LR Suspension Position Sensor Signal

C

0.8 L-GN/BK

1209

Low Reference

Suspension Position Sensor - Right Front


Object Number: 1387924  Size: CH

Connector Part Information

  • OEM: 15326556
  • Service: 88953359
  • Description: 3-Way F Metri-Pack 150 Series (BK)

Terminal Part Information

  • Terminal/Tray: 15326267/19
  • Core/Insulation Crimp: E/4
  • Release Tool/Test Probe: 15315247/J-35616-2A (GY)

Suspension Position Sensor - Right Front

Pin

Wire

Circuit

Function

A

0.35 PU/WH

1211

RF Suspension Position Sensor Voltage Reference

B

0.35 TN/WH

1213

RF Suspension Position Sensor Signal

C

0.35 L-BU/BK

1212

Low Reference

Suspension Position Sensor - Right Rear


Object Number: 1387924  Size: CH

Connector Part Information

  • OEM: 15326556
  • Service: 88953359
  • Description: 3-Way F Metri-Pack 150 Series (BK)

Terminal Part Information

  • Terminal/Tray: 15326267/19
  • Core/Insulation Crimp: E/4
  • Release Tool/Test Probe: 15315247/J-35616-2A (GY)

Suspension Position Sensor - Right Rear

Pin

Wire

Circuit

Function

A

0.8 OG/BK

1214

RR Suspension Position Sensor Voltage Reference

B

0.8 L-GN/WH

1216

RR Suspension Position Sensor Signal

C

0.8 L-GN/BK

1215

Low Reference

Tail Lamp - Left


Object Number: 779050  Size: CH

Connector Part Information

  • OEM: 12124662 (- Europe and Japan); 12077591 (Europe, Japan)
  • Service: 12124662 (- Europe and Japan); 12117277 (Europe, Japan)
  • Description: 5-Way F Metri-Pack 150 Series Sealed (BN - - Europe and Japan), (BK - Europe, Japan)

Terminal Part Information

  • Terminal/Tray: 12048074/2
  • Core/Insulation Crimp: E/1
  • Release Tool/Test Probe: 12094429/J-35616-2A (GY)

Tail Lamp - Left

Pin

Wire

Circuit

Function

A

0.5 BN

9

Park Lamp Supply Voltage

B

0.5 YE

18

Left Rear Turn Signal Lamp Supply Voltage (Europe and Japan)

C

0.35 YE

5356

Left Tail Lamp Outage Detection Signal

D

0.5 BK

1150

Ground

E

0.5 YE

18

Left Rear Stop/Turn Lamp Supply Voltage (- Europe and Japan)

0.8 L-BU

20

Stop Lamp Supply Voltage (Europe and Japan)

Tail Lamp - Right


Object Number: 779050  Size: CH

Connector Part Information

  • OEM: 12124662 (- Europe and Japan); 12077591 (Europe and Japan)
  • Service: 12124662 (- Europe and Japan); 12117277 (Europe and Japan)
  • Description: 5-Way F Metri-Pack 150 Series Sealed (BN - - Europe and Japan), (BK - Europe and Japan)

Terminal Part Information

  • Terminal/Tray: 12048074/2
  • Core/Insulation Crimp: E/1
  • Release Tool/Test Probe: 12094429/J-35616-2A (GY)

Tail Lamp - Right

Pin

Wire

Circuit

Function

A

0.5 BN

9

Park Lamp Supply Voltage

B

0.5 D-GN

19

Right Rear Turn Signal Lamp Supply Voltage (Europe and Japan)

C

0.35 PU

5357

Right Tail Lamp Outage Detection Signal

D

0.5 BK

750

Ground

E

0.5 D-GN

19

Right Rear Stop/Turn Lamp Supply Voltage (- Europe and Japan)

0.8 L-BU

20

Stop Lamp Supply Voltage (Europe and Japan)

Theft Deterrent Alarm Siren (UA2)


Object Number: 810084  Size: CH

Connector Part Information

  • OEM: 10756595
  • Service: 88953370
  • Description: 4-Way F Metri-Pack 150 Series (BK)

Terminal Part Information

  • Terminal/Tray: 962885-5/15
  • Core/Insulation Crimp: 6/6
  • Release Tool/Test Probe: 12094429/J-35616-64B (L-BU)

Theft Deterrent Alarm Siren (UA2)

Pin

Wire

Circuit

Function

1

0.35 PK

639

Ignition 1 Voltage

2

0.35 RD/WH

1240

Battery Positive Voltage

3

0.35 TN/BK

5168

Power Sounder Enable Signal

4

0.35 BK

750

Ground

Throttle Body (LC3)


Object Number: 831393  Size: CH

Connector Part Information

  • OEM: 15355474
  • Service: 15306420
  • Description: 6-Way F MQS Sealed (BK)

Terminal Part Information

  • Terminal/Tray: 962885-5/15
  • Core/Insulation Crimp: 6/6
  • Release Tool/Test Probe: 12094429/J-35616-64B (L-BU)

Throttle Body (LC3)

Pin

Wire

Circuit

Function

1

0.35 D-GN

485

TP Sensor 1 Signal

2

0.35 PU

486

TP Sensor 2 Signal

3

0.35 TN

2752

Low Reference

4

0.5 YE

581

TAC Motor Control - 1

5

0.35 GY

2701

5-Volt Reference - 2

6

0.5 BN

582

TAC Motor Control - 2

Throttle Body (LH2)


Object Number: 1664617  Size: CH

Connector Part Information

  • OEM: 15355297
  • Service: 19115594
  • Description: 6-Way F GT 150 Series, Sealed (BK)

Terminal Part Information

  • Terminal/Tray: 15326427/5
  • Core/Insulation Crimp: E/A
  • Release Tool/Test Probe: 15315247/J-35616-2A (GY)

Throttle Body (LH2)

Pin

Wire

Circuit

Function

A

0.5 BN

582

TAC Motor Control - 2

B

0.5 YE

581

TAC Motor Control - 1

C

0.35 TN

2752

Low Reference

D

0.35 D-GN

485

TP Sensor 1 Signal

E

0.35 GY

2701

5-Volt Reference - 2

F

0.35 PU

486

TP Sensor 2 Signal

Traction Control Switch


Object Number: 130714  Size: CH

Connector Part Information

  • OEM: 12124997
  • Service: 12167130
  • Description: 5-Way F Micro-Pack 150 Series Sealed (BK)

Terminal Part Information

  • Terminal/Tray: 12103359/18
  • Core/Insulation Crimp: E/C
  • Release Tool/Test Probe: 12094429/J-35616-2A (GY)

Traction Control Switch

Pin

Wire

Circuit

Function

A

0.35 GY/BK

1458

Instrument Panel Lamps Supply Voltage 4

B

0.35 BK

1550

Ground

C

--

--

Not Used

D

0.35 BN/WH

1571

Traction Control Switch Signal

E

--

--

Not Used

Traffic Information Receiver (Japan)


Object Number: 820098  Size: CH

Connector Part Information

  • OEM: 15316408
  • Service: 15316408
  • Description: 10-Way F (WH)

Terminal Part Information

  • Terminal/Tray: See Terminal Repair Kit
  • Core/Insulation Crimp: See Terminal Repair Kit
  • Release Tool/Test Probe: See Terminal Repair Kit

Traffic Information Receiver (Japan)

Pin

Wire

Circuit

Function

1

0.35 GY

5383

Vehicle Identification Communication System High Signal

2

0.35 BN

5384

Vehicle Identification Communication System Low Signal

3

0.5 RD/WH

740

Battery Positive Voltage

4

0.35 YE

43

Accessory Voltage Signal

5

0.5 BK/WH

651

Ground

6

0.35 YE

5385

Vehicle Identification Communication System Bus Request Signal

7

0.35 BARE

514

Drain

8-10

--

--

Not Used

Turn Signal Lamp - Left Front


Object Number: 1717007  Size: CH

Connector Part Information

  • OEM: 16530672
  • Service: See Catalog
  • Description: 3-Way F (BK)

Terminal Part Information

  • Terminal/Tray: See Terminal Repair Kit
  • Core/Insulation Crimp: See Terminal Repair Kit
  • Release Tool/Test Probe: See Terminal Repair Kit

Turn Signal Lamp - Left Front

Pin

Wire

Circuit

Function

A

0.5 D-BU/WH

1314

Left Front Turn Signal Lamp Supply Voltage

B

--

--

Not Used

G

0.8 BK

1350

Ground

0.8 BK

1350

Ground

Turn Signal Lamp - Right Front


Object Number: 1717007  Size: CH

Connector Part Information

  • OEM: 16530672
  • Service: See Catalog
  • Description: 3-Way F (BK)

Terminal Part Information

  • Terminal/Tray: See Terminal Repair Kit
  • Core/Insulation Crimp: See Terminal Repair Kit
  • Release Tool/Test Probe: See Terminal Repair Kit

Turn Signal Lamp - Right Front

Pin

Wire

Circuit

Function

A

0.35 D-BU/WH

1315

Right Front Turn Signal Lamp Supply Voltage

B

--

--

Not Used

G

0.8 BK

1250

Ground

0.8 BK

1250

Ground

Turn Signal/Multifunction Switch X1


Object Number: 1492427  Size: CH

Connector Part Information

  • OEM: 15418023
  • Service: See Catalog
  • Description: 5-Way F (BK)

Terminal Part Information

  • Terminal/Tray: SHCMW-A03T-040/20
  • Core/Insulation Crimp: J/J
  • Release Tool/Test Probe: 12094429/J-35616-13 (BU)

Turn Signal/Multifunction Switch X1

Pin

Wire

Circuit

Function

1

0.35 PK

1039

Auxiliary Power Relay Coil Supply Voltage

2

0.35 YE

1977

Rear Fog Lamps Switch Signal (Europe)

3

0.35 BK

1450

Ground

4

0.35 OG

192

Front Fog Lamp Switch Signal

5

0.35 GY

1884

Cruise Control Set/Coast and Resume/Accelerate Switch Signal

Turn Signal/Multifunction Switch X2


Object Number: 130718  Size: CH

Connector Part Information

  • OEM: 12059800
  • Service: 15306169
  • Description: 5-Way F Metri-Pack 150 Series (BK)

Terminal Part Information

  • Terminal/Tray: 12064971/5
  • Core/Insulation Crimp: E/C
  • Release Tool/Test Probe: 12094429/J-35616-2A (GY)

Turn Signal/Multifunction Switch X2

Pin

Wire

Circuit

Function

A

0.35 BN

1356

Flash To Pass Switch Signal

B

0.35 BK

1450

Ground

C

--

--

Not Used

D

0.35 PK/WH

1970

Headlamp Low Beam Relay Control

E

0.35 PU

524

Headlamp Dimmer Switch High Beam Signal

Turn Signal/Multifunction Switch X3


Object Number: 811190  Size: CH

Connector Part Information

  • OEM: 15339058
  • Service: See Catalog
  • Description: 7-Way F Metri-Pack 150 Series (GY)

Terminal Part Information

  • Terminal/Tray: 12064971/5
  • Core/Insulation Crimp: E/C
  • Release Tool/Test Probe: 12094429/J-35616-2A (GY)

Turn Signal/Multifunction Switch X3

Pin

Wire

Circuit

Function

G-J

--

--

Not Used

K

0.35 BK

1450

Ground

L

0.35 WH

103

Headlamp Switch Headlamps On Signal

M

0.35 BN/WH

301

Park Lamp Switch On Signal

N

0.35 L-BU

1872

Exterior Lamps OFF Input

Turn Signal/Multifunction Switch X4


Object Number: 39746  Size: CH

Connector Part Information

  • OEM: 12064862
  • Service: 12126438
  • Description: 8-Way F Metri-Pack 150 Series (BK)

Terminal Part Information

  • Terminal/Tray: 12064971/5
  • Core/Insulation Crimp: E/C
  • Release Tool/Test Probe: 12094429/J-35616-2A (GY)

Turn Signal/Multifunction Switch X4

Pin

Wire

Circuit

Function

A-B

--

--

Not Used

C

0.35 BK

1450

Ground

D-E

--

--

Not Used

F

0.35 L-BU/WH

1414

Left Turn Signal Switch Signal

G

0.35 BK

1450

Ground

H

0.35 D-BU/WH

1415

Right Turn Signal Switch Signal

Valet Switch


Object Number: 130642  Size: CH

Connector Part Information

  • OEM: 12064868
  • Service: 15306065
  • Description: 2-Way F Metri-Pack 150 Series (WH)

Terminal Part Information

  • Terminal/Tray: 12047581/2
  • Core/Insulation Crimp: E/C
  • Release Tool/Test Probe: 12094429/J-35616-3 (GY)

Valet Switch

Pin

Wire

Circuit

Function

A

0.35 BK

1550

Ground

B

0.35 D-BU/WH

1355

Valet Mode Switch Signal

Variable Effort Steering Actuator


Object Number: 635009  Size: CH

Connector Part Information

  • OEM: 12052641
  • Service: 12102747
  • Description: 2-Way F Metri-Pack 150 Series (BK)

Terminal Part Information

  • Terminal/Tray: 12048074/2
  • Core/Insulation Crimp: E/1
  • Release Tool/Test Probe: 12094429/J-35616-2A (GY)

Variable Effort Steering Actuator

Pin

Wire

Circuit

Function

A

0.35 WH

1294

Variable Effort Steering Actuator Supply Voltage

B

0.35 BN

1295

Variable Effort Steering Actuator Control

Vehicle Communication Interface Module (VCIM) X1


Object Number: 814530  Size: CH

Connector Part Information

  • OEM: 15431362
  • Service: 15306351
  • Description: 16-Way F KII Hybrid (WH)

Terminal Part Information

  • Pins: 2, 3, 6, 8, 11, 15
  • Terminal/Tray: 15445905/23
  • Core/Insulation Crimp: J/J
  • Release Tool/Test Probe: 12180559/J-35616-6 (BN)
  • Pins: 7
  • Terminal/Tray: See Terminal Repair Kit
  • Core/Insulation Crimp: See Terminal Repair Kit
  • Release Tool/Test Probe: See Terminal Repair Kit

Vehicle Communication Interface Module (VCIM) X1

Pin

Wire

Circuit

Function

1

--

--

Not Used

2

0.35 BK/TN

2517

Keypad Red LED Signal

3

0.35 BK/YE

2516

Keypad Green LED Signal

4-5

--

--

Not Used

6

0.35 BK/L-GN

2515

Keypad Supply Voltage

7

--

--

Not Used

8

0.5 BK/WH

651

Ground

9-10

--

--

Not Used

11

0.35 BK/L-BU

2514

Keypad Signal

12-14

--

--

Not Used

15

0.5 RD/WH

140

Battery Positive Voltage

16

--

--

Not Used

Vehicle Communication Interface Module (VCIM) X2


Object Number: 814532  Size: CH

Connector Part Information

  • OEM: 15431365
  • Service: 88952886
  • Description: 12-Way F KII Hybrid (WH)

Terminal Part Information

  • Terminal/Tray: 15445905/23
  • Core/Insulation Crimp: J/J
  • Release Tool/Test Probe: 12180559/J-35616-6 (BN)

Vehicle Communication Interface Module (VCIM) X2

Pin

Wire

Circuit

Function

1

0.35 OG/BK

1406

Remote Playback Device Audio Signal

2

0.35 L-BU

1405

Remote Playback Device Audio Common Signal

3-5

--

--

Not Used

6

0.35 L-GN

2271

ADG Class 2 Serial Data

7

--

--

Not Used

8

0.35 BARE

2012

Drain

9

0.35 GY

655

Cellular Microphone Signal

10

0.35 BARE

1705

Drain

11-12

--

--

Not Used

Vehicle Communication Interface Module (VCIM) X3


Object Number: 814530  Size: CH

Connector Part Information

  • OEM: 15431359
  • Service: 88988722
  • Description: 16-Way F KII Hybrid (GY)

Terminal Part Information

  • Terminal/Tray: 15445905/23
  • Core/Insulation Crimp: J/J
  • Release Tool/Test Probe: 12180559/J-35616-6 (BN)

Vehicle Communication Interface Module (VCIM) X3

Pin

Wire

Circuit

Function

1

--

--

Not Used

2

0.35 PK

5149

Voice Recognition Audio Signal

3

--

--

Not Used

4

0.35 PK/BK

5152

Low Reference

5

0.35 BARE

1782

Drain

6-16

--

--

Not Used

Vehicle Communication Interface Module (VCIM) X4


Object Number: 1592605  Size: CH

Connector Part Information

  • OEM: 15431368
  • Service: 88988545
  • Description: 12-Way F (BK)

Terminal Part Information

  • Terminal/Tray: 15445905/23
  • Core/Insulation Crimp: J/J
  • Release Tool/Test Probe: 12180559/J-35616-6 (BN)

Vehicle Communication Interface Module (VCIM) X4

Pin

Wire

Circuit

Function

1

--

--

Not Used

2

0.35 TN/BK

2500

High Speed GMLAN Serial Data Bus (+)

3

0.35 TN

2501

High Speed GMLAN Serial Data Bus (-)

4-7

--

--

Not Used

8

0.35 TN/BK

2500

High Speed GMLAN Serial Data Bus (+)

9

0.35 TN

2501

High Speed GMLAN Serial Data Bus (-)

10-12

--

--

Not Used

Wheel Speed Sensor (WSS) - Left Front


Object Number: 537107  Size: CH

Connector Part Information

  • OEM: 12052644
  • Service: See Catalog
  • Description: 2-Way F Metri-Pack 150 Series Sealed (GY)

Terminal Part Information

  • Terminal/Tray: 12048074/2
  • Core/Insulation Crimp: E/1
  • Release Tool/Test Probe: 12094429/J-35616-2A (GY)

Wheel Speed Sensor (WSS) - Left Front

Pin

Wire

Circuit

Function

A

0.5 WH

873

Low Reference

B

0.5 BK

830

Left Front Wheel Speed Sensor Signal

Wheel Speed Sensor (WSS) - Left Rear


Object Number: 537107  Size: CH

Connector Part Information

  • OEM: 12052644
  • Service: See Catalog
  • Description: 2-Way F Metri-Pack 150 Series Sealed (GY)

Terminal Part Information

  • Terminal/Tray: 12048074/2
  • Core/Insulation Crimp: E/1
  • Release Tool/Test Probe: 12094429/J-35616-2A (GY)

Wheel Speed Sensor (WSS) - Left Rear

Pin

Wire

Circuit

Function

A

0.8 OG

885

Low Reference

B

0.8 TN

884

Left Rear Wheel Speed Sensor Signal

Wheel Speed Sensor (WSS) - Right Front


Object Number: 537107  Size: CH

Connector Part Information

  • OEM: 12052644
  • Service: See Catalog
  • Description: 2-Way F Metri-Pack 150 Series Sealed (GY)

Terminal Part Information

  • Terminal/Tray: 12048074/2
  • Core/Insulation Crimp: E/1
  • Release Tool/Test Probe: 12094429/J-35616-2A (GY)

Wheel Speed Sensor (WSS) - Right Front

Pin

Wire

Circuit

Function

A

0.5 WH

873

Low Reference

B

0.5 BK

830

Right Front Wheel Speed Sensor Signal

Wheel Speed Sensor (WSS) - Right Rear


Object Number: 537107  Size: CH

Connector Part Information

  • OEM: 12052644
  • Service: See Catalog
  • Description: 2-Way F Metri-Pack 150 Series, Sealed (GY)

Terminal Part Information

  • Terminal/Tray: 12048074/2
  • Core/Insulation Crimp: E/1
  • Release Tool/Test Probe: 12094429/J-35616-2A (GY)

Wheel Speed Sensor (WSS) - Right Rear

Pin

Wire

Circuit

Function

A

0.8 WH

883

Low Reference

B

0.8 BN

882

Right Rear Wheel Speed Sensor Signal

Window Switch - Driver


Object Number: 62435  Size: CH

Connector Part Information

  • OEM: 12047531
  • Service: 12085486
  • Description: 10-Way F Micro-Pack 100 Series (BK)

Terminal Part Information

  • Terminal/Tray: 12146447/3
  • Core/Insulation Crimp: E/C
  • Release Tool/Test Probe: 12031876-1/J-35616-6 (BN)

Window Switch - Driver

Pin

Wire

Circuit

Function

1-4

--

--

Not Used

5

0.35 GY

1359

LCD Backlighting Lamp Control

6

0.35 OG/BK

781

Driver Door Lock Switch Unlock Signal

7

0.35 OG

780

Driver Door Lock Switch Lock Signal

8

0.35 BK

1450

Ground

9

0.35 RD/WH

340

Battery Positive Voltage

10

0.35 BN

1046

DDM Class 2 Serial Data

Window Switch - Passenger


Object Number: 258172  Size: CH

Connector Part Information

  • OEM: 12064982
  • Service: 12102633
  • Description: 5-Way F Micro-Pack 100 Series (BK)

Terminal Part Information

  • Terminal/Tray: 12146447/3Core/Insulation Crimp: E/C
  • Release Tool/Test Probe: 12031876-1/J-35616-6 (BN)

Window Switch - Passenger

Pin

Wire

Circuit

Function

1

0.35 TN

1300

Power Window Motor Front Passenger Up Signal

2

0.35 GY

1136

Power Window Motor Front Passenger Down Signal

3

0.35 PU

2765

Power Window Switch Right Front Express Signal

4

0.35 BK

1550

Ground

5

0.35 GY

1359

LCD Backlighting Lamp Control

Windshield Outside Moisture Sensor


Object Number: 1758592  Size: CH

Connector Part Information

  • OEM: 15398934
  • Service: 88953367
  • Description: 8-Way F Micro-Fit Series (BK)

Terminal Part Information

  • Terminal/Tray: 43030-0010/23
  • Core/Insulation Crimp: H/H
  • Release Tool/Test Probe: J-38125-213/J-35616-64B (L-BU)

Windshield Outside Moisture Sensor

Pin

Wire

Circuit

Function

1

0.35 GY

91

Windshield Wiper Switch Signal 2

2

0.35 L-GN

1715

Windshield Wiper Switch High Signal

3

0.35 BK

1550

Ground

4

0.35 YE

143

Accessory Voltage

5

0.35 L-BU

1714

Windshield Wiper Switch Low Signal

6

0.35 PK

94

Windshield Washer Switch Signal

7

0.35 PK

5780

Windshield Wiper Motor Park Switch Signal

8

--

--

Not Used

Windshield Washer Fluid Level Switch


Object Number: 655692  Size: CH

Connector Part Information

  • OEM: 12162195
  • Service: 88987183
  • Description: 2-Way F Metri-Pack 150.2 Series Sealed, Pull To Seat (BK)

Terminal Part Information

  • Terminal/Tray: 12124075/5
  • Core/Insulation Crimp: E/C
  • Release Tool/Test Probe: 12180559-1/J-35616-2A (GY)

Windshield Washer Fluid Level Switch

Pin

Wire

Circuit

Function

A

0.35 TN/WH

99

Windshield Washer Fluid Level Signal

B

0.35 BK

1350

Ground

Windshield Washer Fluid Pump


Object Number: 523630  Size: CH

Connector Part Information

  • OEM: 15326801
  • Service: 15306156
  • Description: 2-Way F GT 150 Series (BK)

Terminal Part Information

  • Terminal/Tray: 12191819/8
  • Core/Insulation Crimp: E/A
  • Release Tool/Test Probe: 15315247/J-35616-2A

Windshield Washer Fluid Pump

Pin

Wire

Circuit

Function

A

0.5 BK

1350

Ground

B

0.5 OG

228

Windshield Washer Pump Control

Windshield Wiper Motor


Object Number: 1591667  Size: CH

Connector Part Information

  • OEM: 15393432
  • Service: 89046627
  • Description: 5-Way F (BK)

Terminal Part Information

  • Terminal/Tray: 7116-4027/11
  • Core/Insulation Crimp: 2/5
  • Release Tool/Test Probe: 15313892/J-35616-18 (BK)

Windshield Wiper Motor

Pin

Wire

Circuit

Function

1

2 BK

1450

Ground

2

2 YE

196

Windshield Wiper Motor Park Switch Signal

3

2 YE

243

Accessory Voltage

4

2 PU

92

Windshield Wiper Motor High Speed Control

5

2 D-GN

95

Windshield Wiper Motor Low Speed Control

Windshield Wiper/Washer Switch


Object Number: 1331432  Size: CH

Connector Part Information

  • OEM: 15339096
  • Service: See Catalog
  • Description: 7-Way F 150 Series (BK)

Terminal Part Information

  • Terminal/Tray: 12064971/5
  • Core/Insulation Crimp: E/C
  • Release Tool/Test Probe: 12094429/J-35616-14 (GN)

Windshield Wiper/Washer Switch

Pin

Wire

Circuit

Function

G

0.35 PK

94

Windshield Washer Switch Signal

H

0.35 L-BU

1714

Windshield Wiper Switch Low Signal

J

--

--

Not Used

K

0.35 L-GN

1715

Windshield Wiper Switch High Signal

L

--

--

Not Used

M

0.35 BK

1450

Ground

N

--

--

Not Used

Yaw and Lateral Accelerometer Sensor


Object Number: 647974  Size: CH

Connector Part Information

  • OEM: 15326822
  • Service: 19151498
  • Description: 5-Way F GT Sealed 4.0 (BK)

Terminal Part Information

  • Terminal/Tray: 12191819/8
  • Core/Insulation Crimp: E/A
  • Release Tool/Test Probe: 15315247/J-35616-2A (GY)

Yaw and Lateral Accelerometer Sensor

Pin

Wire

Circuit

Function

A

--

--

Not Used

B

0.35 D-GN

2087

5-Volt Reference

C

0.35 D-BU

716

Yaw Rate Sensor Signal

D

0.35 L-BU

2088

Low Reference

E

0.35 L-GN/BK

1338

Lateral Accelerometer Signal