GM Service Manual Online
For 1990-2009 cars only

Removal Procedure

The tail/turn signal lamp is illuminated by a Light Emitting Diode (LED). The lamp and diode are serviced as an complete assembly.

  1. Open the rear compartment.

  2. Object Number: 914398  Size: SH
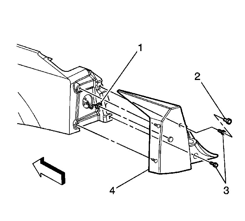
  3. Remove the caps (2) covering the tail/turn lamp screws (3).
  4. Remove the screws (3) attaching the tail/turn lamp (4) to the rear quarter panel.
  5. Pull the tail/turn lamp (4) rearward to disengage from the quarter panel.
  6. Disconnect the electrical connector (1) from the tail/turn lamp (4).
  7. Remove the tail/turn lamp (4).

Installation Procedure


    Object Number: 914398  Size: SH
  1. Connect the electrical connector (1) to the tail/turn lamp (4).
  2. Position the tail/turn lamp (4) to the quarter panel.
  3. Notice: Refer to Fastener Notice in the Preface section.

  4. Install the tail/turn lamp screws (3).
  5. Tighten
    Tighten the screws to 2 N·m (18 lb in).

  6. Install the tail/turn lamp screws caps (2).
  7. Inspect the tail/turn lamp for proper operation.
  8. Close the rear compartment.