GM Service Manual Online
For 1990-2009 cars only
Figure 1:

Engine Covers and Component Assemblies (1 of 2)


Object Number: 1575673  Size: LF
(5)Engine Long Block Assembly
(6)Intake Manifold Assembly
(9)Left Camshaft Cover Assembly
(10)Right Camshaft Cover Assembly
(11)Oil Pump Assembly
(12)Engine Front Cover Assembly
(13)Oil Pan Assembly
(18)Water Outlet Assembly
(19)Throttle Body Assembly
(20)Right Camshaft Position Actuator Housing Assembly
(21)Left Camshaft Position Actuator Housing Assembly
(281)PCV Fresh Air Tube
(283)PCV Dirty Air Tube
(351)Engine Front Cover Gasket
(352)Engine Front Cover Bolt
(382)Water Outlet Bolt - Short
(388)Water Outlet Bolt - Long
(390)Crankshaft Balancer
(391)Crankshaft Balancer Bolt
(401)Oil Pan Gasket
(420)Oil Pan Bolt - Short
(421)Oil Pan Bolt - Medium
(422)Oil Pan Bolt - Long
(423)Oil Pan Stud
(475)Oil Pump Bolt
(530)Intake Manifold Bolt
(702)Throttle Body Bolt
(747)EVAP Tube
(760)Block Heater - 110 Volt
Figure 2:

Engine Covers and Component Assemblies (2 of 2)


Object Number: 906789  Size: LF
(5)Engine Long Block Assembly
(14)Oil Filter Adapter Assembly
(16)Oil Level Indicator Assembly
(405)Oil Pump Suction Pipe
(406)Oil Pump Suction Pipe Gasket
(407)Oil Pump Suction Pipe Bolt
(408)Oil Pump Suction Pipe Nut
(441)Oil Filter Adapter Gasket
(442)Oil Filter Adapter Bolt
(449)Oil Filter
(480)Oil Pump Outlet Tube
(481)Oil Pump Outlet Tube O-Ring
(482)Oil Pump Outlet Tube Bolt
(600)Left Exhaust Manifold and Converter
(601)Left Exhaust Manifold Gasket
(610)Left Exhaust Manifold Heat Shield
(611)Left Exhaust Manifold Heat Shield Bolt
(620)Right Exhaust Manifold and Converter
(621)Right Exhaust Manifold Gasket
(623)Cylinder Head Exhaust Manifold Nut
(624)Cylinder Head Exhaust Manifold Bolt
(630)Right Exhaust Manifold Heat Shield
(631)Right Exhaust Manifold Heat Shield Bolt
(720)Crankshaft Position Sensor
(721)Crankshaft Position Sensor O-Ring
(722)Crankshaft Position Sensor Bolt
(723)Knock Sensor
(723)Knock Sensor
(724)Knock Sensor Bolt
(724)Knock Sensor Bolt
(790)Starter Motor
(791)Starter Motor Bolt
(792)Starter Motor Solenoid Cable Nut - Larger
(793)Starter Motor Solenoid Cable Nut - Small
(794)Battery Positive and Negative Starter Cable
(795)Bracket Bolt
(796)Crankshaft Position Sensor and Knock Sensor Wiring Harness
(797)Bracket
Figure 3:

Camshaft Cover Assembly


Object Number: 1575675  Size: MF
(250)Left Camshaft Cover
(251)Left Camshaft Cover Gasket
(252)Right Camshaft Cover
(253)Right Camshaft Cover Gasket
(254)Camshaft Cover Spark Plug Port Seal
(255)Camshaft Cover Bolt
(256)Camshaft Cover Bolt Insulator
(258)Oil Fill Cap
(259)Oil Fill Cap O-ring
(260)Left Camshaft Cover PCV Fitting
(261)Right Camshaft Cover PCV Fitting Orifice
(704)Ignition Coil
(704)Ignition Coil
(705)Ignition Coil Bolt
(705)Ignition Coil Bolt
(706)Ignition Coil Seal
(706)Ignition Coil Seal
(707)Ignition Coil Assembly Wiring Harness
(707)Ignition Coil Assembly Wiring Harness
(708)Ignition Coil Assembly Bolt
(708)Ignition Coil Assembly Bolt
(709)Ignition Coil Assembly Ball Stud
(710)Ignition Coil Assembly Bracket
(710)Ignition Coil Assembly Bracket
(719)Spark Plug
(770)Camshaft Cover to Cylinder Head Ground Strap
(770)Camshaft Cover to Cylinder Head Ground Strap
(771)Ground Strap to Camshaft Cover Bolt
(771)Ground Strap to Camshaft Cover Bolt
(772)Ground Strap to Cylinder Head Bolt
(772)Ground Strap to Cylinder Head Bolt
Figure 4:

Camshaft Timing Components


Object Number: 874402  Size: LF
(150)Crankshaft Sprocket
(152)Primary Timing Chain Tensioner
(153)Timing Chain Tensioner Bolt
(153)Timing Chain Tensioner Bolt
(153)Timing Chain Tensioner Bolt
(155)Primary Timing Chain
(158)Primary Timing Chain Guide
(159)Timing Chain Guide and Shoe Bolt
(159)Timing Chain Guide and Shoe Bolt
(159)Timing Chain Guide and Shoe Bolt
(159)Timing Chain Guide and Shoe Bolt
(159)Timing Chain Guide and Shoe Bolt
(160)Camshaft Intermediate Drive Shaft Sprocket
(161)Camshaft Intermediate Drive Shaft Sprocket Bolt
(162)Camshaft Intermediate Drive Shaft
(163)Camshaft Intermediate Drive Shaft Bolt
(170)Secondary Timing Chain
(170)Secondary Timing Chain
(171)Secondary Timing Chain Guide
(171)Secondary Timing Chain Guide
(173)Left Secondary Timing Chain Shoe
(175)Left Secondary Timing Chain Tensioner
(183)Right Secondary Timing Chain Shoe
(185)Right Secondary Timing Chain Tensioner
(189)Camshaft Position Actuator Oil Control Valve
(189)Camshaft Position Actuator Oil Control Valve
(190)Left Exhaust Camshaft Position Actuator
(191)Left Intake Camshaft Position Actuator
(193)Right Exhaust Camshaft Position Actuator
(194)Right Intake Camshaft Position Actuator
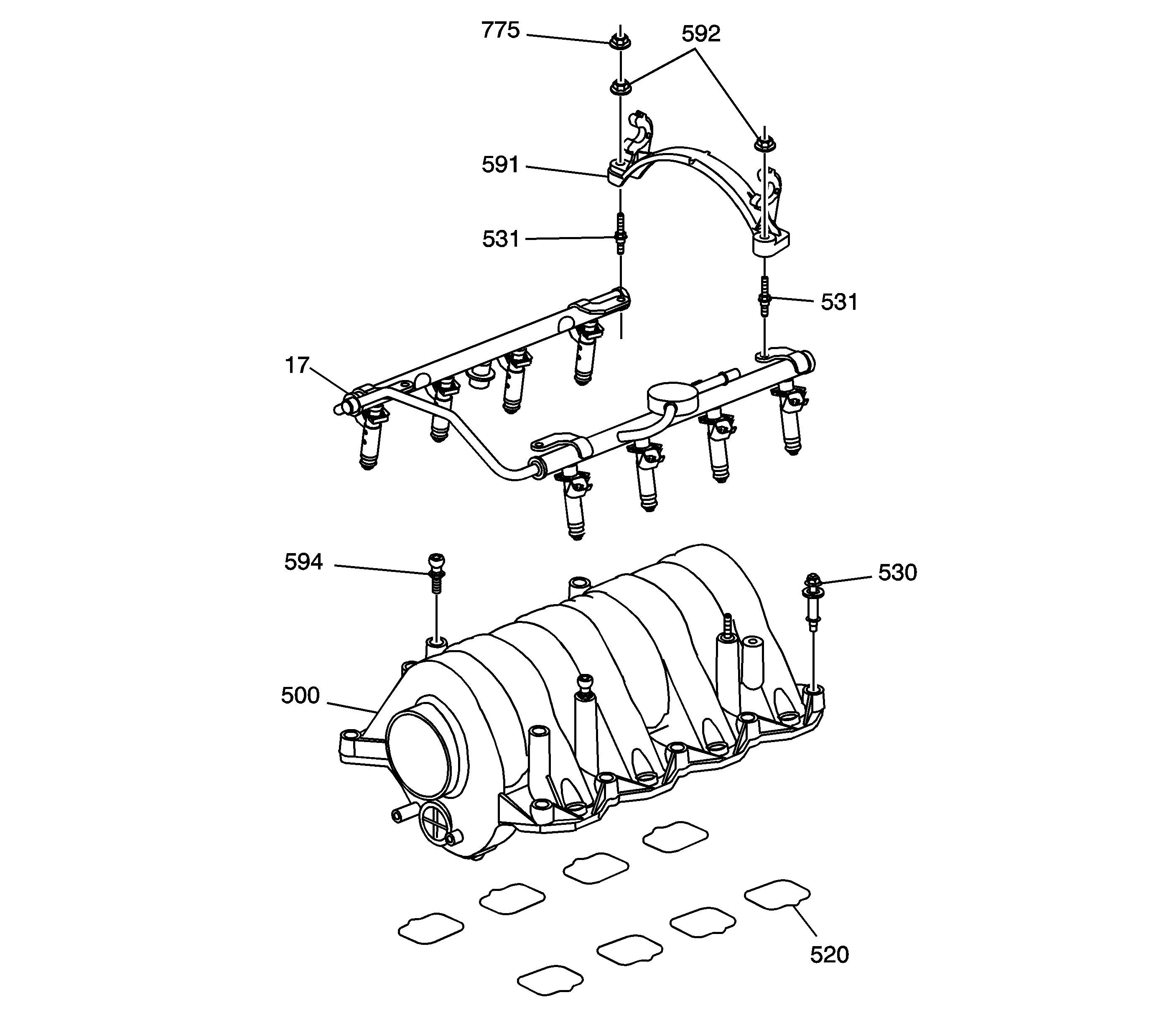
Figure 5:

Intake Manifold


Object Number: 874378  Size: LF
(17)Fuel Rail Assembly
(500)Intake Manifold
(520)Intake Manifold Seal
(530)Intake Manifold Bolt
(531)Fuel Rail Stud
(531)Fuel Rail Stud
(591)Fuel Injector Sight Shield Cover Bracket
(592)Fuel Injector Sight Shield Cover Bracket Nut
(594)Fuel Injector Sight Shield Cover Ball Stud
(775)Engine Wiring Harness Ground Nut
Figure 6:

Fuel Rail


Object Number: 874384  Size: MF
(560)Fuel Rail
(561)Fuel Injector
(562)Fuel Injector Retainer
(563)Fuel Injector Upper Seal
(564)Fuel Injector Lower Seal
(565)Fuel Pressure Service Valve Cap
(566)Fuel Pressure Service Valve
(580)Fuel Pulse Dampener
(581)Fuel Pulse Dampener O-ring
Figure 7:

Cylinder Head Assemblies


Object Number: 874395  Size: MF
(300)Left Cylinder Head
(301)Right Cylinder Head
(302)Left Cylinder Head Gasket
(303)Right Cylinder Head Gasket
(310)Cylinder Head Bolt - M11
(311)Cylinder Head Front Bolt - M6
(312)Cylinder Head Coolant Hole Expansion Plug
(313)Cylinder Head Coolant Hole Plug
(314)Cylinder Head Coolant Hole Plug Seal Ring
(315)Cylinder Head Oil Gallery Plug
(315)Cylinder Head Oil Gallery Plug
(316)Cylinder Head Oil Gallery Plug Ring
(316)Cylinder Head Oil Gallery Plug Ring
(317)Engine Oil Gallery Restrictor
(317)Engine Oil Gallery Restrictor
(320)Exhaust Valve
(321)Intake Valve
(322)Valve Rocker Arm Assembly
(323)Hydraulic Valve Lash Adjuster Assembly
(324)Valve Stem Oil Seal
(325)Valve Spring
(326)Valve Spring Cap
(327)Valve Stem Key
(330)Left Exhaust Camshaft
(331)Left Intake Camshaft
(332)Right Intake Camshaft
(333)Right Exhaust Camshaft
(334)Cylinder Head Front Camshaft Cap
(335)Cylinder Head Front Camshaft Cap
(336)Cylinder Head Camshaft Cap
(337)Cylinder Head Camshaft Cap Bolt
(337)Cylinder Head Camshaft Cap Bolt
(337)Cylinder Head Camshaft Cap Bolt
(338)Camshaft Sprocket Locating Pin
(340)Left Camshaft Position Actuator Housing
(341)Right Camshaft Position Actuator Housing
(342)Left Camshaft Position Actuator Housing Gasket
(343)Right Camshaft Position Actuator Housing Gasket
(344)Camshaft Position Actuator Housing Pin
(345)Camshaft Position Actuator Housing Stud - Short
(345)Camshaft Position Actuator Housing Stud - Short
(346)Camshaft Position Actuator Housing Stud - Long
(346)Camshaft Position Actuator Housing Stud - Long
(347)Camshaft Position Actuator Housing Bolt
(625)Cylinder Head Exhaust Manifold Stud
(711)Engine Coolant Temperature Sensor
(725)Camshaft Position Sensor
(726)Camshaft Position Sensor O-Ring
(727)Camshaft Position Sensor Bolt
(735)Camshaft Position Actuator Magnet
(736)Camshaft Position Actuator Magnet Bolt
(737)Camshaft Position Actuator Magnet Plug
(738)Camshaft Position Actuator Magnet Plug O-Ring
Figure 8:

Engine Front Cover, Water Crossover and Throttle Body Assembly


Object Number: 874398  Size: LF
(350)Engine Front Cover
(351)Engine Front Cover Gasket
(352)Engine Front Cover Bolt
(353)Engine Front Cover Seal
(356)Engine Front Cover Fitting
(360)Water Pump Assembly
(361)Water Pump Bolt
(362)Water Pump Gasket
(363)Water Pump Pulley
(364)Water Pump Pulley Bolt
(365)Engine Cooling Thermostat
(366)Engine Cooling Thermostat Gasket
(367)Engine Cooling Thermostat Housing
(368)Engine Cooling Thermostat Housing Bolt
(380)Water Outlet
(381)Water Outlet Gasket
(382)Water Outlet Bolt - Short
(384)Water Bypass Hose
(385)Water Bypass Hose Clamp
(386)Engine Coolant Air Bleed Hose Fitting
(387)Heater Inlet Hose Fitting
(388)Water Outlet Bolt - Long
(390)Crankshaft Balancer
(391)Crankshaft Balancer Bolt
(525)Intake Manifold Plenum Duct
(526)Intake Manifold Plenum Duct Clamp
(526)Intake Manifold Plenum Duct Clamp
(701)Throttle Body
(702)Throttle Body Bolt
(703)Throttle Body Gasket
(740)MAP Sensor
(741)MAP Sensor O-Ring
(742)MAP Sensor Bracket
(743)MAP Sensor Stud
(744)EVAP Purge Solenoid
(745)EVAP Purge Solenoid O-Ring
(746)EVAP Purge Solenoid Bolt
Figure 9:

Oil Pump


Object Number: 874406  Size: MF
(463)Oil Pump Housing
(464)Oil Pump Cover
(465)Oil Pump Driven Gear
(466)Oil Pump Drive Gear
(467)Oil Pump Driven Gear Spacer
(468)Oil Pump Cover Bolt
(469)Oil Pump Cover Locating Pin
(470)Oil Pump Pressure Relief Valve Bore Plug
(471)Oil Pump Pressure Relief Valve Spring
(472)Oil Pressure Relief Valve
Figure 10:

Engine Block Assembly


Object Number: 874387  Size: LF
(15)Piston and Connecting Rod Assembly
(100)Engine Block
(101)Lower Crankcase
(102)Engine Oil Distribution Plate
(103)Right Lower Crankcase Seal
(104)Left Lower Crankcase Seal
(105)Lower Crankcase Bolt
(106)Engine Oil Distribution Plate Bolt
(107)Oil Pan Locating Pin
(108)Engine Oil Distribution Plate Outer Seal
(109)Engine Oil Distribution Plate Inner Seal
(112)Lower Crankcase Main Bolt
(113)Lower Crankcase Main Stud
(118)Lower Crankcase Locating Pin
(120)Crankshaft
(121)Crankshaft Sprocket Locating Pin
(122)Crankshaft Upper Bearing
(123)Crankshaft Lower Bearing
(124)Crankshaft Upper Thrust Bearing #3
(125)Piston, Rings and Connecting Rod Assembly
(131)Transaxle Locating Pin
(132)Engine Front Cover Locating Pin
(136)Engine Block Coolant Drain Plug
(137)Cylinder Head Locating Pin
(138)Camshaft Intermediate Drive Shaft Plug
(410)Oil Pan Baffle Scraper
Figure 11:

Piston, Rings, Bearing and Connecting Rod


Object Number: 874403  Size: LF
(200)Connecting Rod
(201)Connecting Rod Bolt
(202)Connecting Rod Bushing
(203)Connecting Rod Bearing
(210)Piston
(211)Piston Pin
(212)Piston Pin Retainer
(212)Piston Pin Retainer
(213)Piston Upper Compression Ring
(214)Piston Lower Compression Ring
(215)Piston Oil Control Rail Ring
(216)Piston Oil Control Ring Spacer
(217)Lower Oil Control Ring
Figure 12:

Oil Pan Assembly Components


Object Number: 906792  Size: LF
(400)Oil Pan
(401)Oil Pan Gasket
(402)Oil Pan Gasket Rivet
(402)Oil Pan Gasket Rivet
(403)Oil Pan Baffle
(404)Oil Pan Baffle Bolt
(412)Oil Pan Drain Plug
(413)Oil Pan Drain Plug O-ring
(420)Oil Pan Bolt - Short
(421)Oil Pan Bolt - Medium
(422)Oil Pan Bolt - Long
(423)Oil Pan Stud
(712)Engine Oil Level Sensor
(713)Engine Oil Level Sensor O-ring
Figure 13:

Oil Filter Adapter


Object Number: 906790  Size: SH
(440)Oil Filter Adapter
(441)Oil Filter Adapter Gasket
(442)Oil Filter Adapter Bolt
(445)Oil Filter Fitting
(446)Oil Filter Bypass Valve
(449)Oil Filter
(457)Oil Filter Bypass Valve Hole Plug
(728)Engine Oil Pressure Sensor
(729)Engine Oil Pressure Sensor O-ring