GM Service Manual Online
For 1990-2009 cars only

Rear Bearing Housing Assembly


    Object Number: 499251  Size: SH
  1. Lubricate the NEW rear bearing housing O-rings (1) with clean engine oil.
  2. Install the O-rings into the rear bearing housing.

  3. Object Number: 499257  Size: SH
  4. Install the bearing (1) into the housing.

  5. Object Number: 499233  Size: SH

    Important: Press only on the outer race of the bearing.

  6. Position the rear bearing housing (2) into a press in order to install the bearing (1).

  7. Object Number: 499255  Size: SH
  8. Install the snap ring (1) into the rear bearing housing.

  9. Object Number: 1242466  Size: SH
  10. Install the bearing (2) and snap rings (1) onto the flex plate spindle (3).

  11. Object Number: 1242465  Size: SH
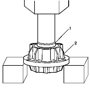
  12. Install the flex plate spindle, with bearing, into the rear bearing housing.

  13. Object Number: 499250  Size: SH
  14. Press the flex plate spindle, with bearing (1), into the housing (2). Support the inner race of the housing bearing when assembling the components.

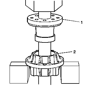
  15. Object Number: 499245  Size: SH
  16. Install the hub (1) onto the flex plate spindle. Align the marks on the flex plate spindle and hub for proper assembly.
  17. Apply threadlock GM P/N 12345382 (Canadian P/N 10953489), or equivalent, to the threads of the spindle.
  18. Notice: Refer to Fastener Notice in the Preface section.


    Object Number: 499221  Size: SH
  19. Install the nut (1) to the flex plate spindle.
  20. Tighten
    Tighten the spindle nut to 90 N·m (66 lb ft).

Propeller Shaft Installation


    Object Number: 499243  Size: SH

    Important: Install the propeller shaft bushing into hub with the smaller opening of the bushing positioned away from the flange.

  1. Install a NEW bushing (1) into the propeller shaft, if required.

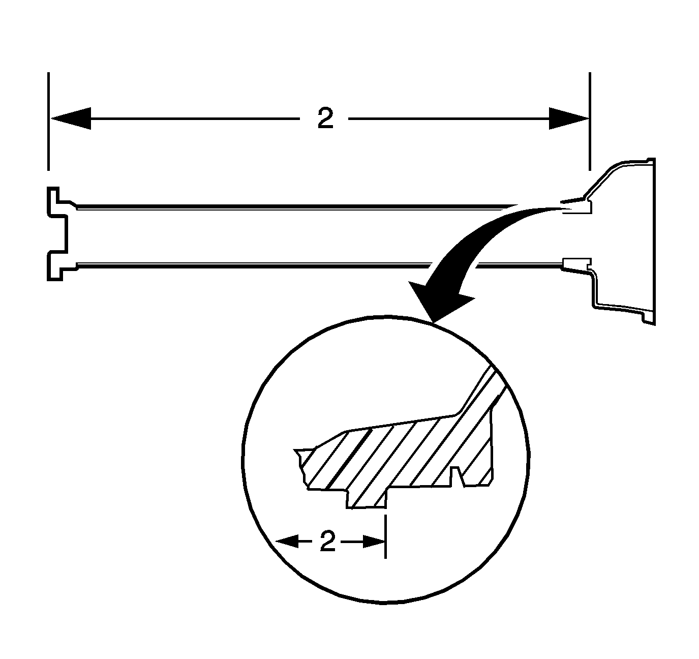
  2. Object Number: 566592  Size: SH
  3. Inspect the bushing for proper installation. A properly installed bushing will protrude 18 mm (0.708 in) from the face of the hub.

  4. Object Number: 499214  Size: SH

    Important: If the coupling orientation mark has been lost during the cleaning or disassembly process, the coupling MUST be installed with the directional arrow pointed toward the flange to which it mounts.

  5. Install the rear bearing housing assembly, bolts, and washers to the rear coupling.
  6. Tighten
    Tighten the coupling bolts to 70 N·m (52 lb ft).


    Object Number: 1242461  Size: SH
  7. Install the bearing (1) onto the input shaft.
  8. Install the bearing until completely seated against the flange of the input shaft.


    Object Number: 1242460  Size: SH
  9. Install the snap ring (2) into the groove of the input shaft.
  10. Install a NEW slinger washer (1) onto the input shaft.
  11. A properly installed slinger washer will have a gap of 1.5-2.5 mm (0.050-0.098 in) between the washer and the bearing face.


    Object Number: 1242462  Size: SH
  12. Install the input shaft, bolts, and washers to the coupling.
  13. Tighten
    Tighten the coupling bolts to 70 N·m (52 lb ft).


    Object Number: 264192  Size: SH
  14. Measure the distance (1) from the end of the input shaft to the flange on the bearing housing - automatic transmission. Record the amount as distance 1.

  15. Object Number: 264200  Size: SH
  16. Measure the distance (2) from the driveline tube front bell housing flange to the bearing housing flange. Record this as distance 2.
  17. Subtract the distance 2 from distance 1.
  18. Record the computation as distance 3.

  19. Object Number: 566590  Size: SH
  20. Lubricate the NEW driveline tube O-ring (1) with clean engine oil.
  21. Install the O-ring into the front of the driveline tube.

  22. Object Number: 499210  Size: SH
  23. Install the propeller shaft assembly into the driveline tube.
  24. During installation, lift the front of the input shaft to avoid damage to the slinger washer. Using a punch, tap evenly on the flat flange area of the rear bearing housing and install the assembly completely into the tube.


    Object Number: 1242458  Size: SH
  25. Install the rear bearing housing bolt hole plugs (1-3).

  26. Object Number: 1242472  Size: SH
  27. Install the snap ring into the driveline tube. The beveled edge of the snap ring faces the rear of the driveline tube assembly and will seat completely into the groove of the housing.
  28. Important: The propeller shaft assembly must be inspected for proper installation into the driveline tube. When the propeller shaft assembly is installed into the driveline tube, the couplings may compress and not properly position the input shaft.

  29. Measure the distance from the end of the input shaft to the driveline tube front bell housing flange.
  30. The actual distance must be equal to or within 2 mm (0.079 in) of the recorded dimension 3.

    17.1. If the actual distance is not within specifications, use a heat gun and heat the outside of the driveline support tube at the front bearing location.
    17.2. Tap on the rear of the propeller shaft assembly or pull on the input shaft until the shaft has reached the proper position.

    Object Number: 1242455  Size: SH
  31. Install the flex plate and bolts.
  32. Tighten
    Tighten the flex plate bolts to 50 N·m (37 lb ft).