GM Service Manual Online
For 1990-2009 cars only

Tools Required

J 7872 Magnetic Base Dial Indicator Set


    Object Number: 1242467  Size: SH
  1. Clean all bolts and bolt holes of threadlocking material.
  2. Clean the components in solvent.
  3. Caution: Wear safety glasses in order to avoid eye damage.

  4. Dry the components with compressed air.
  5. Inspect the hub for the following conditions:
  6. • Damaged bolt hole threads (1)
    • Damaged snap ring grooves (2)
    • Worn splines (3)
    • Worn or scored surface (4)
    • Worn or damaged bushing

    Object Number: 261029  Size: SH
  7. Inspect the couplings for the following conditions:
  8. • Loose or damaged inserts (1)
    • Worn, cracking, or deteriorated rubber (2)
    • MINOR cracking of the rubber is normal and acceptable. If the cracks expose any frayed fabric or internal windings, replace the coupling.

    Object Number: 1242468  Size: SH
  9. Inspect the propeller shaft for the following conditions:
  10. • Damaged bolt hole threads (1)
    • Loose or missing balance weights (2)
    • Balance weights may have been installed and removed during the balancing process. In those cases, a weld mark will remain on the propeller tube.
    • Inspect the inside of the driveline support tube for a missing balance weight.
    • Dented or damaged propeller shaft tube (3)
    • Worn, bent, loose, or damaged pins (4)

    Object Number: 499265  Size: SH
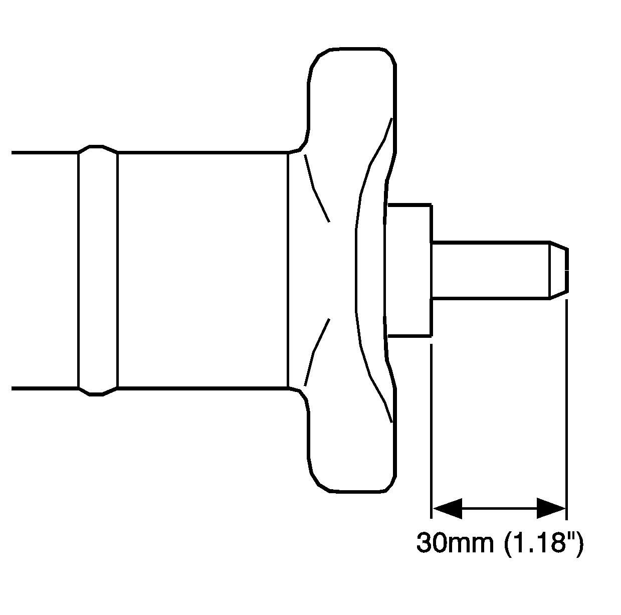
  11. Inspect the propeller shaft pins for proper installation. The pin should extend beyond the flange 30 mm (1.18 in).

  12. Object Number: 261032  Size: SH
  13. Measure the propeller shaft runout.
  14. 8.1. Mount the propeller shaft in wooden V-blocks or between centers on a fixture.
    8.2. Inspect the runout of the propeller shaft in multiple locations, including the barrel ends, using the J 7872 .
    8.3. If propeller shaft runout exceeds 0.3 mm (0.118 in), the propeller shaft is bent and should be replaced.

    Object Number: 1242470  Size: SH
  15. Inspect the flex plate spindle for the following conditions:
  16. • Damaged bolt hole threads (1)
    • Damaged snap ring grooves (2)
    • Worn or damaged splines (3)
    • Damaged threads (4)

    Object Number: 499260  Size: SH
  17. Inspect the input hub for the following conditions:
  18. • Worn or damaged splines (1)
    • Damaged bolt hole threads (2)

    Object Number: 499246  Size: SH
  19. Inspect the bearing housing for the following conditions:
  20. • Damaged O-ring or snap ring grooves (1-2)
    • Damaged threads (3)
    • Worn or scored bearing bores