GM Service Manual Online
For 1990-2009 cars only

Tools Required

    • DT-48005 Pinion Bearing Remover
    • DT-48007 Spline Holder
    • J 42162 Getrag Axle Side Gear Compressor
    • J 42172 Getrag Axle Bearing Race Installer

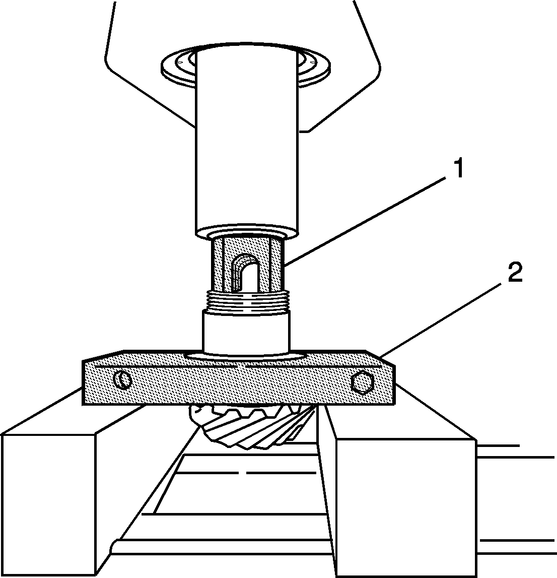
    Object Number: 64142  Size: SH
  1. Remove the pinion nut using the J 42172  (1) and the DT-48007  (2) in a vise.

  2. Object Number: 64144  Size: SH
  3. Position the pinion housing/cage into a press.
  4. Use the J 42162 and a hydraulic press in order to remove the pinion shaft and bearing from the housing/cage.

  5. Object Number: 64161  Size: SH

    Important: The spacer is specific for the bearing set and must be used in order to achieve the proper bearing preload. The pinion bearings, spacer and housing/cage must be replaced as a set.

  6. Remove the nut (1), bearing (2), spacer (3), and pinion shaft (5) from the housing/cage (4).

  7. Object Number: 1696792  Size: SH
  8. Install the DT-48005  (2) onto the pinion shaft and bearing.
  9. Use the J 42162  (1), DT-48005  (2), and a hydraulic press in order to remove the bearing from the shaft.