GM Service Manual Online
For 1990-2009 cars only

Tools Required

    • J-42159-A Differential Side Bearing Remover
    • J 42162 Getrag Axle Side Gear Compressor
    • J-42173-A Differential Holding Fixture

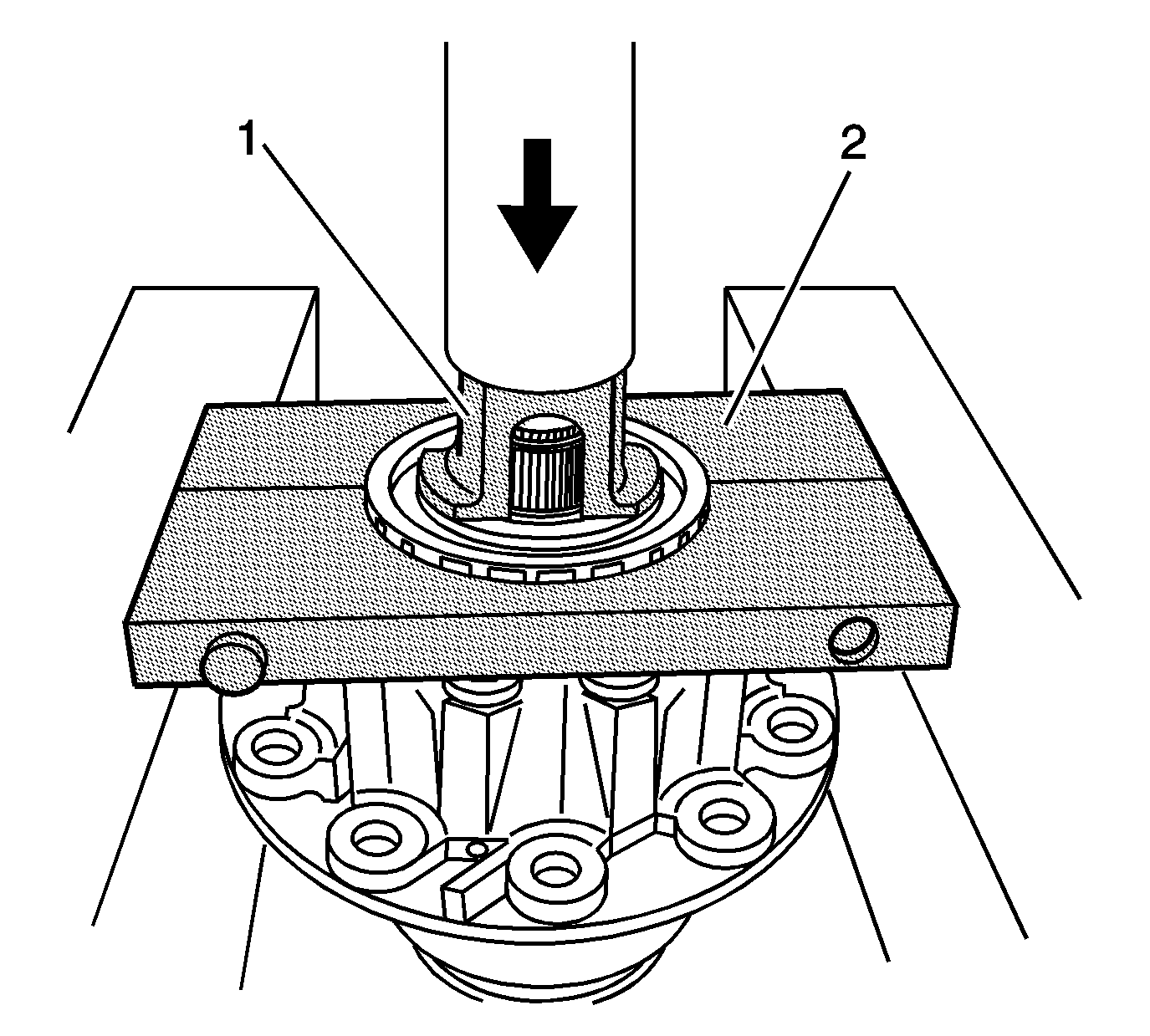
    Object Number: 1041927  Size: SH
  1. Position the differential case assembly onto the J-42173-A .

  2. Object Number: 1041930  Size: SH
  3. Remove the ring gear bolts and ring gear.
  4. Using a punch and a hammer, drive out the ring gear.
  5. Discard the ring gear bolts.

  6. Object Number: 1696786  Size: SH
  7. Install the J-42159-A  (2) onto the right differential side bearing.
  8. Using the J-42159-A  (2), J 42162  (1), and a hydraulic press, remove the right side bearing from the differential.

  9. Object Number: 58600  Size: SH
  10. Remove the differential case bolts.
  11. Separate the case halves, right and left.

  12. Object Number: 58602  Size: SH
  13. Remove the intermediate shaft and left gear from the left case.

  14. Object Number: 1764666  Size: SH

    Important: Friction discs and separator plates develop specific wear patterns and are a matched set. During disc and plate removal, the components must be retained in the specific order in which they were removed.

  15. Remove the left clutch pack from the left case.
  16. • Remove the separator plates (1).
    • Remove the friction discs (2).
    • Remove the bellville washer (3).
  17. Tag the clutch pack to indicate the position of the components.

  18. Object Number: 1696788  Size: SH
  19. Install the J-42159-A  (2) onto the left differential side bearing.
  20. Using the J-42159-A  (2), J 42162  (1), and a hydraulic press, remove the left side bearing from the differential.

  21. Object Number: 1696789  Size: SH
  22. Remove the C-clip from the left intermediate shaft.
  23. Remove the gear from the left intermediate shaft.

  24. Object Number: 58612  Size: SH
  25. Using the J 42162 and a hydraulic press, compress the bellville washer and clutch pack in order to remove the cross pin from the right differential case.

  26. Object Number: 1696790  Size: SH
  27. Remove the right side gears (1), side gear washers (2), and output shaft and gear (3) from the right differential case.

  28. Object Number: 1764669  Size: SH

    Important: Friction discs and separator plates develop specific wear patterns and are a matched set. During disc and plate removal, the components must be retained in the specific order in which they were removed.

  29. Remove the right clutch pack from the right case.
  30. • Remove the bellville washer (1).
    • Remove the friction discs (2).
    • Remove the separator plates (3).
  31. Tag the clutch pack to indicate the position of the components.