GM Service Manual Online
For 1990-2009 cars only

Tools Required

    • J 42572 Drive Axle Seal Clamp Pliers
    • J 46588 Axle Seal Crimp Tool

Removal Procedure

This procedure is to be performed only after the drive shaft has been removed from the vehicle; for the removal procedure refer to Wheel Drive Shaft Replacement .


    Object Number: 174639  Size: SH
  1. Wrap a shop towel around the axle shaft.
  2. Place the wheel drive shaft horizontally in a bench vise.
  3. Using the J 46588 , remove the large seal retaining clamp from the CV joint seal.
  4. Remove the small seal retaining clamp from the joint seal.
  5. Use a side cutter or other suitable tool and discard the clamp.

  6. Separate the seal from the joint outer race at the large diameter end.
  7. Position the seal behind the joint face.
  8. Position the wheel drive shaft vertically in the bench vise so the inner joint is up.
  9. Slide the joint outer race down toward the vise.
  10. Disengage the outer race retaining ring.
  11. 9.1. Insert a small flat bladed screwdriver between the retaining ring and the outer race.
    9.2. Remove the retaining ring from the outer race.
    9.3. Position the retaining ring along the axle shaft away from the outer race.

    Object Number: 174641  Size: SH

    Important: The balls may fall out of the cage and inner race when the outer race is removed.

  12. Remove the outer race from the axle shaft.
  13. 10.1. Use the seal to catch any balls which are not retained by grease.
    10.2. Lift the outer race off the axle shaft.

    Object Number: 174646  Size: SH
  14. Remove any remaining balls from the cage and inner race.
  15. Remove any balls caught by the seal.


    Object Number: 174648  Size: SH
  16. Position the wheel drive shaft horizontally in the bench vise.
  17. Remove the outer race retaining ring from the axle shaft.
  18. Remove the snap ring from the axle shaft.

  19. Object Number: 174650  Size: SH
  20. Align the cage lands with the inner race ball tracks.
  21. Reposition the cage along the axle shaft away from the inner race.
  22. Wipe the grease from the inner race.
  23. Remove the inner race from the axle shaft using a three jaw puller.

  24. Object Number: 174652  Size: SH
  25. Remove the cage from the axle shaft.

  26. Object Number: 174617  Size: SH
  27. Remove the seal from the axle shaft.
  28. Remove the wheel drive shaft from the bench vise.
  29. Important: All traces of old grease and any contaminates must be removed.

  30. Clean the following thoroughly with clean solvent:
  31. • The inner race
    • The outer race
    • The cage
    • The balls
    • The axle shaft exposed end.
  32. Thoroughly air dry all the parts.

Installation Procedure

Notice: Wheel drive shaft boots, seals and clamps should be protected from sharp objects any time service is performed on or near the wheel drive shaft(s). Damage to the boot(s), the seal(s) or the clamp(s) may cause lubricant to leak from the joint and lead to increased noise and possible failure of the wheel drive shaft.


    Object Number: 174617  Size: SH
  1. Wrap a shop towel around the axle shaft.
  2. Place the wheel drive shaft horizontally in a bench vise.
  3. Install a new small seal retaining clamp onto the wheel drive shaft.
  4. Install the seal onto the axle shaft.

  5. Object Number: 174652  Size: SH
  6. Install the cage onto the axle shaft so the smaller diameter end faces the vise.

  7. Object Number: 174653  Size: SH

    Important: The inner race spline relief must face away from the end of the axle shaft.

  8. Install the inner race onto the axle shaft.
  9. 6.1. Engage the inner race splines onto the axle shaft splines.

    Be sure to install the inner race spline relief side onto the axle shaft first.

    6.2. Position a wood block squarely over the end of the inner race.
    6.3. Use a hammer to begin to drive the inner race onto the axle shaft.
    6.4. Reposition the wood block along the face of the inner race to avoid the axle shaft.
    6.5. Work evenly around the inner race and continue to drive the inner race, until you feel the inner race seat fully onto the axle shaft.
    6.6. Inspect to be sure that the axle shaft snap ring groove is exposed.

    Object Number: 174648  Size: SH
  10. Install the snap ring to the axle shaft.
  11. Position the cage so the cage lands align with the inner race ball tracks.
  12. Install the cage onto the inner race.
  13. Position the cage windows to align with the inner race ball tracks.

  14. Object Number: 174656  Size: SH
  15. Insert approximately 60 percent of the grease from the service kit into the outer race.

  16. Object Number: 174654  Size: SH
  17. Position the wheel drive shaft vertically in the bench vise so the inner joint end is up.
  18. Apply a small amount of the grease from the service kit to the cage windows and inner race ball tracks.
  19. Insert the remaining grease from the service kit into the seal.

  20. Object Number: 174646  Size: SH
  21. Install the outer race retaining ring onto the axle shaft.
  22. Position the retaining ring below the cage (toward the vise).

  23. Install the balls through the cage windows to the inner race ball tracks.
  24. Use the seal to keep the balls in position if necessary.


    Object Number: 174641  Size: SH
  25. Install the outer race onto the axle shaft.
  26. 17.1. Be careful not to allow the grease in the outer race to leak out.
    17.2. Align the outer race ball tracks to the balls.
    17.3. Slide the outer race down over the balls.
  27. Position the wheel drive shaft horizontally in the bench vise.
  28. Engage the outer race retaining ring.
  29. 19.1. Slide the outer race toward the vise.
    19.2. Insert the outer race retaining ring into the groove along the outer edge of the outer race.
    19.3. Position the outer race retaining ring so the opening in the ring aligns with an outer race land (not a ball track).
  30. Position the large diameter end of the seal onto the outer race.

  31. Object Number: 174629  Size: SH
  32. Position the small seal retaining clamp  (3) onto the neck of the seal  (4).
  33. Position the seal and small retaining clamp to the axle shaft  (2) as shown.
  34. Measure the distance  (1) between the edge of the seal and the edge of the last axle shaft groove closing edge; adjust fit accordingly.
  35. Specification
    2.5 mm (0.10 in)


    Object Number: 1034484  Size: SH

    Important: The seal retaining clamp must not be over-tightened or under-tightened.

  36. Crimp the small seal retaining clamp using the J 42572 .
  37. Tighten
    Tighten the small seal retaining clamp until the base of the omega (ohms) shape has a gap width (a) between 2 and 3 mm (0.079 and 0.118 in), with a difference in the gap width from side to side no greater than 0.4 mm (0.016 in). The clamping hold time must be no less than 2 seconds.


    Object Number: 174664  Size: SH
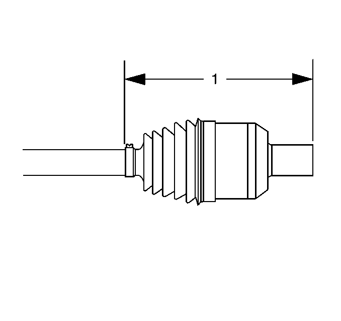
  38. Measure the distance  (1) between the end of the seal and the end of the joint outer race; adjust the plunging motion of the joint accordingly.
  39. Specification
    224-228 mm (8.82-8.98 in)


    Object Number: 174635  Size: SH
  40. Position the large seal retaining clamp  (2) onto the seal  (3).
  41. Position the seal and large retaining clamp to the joint outer race  (4) as shown.
  42. Measure the distance  (1) between the edge of the seal and the edge of the joint outer race last groove closing edge; adjust fit accordingly.
  43. Specification
    0.8 mm (0.03 in)

    Important: The seal must not be dimpled, stretched or out of shape in any way.

  44. Inspect the seal for proper shape.
  45. If the seal is NOT shaped correctly, equalize the pressure in the seal and shape the seal properly by hand.

  46. Inspect the seal for damage.
  47. If the seal has been cut or punctured during assembly, you must discard and replace the seal.


    Object Number: 1034498  Size: SH
  48. Align the following items while latching:
  49. • The wheel drive shaft inboard seal (2)
    • The tripot housing
    • The large seal retaining clamp (3)
  50. Using the seal clamp pliers J 46588  (1) , latch the large seal retaining clamp. Ensure that the latching tangs are fully engaged in the large seal clamp band.
  51. Remove the wheel drive shaft from the bench vise.
  52. Distribute the grease within the inner CV joint.
  53. Plunge the joint back and forth four or five times.

  54. Inspect the inner CV joint and wheel drive shaft for smooth operation.
  55. 35.1. Hold the wheel drive shaft vertically, with the outer joint at the bottom.
    35.2. Rotate the wheel drive shaft four or five times in a circular motion.
  56. To install the wheel drive shaft into the vehicle, refer to Wheel Drive Shaft Replacement .