GM Service Manual Online
For 1990-2009 cars only
Makes
🢒
Chevrolet
🢒
1999
🢒
Alero Export
🢒
Engine
🢒
Engine Controls - 2.4L
🢒 Emission Hose Routing Diagram
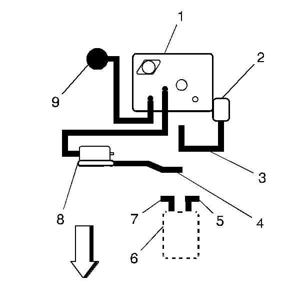
Figure
1:
LD9 With EGR
(1)
Located at Rear of Vehicle
(2)
EVAP Canister Vent Valve
(3)
EVAP Service Port
(4)
Fuel Pressure Regulator
(5)
Throttle Body
(6)
MAP Sensor
(7)
To Intake Manifold
(8)
Accessory Vacuum
(9)
To Brake Booster
(10)
To Intake Pre-Plenum
(11)
Oil Separator Mounted On Block
(12)
To Engine Timing Chain Housing
(13)
EVAP Canister Purge Valve
(14)
To Fuel Tank
(15)
EVAP Canister
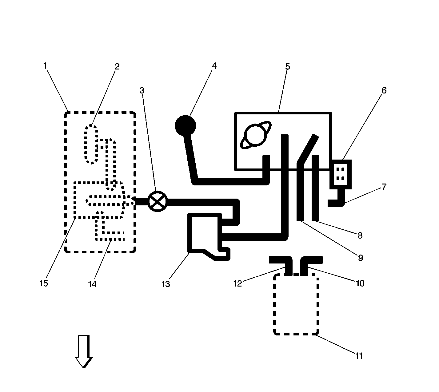
Figure
2:
LD9 Without EGR
(1)
Throttle Body
(2)
MAP Sensor
(3)
To Intake Manifold
(4)
To EVAP Canister (at the rear of vehicle)
(5)
To Intake Pre-Plenum
(6)
Oil Separator Mounted (on engine block)
(7)
To Engine Timing Chain Housing
(8)
EVAP Canister Purge Solenoid Valve
(9)
Fuel Pressure Regulator