GM Service Manual Online
For 1990-2009 cars only
Figure 1:

LD9


Object Number: 98335  Size: SH
(1)EGR Solenoid (With EGR)
(2)TP Sensor Electrical Connector
(3)MAP Sensor
(4)IAC Valve
(5)Canister Purge Solenoid Valve
(6)A/C Compressor Clutch Electrical Connector
(7)A/C Compressor Clutch
(8)Generator
(9)Fule Injectors Electrical Harness
(10)CMP Sensor
Figure 2:

Fuse Block -- Underhood


Object Number: 217555  Size: SF
(1)Fuse Block -- Underhood Cover
Figure 3:

Electric Cooling Fan Motors and A/C Pressure Sensor


Object Number: 217559  Size: SF
(1)Cooling Fan Motor--LH
(2)Cooling Fan Motor--RH
(3)A/C Pressure Sensor
Figure 4:

Crankshaft Position (CKP) Sensor


Object Number: 219416  Size: SF
(1)Crankshaft Position (CKP) Sensor
(2)Oil Filter
Figure 5:

Cruise Control Module


Object Number: 409002  Size: SH
Figure 6:

Data Link Connector


Object Number: 217558  Size: SF
(1)Steering Colunm
(2)Data Link Connector (DLC)
Figure 7:

Left Rear of Engine


Object Number: 98303  Size: MF
(1)Ignition Control Module (ICM) Connector
(2)Engine Oil Pressure (EOP) Sensor
(3)Engine Coolant Temperature (ECT) Sensor
(4)Knock Sensor (KS)
(5)Engine Harness
(6)Power Steering Hoses
(7)Variable Effort Steering Control Actuator Lead
(8)Intake Air Temperature (IAT) Sensor
Figure 8:

Knock Sensor


Object Number: 410067  Size: SH
Figure 9:

Evaporative Emission (EVAP) Canister Vent Solenoid and Canister


Object Number: 217578  Size: SF
(1)Evaporative Emission (EVAP) Canister Vent Solenoid
(2)Fuel Filter
(3)Rear Cross Member (Under Vehicle)
(4)Evaporative Emission (EVAP) Canister
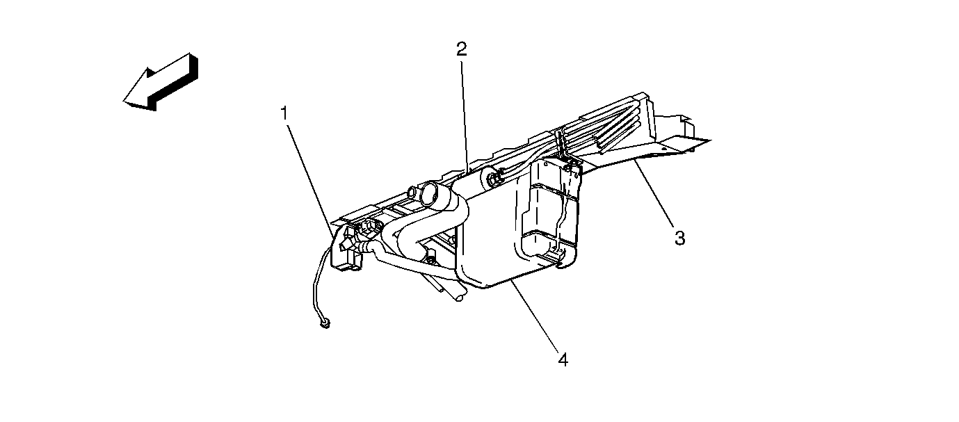
Figure 10:

Fuel Pump and Sender Assembly


Object Number: 61866  Size: SH
(1)Fuel Tank Pressure (FTP) Sensor
(2)Fuel Pump and Sender Assembly
(3)Fuel Pump Strainer
(4)Fuel Level Sensor
Figure 11:

Ignition Coil and Ignition Control Module (ICM)


Object Number: 219425  Size: MF
(1)Ignition Control Module (ICM) Cover
(2) Ignition Control Module (ICM)
(3) Ignition Control Module (ICM) Bolt/Screw
(4) Ignition Control Module (ICM) Wiring Harness
(5)Ignition Coil
(6)Ignition Coil Housing Assembly
(7)Housing Cover Retainer
(8)Ignition Coil Bolt/Screw
(9)Spring - Spark Plug Boot
(10)Boot - Spark Plug
(11)Retainer - Spark Plug Boot
Figure 12:

Intake Air Temperature (IAT) Sensor


Object Number: 219430  Size: SF
(1)Intake Air Temperature (IAT) Sensor
Figure 13:

Heated Oxygen Sensor (HO2S) Sensor 2


Object Number: 217420  Size: MF
(1)Heated Oxygen Sensor (HO2S) Sensor 2
(2)TWC Catalyst
Figure 14:

Powertrain Control Module (PCM) and Data Link Connector (DLC)


Object Number: 219428  Size: SF
(1)Powertrain Control Module (PCM)
(2)Data Link Connector (DLC)
Figure 15:

Oxygen Sensor (O2S) Sensor 1


Object Number: 219421  Size: SF
(1)Oxygen Sensor (O2S) Sensor 1 Connector
(2)Oxygen Sensor (O2S) Sensor 1
Figure 16:

Top of Transmission (MX0)


Object Number: 217922  Size: MF
(1)Park/Neutral Position (PNP) Switch