GM Service Manual Online
For 1990-2009 cars only

Fuel Metering System Component Description With EGR

Fuel Metering System Components

The fuel metering system is made up of the following parts:

    • Fuel supply components (fuel tank, pump, and lines).
    • Fuel pump electrical circuit.
    • Fuel rail assembly, including:
       - Fuel injectors.
       - Fuel pressure regulator.
    • Throttle body assembly, including:
       - Idle Air Control (IAC) valve.
       - Throttle Position (TP) sensor.

Fuel Pump Electrical Circuit

When the ignition key is first turned ON, without the engine running, the PCM energizes the fuel pump relay for a calibrated time (approximately 2 seconds). This builds up fuel pressure quickly. Whenever the engine is not started within two seconds, the PCM shuts OFF the fuel pump and waits until ignition reference pulses are present. As soon as the engine is cranked, the PCM energizes the fuel pump relay which powers the fuel pump. An inoperative fuel pump relay or an inoperative fuel pump would cause a no start condition. A fuel pump which does not provide enough pressure can result in poor performance.

Fuel Rail Assembly Identification


Object Number: 20350  Size: SH

An eight digit identification number is stamped on the side of the fuel rail. Refer to this number if servicing or part replacement is required.

Fuel Injectors

The fuel injector assembly is a solenoid-operated device, controlled by the PCM, that meters pressurized fuel to a single engine cylinder. The PCM energizes the fuel injector solenoid, which opens a ball valve, allowing fuel to flow past the ball valve, and through a recessed flow director plate at the injector outlet. The director plate has machined holes that control the fuel flow, generating a conical spray pattern of finely atomized fuel at the injector tip. Fuel from the tip is directed at the intake valve, causing it to become further atomized and vaporized before entering the combustion chamber. A fuel injector that is stuck partly open would cause loss of pressure after the engine is shut down, so long crank times would be noticed on some engines. Dieseling could also occur because some fuel could be delivered to the engine after the ignition is turned OFF.

Fuel Pressure Regulator Assembly


Object Number: 12633  Size: SH

The fuel pressure regulator assembly is a diaphragm-operated relief valve with fuel pump pressure on one side, and a regulator spring pressure and intake manifold vacuum on the other side. The regulator's function is to maintain a constant pressure differential across the injectors at all times. The pressure regulator compensates for engine load by increasing the fuel pressure as the engine vacuum drops. The fuel pressure regulator is serviced as a complete assembly. With the ignition ON and engine OFF (zero vacuum), fuel pressure should be 284-325 kPa (41-47 psi). Whenever the pressure is too low, poor performance and a DTC P0171 could result. Whenever the pressure is too high, excessive odor and a DTC P0172 could result.

Throttle Body Assembly


Object Number: 20076  Size: SH

The throttle body (1) assembly is attached to the intake manifold. The throttle body is used to control air flow into the engine, thereby controlling engine output. The throttle valve within the throttle body is opened by the driver through the accelerator controls. During engine idle, the throttle valve is almost closed, and air flow control is handled by the Idle Air Control (IAC) (3) .The throttle body also provides the location for mounting the Throttle Position (TP) (2) sensor and provides a manifold vacuum source for various components. Vacuum ports are located at the throttle valve to generate vacuum signals needed by various components.

Idle Air Control (IAC) Valve Assembly


Object Number: 10172  Size: SH

Engine idle speed is controlled by the powertrain control module (PCM) through the IAC valve (1) mounted on the throttle body. The PCM sends voltage pulses to the IAC valve motor windings causing the IAC valve pintle (3) to move IN toward the seat, or OUT away from the seat, a given distance (a step, or count), for each pulse. The commanded location, steps away from the seated position, can be observed as a number of counts displayed on a scan tool. The pintle movement controls the airflow around the throttle valve (2), which in turn, controls engine idle speed:

    • Pintle Extended = Decrease
    • RPM = Lower Counts
    • Pintle Retracted = Increase
    • RPM = Higher Counts
    • The controlled or desired idle speed for all engine operating conditions is programmed into the EEPROM of the PCM. The programmed engine speeds are based on coolant temperature, park/neutral switch status, vehicle speed, battery voltage, and A/C refrigerant pressure, if equipped.
    • The PCM learns the proper IAC valve positions to achieve warm, stabilized idle speeds (RPM), desired for the various conditions (P/N or Drive, A/C ON or OFF, if equipped). This information is stored in PCM keep alive memories (information is retained after ignition is OFF). All other IAC valve positioning is calculated based on these memory values. As a result, engine variations due to wear, and variations in minimum throttle valve position (within limits) do not affect engine idle speeds. This system provides correct idle control under all conditions. This also means that disconnecting power to the PCM can result in incorrect idle control or the necessity to partially depress the accelerator when starting, until the PCM relearns idle control.
    •  Engine idle speed is a function of total airflow into the engine based on IAC valve pintle position plus throttle valve opening plus calibrated vacuum loss through accessories.
    • The minimum throttle valve position is set at the factory with a stop screw. This setting allows enough air flow by the closed throttle valve to cause the IAC valve pintle to be positioned a calibrated number of steps (counts) from the seat during controlled idle operation. The minimum throttle valve position for this engine is not the same as the minimum idle speed associated with other fuel injected engines. The throttle stop screw is filled at the factory following an adjustment.

       Important: Do Not try to remove the filler and readjust the stop screw. Misadjustment may set a DTC P0506 or a DTC P0507.

    • The PCM normally resets the IAC valve pintle position once during each ignition cycle when vehicle speed increases above 20 mph on moderate acceleration. During the reset, the PCM commands the IAC valve pintle to retract completely, then move IN to the seated position (to establish the zero count position), and then back out to the desired position. The IAC is relearned only once per ignition cycle.
    •  The IAC valve also can be reset without driving the vehicle by using this service procedure:
        1. Turn ON ignition, with the engine OFF.
        2. Turn OFF ignition for ten seconds.
        3. Start engine and check for proper idle operation.
    • Whenever the IAC valve is disconnected and reconnected while the engine is running, the resulting IAC valve counts may not correspond with the actual IAC valve pintle position. When servicing the IAC valve, do not disconnect or connect the valve until after the ignition has been OFF for at least 10 seconds. This allows time for the PCM to move the IAC valve to the 150 count position where the valve is parked while the ignition is OFF. Whenever this procedure is not followed, the PCM will lose track of IAC valve position resulting in starting or idle control problems until the IAC valve is reset and pintle position is relearned.
    • IAC system problems may cause improper idle speeds, resulting in a DTC P0506 or a DTC P0507. The DTC P0506 or the DTC P0507 tables should be used to diagnose these problems.

Throttle Position (TP) Sensor

The nonadjustable, throttle shaft-driven TP sensor is mounted on the throttle body assembly opposite the throttle cam lever. The TP sensor senses the throttle valve angle and relays the information to the Powertrain Control Module (PCM). Knowledge of throttle angle is needed by the PCM to properly control the injector control signals (pulses).

Fuel Metering System Component Description Without EGR

The fuel metering system is made up of the following parts:

    • Fuel supply components (fuel tank, pump, and lines)
    • Fuel pump electrical circuit
    • Fuel rail assembly, including:
       - Fuel injectors
       - Fuel pressure regulator
    • Throttle body assembly, including:
       - Idle air control (IAC) valve
       - Throttle position (TP) sensor

Fuel Pump Electrical Circuit

When the ignition switch is turned to the ON position, the PCM energizes the fuel pump relay for 2 seconds allowing the fuel pump to pressurize the fuel system. If the PCM does not receive any ignition reference pulses, engine cranking or running, within 2 seconds, the PCM de-energizes the fuel pump relay, this causes the fuel pump to stop.

An inoperative fuel pump relay will cause no start.

Accelerator Controls

The accelerator control system is a cable type and there are no linkage adjustments. Therefore, the only specific cable for each application must be used. When work has been performed on the accelerator controls, always make sure that all components are installed correctly and that the linkage and cables are not rubbing or binding in any manner. The throttle should operate freely without binding between full closed and wide open throttle (WOT).

Fuel Injectors


Object Number: 313040  Size: MH

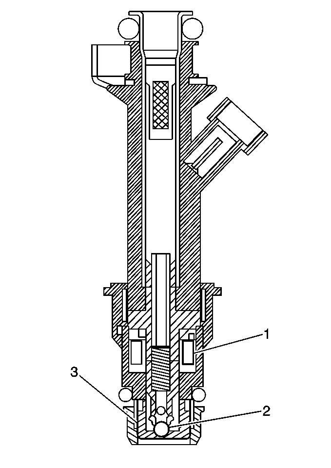
The fuel injector assembly is a solenoid-operated device, controlled by the PCM, that meters pressurized fuel to a single engine cylinder. The PCM energizes the fuel injector solenoid (1) which opens a ball valve (2) allowing fuel to flow past the ball valve, and through a director plate (3) at the injector outlet. The director plate has machined holes that control the fuel flow, generating a conical spray pattern of finely atomized fuel at the injector tip. Fuel from the tip is directed at the intake valve, causing it to become further atomized and vaporized before entering the combustion chamber. A fuel injector that is stuck partly open would cause loss of pressure after the engine is shut down, so long crank times would be noticed on some engines. Dieseling could also occur because some fuel could be delivered to the engine after the ignition is turned OFF.

Fuel Injector Part Number Location


Object Number: 312994  Size: SH

The eight digit part number (2) is identified on the fuel injector body (1). A four digit build date (3) is also located on the fuel injector body. the first digit (4) indicates the month in which the fuel injector was built. For example, 1=January, 2=February, ....9=September, O=October, N=November and D=December. The second and third digit (5) indicates the day of the month. The fourth digit (6) indicates the last digit of the year in which the fuel injector was built. Finally, the fifth digit (7) indicates which plant shift built the fuel injector.

Fuel Pressure Regulator Assembly


Object Number: 460807  Size: SH

The fuel pressure regulator assembly is a diaphragm-operated relief valve with fuel pump pressure on one side, and a regulator spring pressure and intake manifold vacuum on the other side. The regulator's function is to maintain a constant pressure differential across the injectors at all times. The pressure regulator compensates for engine load by increasing the fuel pressure as the engine vacuum drops. The fuel pressure regulator is serviced as a complete assembly. With the ignition ON and engine OFF (zero vacuum), fuel pressure should be 358-405 kPa (52-58 psi). Whenever the pressure is too low, poor performance and a DTC P0171 could result. Whenever the pressure is too high, excessive odor and a DTC P0172 could result.

The last five digits of the part number (1) are identified on the fuel pressure regulator. A five digit build date (2) is also located on the fuel pressure regulator. The first three digits indicate the day of the year in which the fuel pressure regulator was built. The fourth digit indicates the year in which the fuel pressure regulator was built. Finally, the fifth digit indicates which plant shift built the fuel pressure regulator.

Throttle Position (TP) Sensor

The nonadjustable, throttle shaft-driven TP sensor is mounted on the throttle body assembly opposite the throttle cam lever. The TP sensor senses the throttle valve angle and relays the information to the powertrain control module (PCM). Knowledge of throttle angle is needed by the PCM to properly control the injector control signals, pulses.

Idle Air Control (IAC) Valve Assembly


Object Number: 10172  Size: SH

Engine idle speed is controlled by the powertrain control module (PCM) through the IAC valve (1) mounted on the throttle body. The PCM sends voltage pulses to the IAC valve motor windings causing the IAC valve pintle (3) to move IN toward the seat, or OUT away from the seat, a given distance (a step, or count), for each pulse. The commanded location, steps away from the seated position, can be observed as a number of counts displayed on a scan tool. The pintle movement controls the airflow around the throttle valve (2), which in turn, controls engine idle speed:

    • Pintle Extended = Decrease
    • RPM = Lower Counts
    • Pintle Retracted = Increase
    • RPM = Higher Counts
    • The controlled or desired idle speed for all engine operating conditions is programmed into the EEPROM of the PCM. The programmed engine speeds are based on coolant temperature, park/neutral switch status, vehicle speed, battery voltage, and A/C refrigerant pressure, if equipped.
    • The PCM learns the proper IAC valve positions to achieve warm, stabilized idle speeds (RPM), desired for the various conditions (P/N or Drive, A/C ON or OFF, if equipped). This information is stored in PCM keep alive memories (information is retained after ignition is OFF). All other IAC valve positioning is calculated based on these memory values. As a result, engine variations due to wear, and variations in minimum throttle valve position (within limits) do not affect engine idle speeds. This system provides correct idle control under all conditions. This also means that disconnecting power to the PCM can result in incorrect idle control or the necessity to partially depress the accelerator when starting, until the PCM relearns idle control.
    •  Engine idle speed is a function of total airflow into the engine based on IAC valve pintle position plus throttle valve opening plus calibrated vacuum loss through accessories.
    • The minimum throttle valve position is set at the factory with a stop screw. This setting allows enough air flow by the closed throttle valve to cause the IAC valve pintle to be positioned a calibrated number of steps (counts) from the seat during controlled idle operation. The minimum throttle valve position for this engine is not the same as the minimum idle speed associated with other fuel injected engines. The throttle stop screw is filled at the factory following an adjustment.

       Important: Do Not try to remove the filler and readjust the stop screw. Misadjustment may set a DTC P0506 or a DTC P0507.

    • The PCM normally resets the IAC valve pintle position once during each ignition cycle when vehicle speed increases above 20 mph on moderate acceleration. During the reset, the PCM commands the IAC valve pintle to retract completely, then move IN to the seated position (to establish the zero count position), and then back out to the desired position. The IAC is relearned only once per ignition cycle.
    •  The IAC valve also can be reset without driving the vehicle by using this service procedure:
        1. Turn ON ignition, with the engine OFF.
        2. Turn OFF ignition for ten seconds.
        3. Start engine and check for proper idle operation.
    • Whenever the IAC valve is disconnected and reconnected while the engine is running, the resulting IAC valve counts may not correspond with the actual IAC valve pintle position. When servicing the IAC valve, do not disconnect or connect the valve until after the ignition has been OFF for at least 10 seconds. This allows time for the PCM to move the IAC valve to the 150 count position where the valve is parked while the ignition is OFF. Whenever this procedure is not followed, the PCM will lose track of IAC valve position resulting in starting or idle control problems until the IAC valve is reset and pintle position is relearned.
    • IAC system problems may cause improper idle speeds, resulting in a DTC P0506 or a DTC P0507. The DTC P0506 or the DTC P0507 tables should be used to diagnose these problems.