GM Service Manual Online
For 1990-2009 cars only

Removal Procedure

  1. Remove the battery. Refer to Battery Replacement in Engine Electrical.

  2. Object Number: 289311  Size: SH
  3. Remove the bolts from the battery tray.
  4. Remove the battery tray.

  5. Object Number: 165923  Size: MH
  6. Disconnect the electrical connections from the solenoid and the motorpack.

  7. Object Number: 165932  Size: MH
  8. Disconnect the brake pipes from the brake modulator assembly.

  9. Object Number: 385205  Size: SH
  10. Disconnect the brake pipes (1,2) from the proportioning valve (3).

  11. Object Number: 165926  Size: SH
  12. Remove the brake modulator assembly. Refer to Brake Pressure Modulator Valve Assembly Replacement in Antilock Brake System.

  13. Object Number: 472771  Size: SH

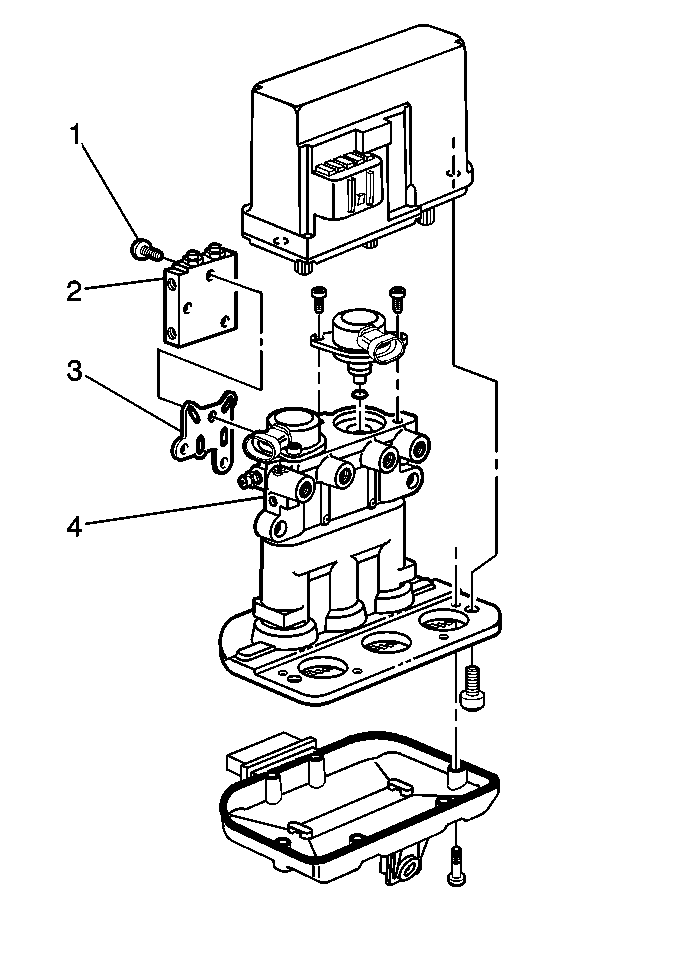
    Important: The proportioning valve gasket (3) between the proportioning valve and the hydraulic modulator assembly (4) must be replaced whenever these components are separated.

  14. Remove the brake proportioning valve (1) from the brake modulator assembly (4).

Installation Procedure


    Object Number: 472768  Size: MH

    Notice: Use the correct fastener in the correct location. Replacement fasteners must be the correct part number for that application. Fasteners requiring replacement or fasteners requiring the use of thread locking compound or sealant are identified in the service procedure. Do not use paints, lubricants, or corrosion inhibitors on fasteners or fastener joint surfaces unless specified. These coatings affect fastener torque and joint clamping force and may damage the fastener. Use the correct tightening sequence and specifications when installing fasteners in order to avoid damage to parts and systems.

  1. Install the brake proportioning valve (2) to the brake modulator assembly (4) using a new gasket.
  2. Tighten
    Tighten bolts to 12 N·m (106 lb in).


    Object Number: 165926  Size: SH
  3. Install the brake modulator assembly. Refer to Brake Pressure Modulator Valve Assembly Replacement in Antilock Brake System.

  4. Object Number: 165942  Size: SH
  5. Connect the brake pipes to the proportioning valve.

  6. Object Number: 165932  Size: MH
  7. Connect the brake pipes to the brake modulator assembly.

  8. Object Number: 165923  Size: MH
  9. Connect the electrical connections to the solenoid and the motorpack.
  10. Install the battery tray bolts.
  11. Tighten
    Tighten the bolts to 6 N·m 53 lb in.

  12. Install the battery. Refer to Battery Replacement in Engine Electrical.
  13. Bleed the brake system. Refer to Hydraulic Brake System Bleeding .