GM Service Manual Online
For 1990-2009 cars only
Figure 1:

Cell 10: IGN SW -- BATT 1 and IGN SW -- BATT 2 Fuses


Object Number: 238557  Size: FS
Power and Grounding Components
Cell 10: AIR BAG, TURN LPS, RDO ACC, WIPER, PCM ACC and IPC/BFC ACC FusEs
Handling ESD Sensitive Parts Notice
Cell 10: AIR BAG, TURN LPS, RDO ACC, WIPER, PCM ACC and IPC/BFC ACC FusEs
Cell 10: AIR BAG, TURN LPS, RDO ACC, WIPER, PCM ACC and IPC/BFC ACC FusEs
Figure 2:

Cell 10: AIR BAG, TURN LPS, RDO ACC, WIPER, PCM ACC and IPC/BFC ACC Fuses


Object Number: 238558  Size: FS
Power and Grounding Components
Cell 10: IGN MOD, BU LMP/BTSI, PCM IGN, F/P INJR, A/C BFC, AUTO TRANS, ABS IGN Fuses
Cell 10: IGN SW - BATT 1 and IGN SW - BATT 2Fuses
SIR Handling Caution
SIR Handling Caution
Handling ESD Sensitive Parts Notice
Handling ESD Sensitive Parts Notice
Handling ESD Sensitive Parts Notice
Handling ESD Sensitive Parts Notice
Handling ESD Sensitive Parts Notice
Handling ESD Sensitive Parts Notice
Handling ESD Sensitive Parts Notice
Handling ESD Sensitive Parts Notice
Cell 10: IGN SW - BATT 1 and IGN SW - BATT 2Fuses
Cell 10: IGN SW - BATT 1 and IGN SW - BATT 2Fuses
Cell 10: IGN MOD, BU LMP/BTSI, PCM IGN, F/P INJR, A/C BFC, AUTO TRANS, ABS IGN Fuses
Cell 10: PWR WNDWS, CRUISE SW, CRUISE, SUNROOF, HVAC BLOWER
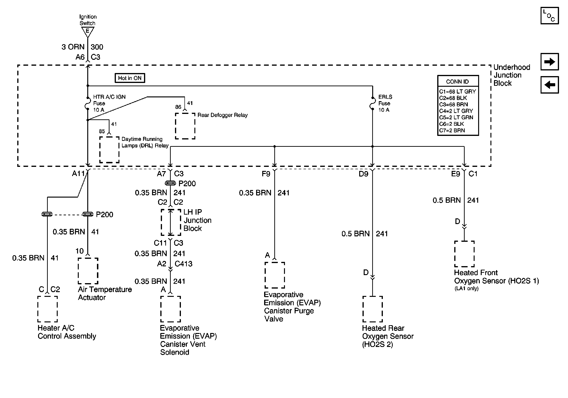
Cell 10: HTR A/C IGN, ERLS Fuses
Starting and Charging Schematics
Figure 3:

Cell 10: IGN MOD, BU LMP/BTSI, PCM IGN, F/P INJR, A/C BFC, AUTO TRANS, ABS IGN Fuses


Object Number: 238564  Size: FS
Power and Grounding Components
Cell 10: HTR A/C IGN, ERLS Fuses
Cell 10: AIR BAG, TURN LPS, RDO ACC, WIPER, PCM ACC and IPC/BFC ACC FusEs
Cell 10: AIR BAG, TURN LPS, RDO ACC, WIPER, PCM ACC and IPC/BFC ACC FusEs
Handling ESD Sensitive Parts Notice
Handling ESD Sensitive Parts Notice
Handling ESD Sensitive Parts Notice
Handling ESD Sensitive Parts Notice
Handling ESD Sensitive Parts Notice
Figure 4:

Cell 10: HTR A/C IGN, ERLS Fuses


Object Number: 238560  Size: FS
Power and Grounding Components
Cell 10: LH BEC BATT 1, AUX PWR/CIGAR, PARK LPS, PCM BATT, PWRSEAT, PWR MIRROR, DR LOCK and TRUNK REL/RFA Fuses
Cell 10: IGN MOD, BU LMP/BTSI, PCM IGN, F/P INJR, A/C BFC, AUTO TRANS, ABS IGN Fuses
Cell 10: AIR BAG, TURN LPS, RDO ACC, WIPER, PCM ACC and IPC/BFC ACC FusEs
Figure 5:

Cell 10: LH BEC BATT 1, AUX PWR/CIGAR, PARK LPS, PCM BATT, PWR SEAT, PWR MIRROR, DR LOCK and TRUNK REL/RFA Fuses


Object Number: 238565  Size: FS
Power and Grounding Components
Cell 10: RH HDLP, LH HDLP, GEN BATT, LH BEC BATT 2, ABS BATT,STOP LPS, HAZARD LPS, IPC/HVAC BATT and BFC BATT Fuses
Cell 10: HTR A/C IGN, ERLS Fuses
Handling ESD Sensitive Parts Notice
Handling ESD Sensitive Parts Notice
Figure 6:

Cell 10: RH HDLP, LH HDLP, GEN BATT, LH BEC BATT 2, ABS BATT, STOP LPS, HAZARD LPS, IPC/HVAC BATT and BFC BATT Fuses


Object Number: 238685  Size: FS
Power and Grounding Components
Cell 10: RR DEFOG, HORN, HI BLO MOT, RH BEC BATT, ABS
Cell 10: LH BEC BATT 1, AUX PWR/CIGAR, PARK LPS, PCM BATT, PWRSEAT, PWR MIRROR, DR LOCK and TRUNK REL/RFA Fuses
Handling ESD Sensitive Parts Notice
Handling ESD Sensitive Parts Notice
Handling ESD Sensitive Parts Notice
Handling ESD Sensitive Parts Notice
Handling ESD Sensitive Parts Notice
Handling ESD Sensitive Parts Notice
Figure 7:

Cell 10: RR DEFOG, HORN, HI BLO MOT, RH BEC BATT, ABS


Object Number: 238686  Size: FS
Power and Grounding Components
Cell 10: PWR WNDWS, CRUISE SW, CRUISE, SUNROOF, HVAC BLOWER
Cell 10: RH HDLP, LH HDLP, GEN BATT, LH BEC BATT 2, ABS BATT,STOP LPS, HAZARD LPS, IPC/HVAC BATT and BFC BATT Fuses
Handling ESD Sensitive Parts Notice
Handling ESD Sensitive Parts Notice
Handling ESD Sensitive Parts Notice
Handling ESD Sensitive Parts Notice
Handling ESD Sensitive Parts Notice
Figure 8:

Cell 10: PWR WNDWS, CRUISE SW, CRUISE, SUNROOF, HVAC BLOWER


Object Number: 238689  Size: FS
Power and Grounding Components
Cell 10: RR DEFOG, HORN, HI BLO MOT, RH BEC BATT, ABS
Cell 10: AIR BAG, TURN LPS, RDO ACC, WIPER, PCM ACC and IPC/BFC ACC FusEs
Handling ESD Sensitive Parts Notice
Handling ESD Sensitive Parts Notice
Handling ESD Sensitive Parts Notice
Handling ESD Sensitive Parts Notice
Handling ESD Sensitive Parts Notice