GM Service Manual Online
For 1990-2009 cars only

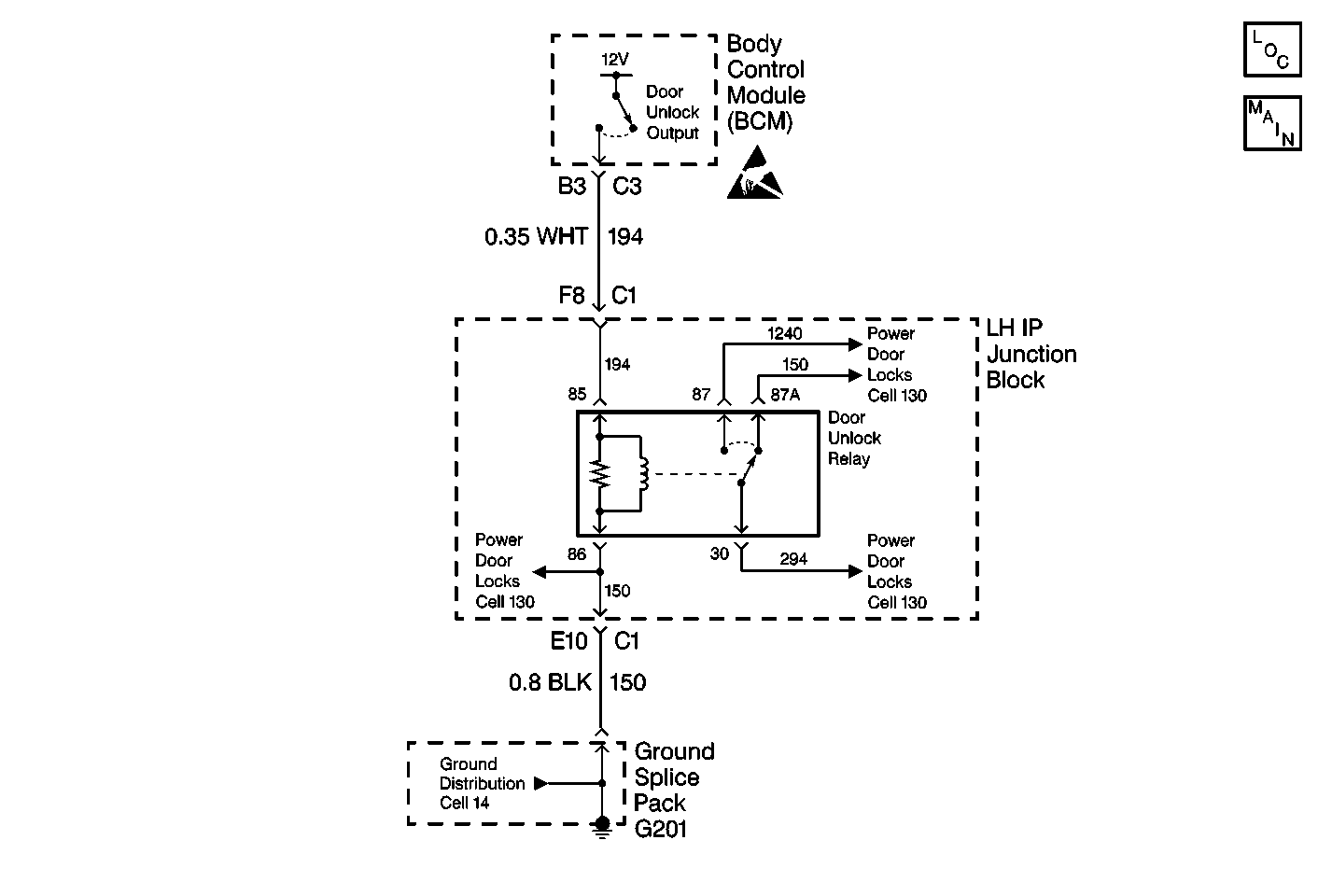
Object Number: 399512  Size: MF
Body Control Module Components
Cell 120, 131, 147: Door Lock Relay
Handling ESD Sensitive Parts Notice
Cell 120, 131, 147: Door Lock Relay
Cell 120, 131, 147: Door Lock Relay
Cell 120, 131, 147: Door Lock Relay
Cell 14: G201

Circuit Description

This trouble code (both current and history) indicates that CKT 194 is shorted to ground.

Conditions for Setting the DTC

All of the following conditions must be met:

    • CKT 194 is shorted to ground.
    • The system voltage must be between 9-16 volts.
    • The above conditions must be met for 0.25 seconds.

Action Taken When the DTC Sets

Stores DTC B3132 in the body control module (BCM) memory.

Conditions for Clearing the DTC

    • The BCM goes to sleep and reinitializes with the fault cleared.
    • All of the BCM history codes clear after 100 ignition cycles (from OFF to ON) with no current codes active during the 100 ignition cycles.
    • Use the Scan Tool in order to clear DTCs.

Diagnostic Aids

If the DTC is a history DTC, the problem may be intermittent. Perform the above tests while wiggling the wiring and connectors. This will cause the malfunction to appear.

Test Description

The numbers below refer to the numbers on the diagnostic table.

  1. This step determines if the door unlock relay is operating properly

  2. This step determines an open in CKT 194 within the left IP wiring harness junction block.

  3. This step determines a short to ground in CKT 194 between the left IP wiring harness junction block and the Body Control Module (BCM).

Step

Action

Value(s)

Yes

No

Important: A short to ground will cause an open fuse(s). Before performing this diagnostic procedure, inspect the fuse(s) for an open.

1

Was the Body Control Module (BCM) System Check performed?

--

Go to Step 2

Go to Body Control Module System Check

2

Was the Power Door Locks System Check performed?

--

Go to Step 3

Go to Power Door Locks System Check in Doors

3

Do the door lock actuators operate properly?

--

Go to Step 11

Go to Step 4

4

Replace the door unlock relay with a known good relay from the left IP wiring harness junction block.

Do the door lock actuators operate properly?

--

Go to Step 5

Go to Step 6

5

Replace the driver's door unlock relay.

Is the repair complete?

--

Go to Step 11

--

6

  1. Disconnect the left IP wiring harness junction block connector C1.
  2. Using a test lamp connected to ground, probe CKT 194 at the left IP wiring harness junction block connector C1 terminal F8 while activating a door lock switch to the unlock position.

Does the test lamp light?

--

Go to Step 7

Go to Step 8

7

Replace the left IP wiring harness junction block.

Is the repair complete?

--

Go to Step 11

--

8

  1. Disconnect the BCM connector C3.
  2. Using J 39200 DMM, measure the resistance in CKT 194 between the BCM connector C3 terminal B3 and ground.

Is the measured resistance equal to the specified value?

Go to Step 10

Go to Step 9

9

Repair the short to ground in CKT 194 between the BCM connector C3 terminal B3 and the left IP wiring harness junction block.

Is the repair complete?

--

Go to Step 11

--

10

Replace the BCM. Refer to the following procedures:

    • BCM Replacement

Is the repair complete?

--

Go to Body Control Module System Check

--

11

  1. Clear the DTC from the memory.
  2. Operate the power door locks.

Is the DTC cleared from the memory?

--

Go to Body Control Module System Check

--