GM Service Manual Online
For 1990-2009 cars only

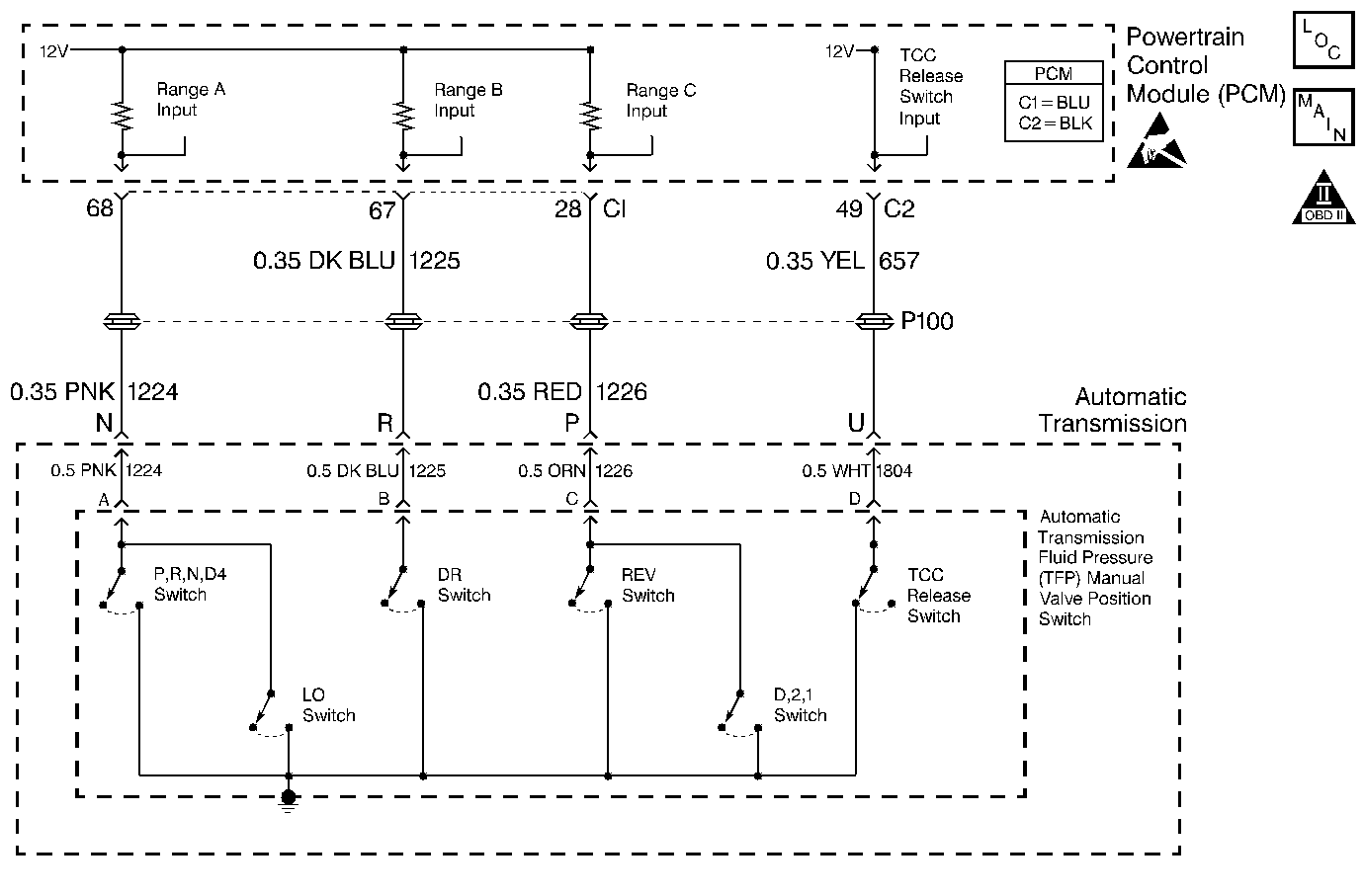
DTC P1887 TCC Release Switch Circuit 2.4L


Object Number: 316081  Size: MF
Automatic Transmission Components
Automatic Transmission Controls Schematics
OBD II Symbol Description Notice
Handling ESD Sensitive Parts Notice

Circuit Description

The torque converter clutch (TCC) release switch is part of the automatic transmission fluid pressure (TFP) manual valve position switch. The TFP manual valve position switch is mounted to the transmission valve body. The TCC release switch is normally-closed.

The switch signals the PCM that the TCC is released. This is accomplished by torque converter release fluid pressure acting on the switch contact, thus opening the switch. When the voltage is high on the circuit, the PCM recognizes that the TCC is no longer engaged.

When the PCM determines that the TCC release switch is open (indicating that the TCC is not applied) and the TCC slip speed indicates that the TCC is applied, then DTC P1887 sets. DTC P1887 is a type B DTC.

Conditions for Running the DTC

    • No A/T ISS DTCs P0716 or P0717.
    • No TCC System DTCs P0741 or P0742.
    • The engine is running.
    • The TFP manual valve position switch indicates D4 range.
    • The TCC is commanded ON.
    • The TCC slip speed is -20 to +40 RPM.
    • The engine torque is greater than 45 N·m (33 lb ft).

Conditions for Setting the DTC

TCC release pressure is present for 6 seconds two times.

Action Taken When the DTC Sets

    • The PCM illuminates the malfunction indicator lamp (MIL) during the second consecutive trip in which the Conditions for Setting the DTC are met.
    • The PCM inhibits TCC engagement.
    • The PCM freezes shift adapts from being updated.
    • The PCM stores DTC P1887 in PCM history during the second consecutive trip in which the Conditions for Setting the DTC are met.

Conditions for Clearing the MIL/DTC

    • The PCM turns OFF the MIL during the third consecutive trip in which the diagnostic test runs and passes.
    • A scan tool clears the DTC from PCM history.
    • The PCM clears the DTC from PCM history if the vehicle completes 40 warm-up cycles without an emission-related diagnostic fault occurring.
    • The PCM cancels the DTC default actions when the fault no longer exists and the ignition switch is OFF long enough in order to power down the PCM.

Diagnostic Aids

    • Inspect the wiring at the PCM, the transmission 20-way connector, the TFP manual valve position switch 6-way connector, and all other circuit connecting points for the following conditions:
       - A backed out terminal
       - A damaged terminal
       - Reduced terminal tension
       - A chafed wire
       - A broken wire inside the insulation
       - Moisture intrusion
       - Corrosion
    • When diagnosing for an intermittent short or open condition, massage the wiring harness while watching the test equipment for a change.

Test Description

The numbers below refer to the step numbers on the diagnostic table.

  1. This step tests the PCMs ability to recognize an open circuit.

  2. This step tests the PCMs ability to recognize a grounded circuit.

DTC P1887 TCC Release Switch Circuit Malfunction (2.4L)

Step

Action

Value(s)

Yes

No

1

Was the Powertrain On-Board Diagnostic (OBD) System Check performed?

--

Go to Step 2

Go to Powertrain On Board Diagnostic (OBD) System Check

2

  1. Install the Scan Tool .
  2. Turn the ignition switch to the RUN position.
  3. Important: Before clearing the DTCs, use the scan tool in order to record the Freeze Frame and Failure Records. Using the Clear Info function erases the Freeze Frame and Failure Records from the PCM.

  4. Record the Freeze Frame and Failure Records.
  5. Clear the DTCs.
  6. Select scan tool TCC Release Pressure.

Does the scan tool indicate TCC release pressure is present?

--

Go to Step 5

Go to Step 3

3

Start the engine.

Does the scan tool indicate TCC release pressure is present?

--

Go to Step 16

Go to Step 4

4

  1. Turn the ignition switch OFF.
  2. Disconnect the transmission 20-way connector (additional DTCs will set).
  3. Turn the ignition switch to the RUN position.

Does the scan tool indicate TCC release pressure is present?

--

Go to Step 8

Go to Step 7

5

  1. Install the J 39775 jumper harness to the engine side of the 20-way connector.
  2. Using the J 35616-A connector test adapter kit, connect a fused jumper wire from terminal U to a good ground.

Does the scan tool indicate TCC release pressure is present?

--

Go to Step 6

Go to Step 8

6

Inspect circuit 657 for an open.

Refer to General Electrical Diagnosis in Wiring Systems.

Was the condition found?

--

Go to Step 12

Go to Step 15

7

Inspect circuit 657 for a short to ground.

Refer to General Electrical Diagnosis in Wiring Systems.

Was the condition found?

--

Go to Step 12

Go to Step 15

8

  1. Disconnect the J 39775 from the engine side of the 20-way connector.
  2. Install the J 39775 to the transmission side of the 20-way connector.
  3. Using the J 35616-A , connect the J 39200 digital multimeter (DMM) from terminal U to a good ground and measure the resistance.

Is the resistance less than the specified value?

50 ohms

Go to Step 9

Go to Step 10

9

Start the engine.

Is the resistance greater than the specified value?

50 ohms

Go to Step 10

Go to Step 11

10

Inspect circuit 1804 for an open.

Refer to General Electrical Diagnosis in Wiring Systems.

Was the condition found?

--

Go to Step 13

Go to Step 14

11

Inspect circuit 1804 for a short to ground.

Refer to General Electrical Diagnosis in Wiring Systems.

Was the condition found?

--

Go to Step 13

Go to Step 14

12

Repair the wiring as necessary.

Refer to Wiring Repairs in Wiring Systems.

Is the repair complete?

--

Go to Step 17

--

13

Replace the automatic transmission wiring harness.

Refer to Unit Repair.

Is replacement complete?

--

Go to Step 17

--

14

Replace the TFP manual valve position switch.

Refer to Pressure Switch Assembly Replacement.

Is the replacement complete?

--

Go to Step 17

--

15

Replace the PCM.

Refer to Powertrain Control Module Replacement/Programming in Engine Controls.

Is the replacement complete?

--

Go to Step 17

--

16

  1. Inspect for the following conditions:
  2. • Leaking torque converter O-ring seal (41) -- Refer to Case and Associated Parts (3 of 3), in Transmission Component Location .
    • Cut torque converter O-ring seal (41).
    • Debris or flash blocking the channel plate (27) (Refer to Case and Associated Parts (2 of 3), in Transmission Component Location ) at the TCC release exhaust passage (48) -- Refer to Channel Plate Fluid Passages, in Transmission Component Location .
    • Leaking oil pump bearing and seal assembly (200) seal -- Refer to Oil Pump Assembly, in Transmission Component Location .
    • Cut oil pump bearing and seal assembly (200) seal.
    • Oil pump bearing and seal assembly (200) installed backwards.
    • Misaligned valve body to spacer plate gasket (22) -- Refer to Case and Associated Parts (2 of 3), in Transmission Component Location .
    • Misaligned spacer plate to channel plate gasket (24).
    • Channel plate (27) turbine shaft sleeve installed backwards, or with no press fit.
    • Valve body spacer plate (23) (Refer to Case and Associated Parts (2 of 3), in Transmission Component Location ) release exhaust orifice (46) (Refer to Channel Plate Fluid Passages, in Transmission Component Location ) blocked by debris, valve body to spacer plate gasket (22), or spacer plate to channel plate gasket (24).
    • Cut turbine shaft to sprocket seal (33) -- Refer to Case and Associated Parts (3 of 3), in Transmission Component Location .
    • Missing turbine shaft to sprocket seal (33).
  3. Repair any of the above items as necessary.

Refer to Unit Repair.

Is the repair complete?

--

Go to Step 17

--

17

Perform the following procedure in order to verify the repair:

  1. Select DTC.
  2. Select Clear Info.
  3. Operate the vehicle under the following conditions:
  4. • Drive the vehicle in D4 in order to obtain 74 km/h (45 mph).
    • With the TCC commanded ON and engaged, TCC release pressure must not be present for 3 seconds.
  5. Select Specific DTC.
  6. Enter DTC P1887.

Has the test run and passed?

--

System OK

Go to Step 1

DTC P1887 TCC Release Switch Circuit 3.4L


Object Number: 316145  Size: MF
Automatic Transmission Components
Automatic Transmission Controls Schematics
OBD II Symbol Description Notice
Handling ESD Sensitive Parts Notice

Circuit Description

The torque converter clutch (TCC) release switch is part of the automatic transmission fluid pressure (TFP) manual valve position switch. The TFP manual valve position switch is mounted to the transmission valve body. The TCC release switch is normally-closed.

The switch signals the PCM that the TCC is released. This is accomplished by torque converter release fluid pressure acting on the switch contact, thus opening the switch. When the voltage is high on the circuit, the PCM recognizes that the TCC is no longer engaged.

When the PCM determines that the TCC release switch is open (indicating that the TCC is not applied) and the TCC slip speed indicates that the TCC is applied, then DTC P1887 sets. DTC P1887 is a type B DTC.

Conditions for Running the DTC

    • No A/T ISS DTCs P0716 or P0717.
    • No TCC system DTCs P0741 or P0742.
    • The engine is running.
    • The TFP manual valve position switch indicates D4 range.
    • The TCC is commanded ON.
    • The TCC slip speed is -20 to +40 RPM.
    • The engine torque is greater than 45 N·m (33 lb ft).

Conditions for Setting the DTC

TCC release pressure is present for 6 seconds two times.

Action Taken When the DTC Sets

    • The PCM illuminates the malfunction indicator lamp (MIL) during the second consecutive trip in which the Conditions for Setting the DTC are met.
    • The PCM inhibits TCC engagement.
    • The PCM freezes shift adapts from being updated.
    • The PCM stores DTC P1887 in PCM history during the second consecutive trip in which the Conditions for Setting the DTC are met.

Conditions for Clearing the MIL/DTC

    • The PCM turns OFF the MIL during the third consecutive trip in which the diagnostic test runs and passes.
    • A scan tool clears the DTC from PCM history.
    • The PCM clears the DTC from PCM history if the vehicle completes 40 warm-up cycles without an emission-related diagnostic fault occurring.
    • The PCM cancels the DTC default actions when the fault no longer exists and the ignition switch is OFF long enough in order to power down the PCM.

Diagnostic Aids

    • Inspect the at the PCM, the transmission 20-way connector, the TFP manual valve position switch 6-way connector, and all other circuit connecting points for the following conditions:
       - A backed out terminal
       - A damaged terminal
       - Reduced terminal tension
       - A chafed wire
       - A broken wire inside the insulation
       - Moisture intrusion
       - Corrosion
    • When diagnosing for an intermittent short or open condition, massage the wiring harness while watching the test equipment for a change.

Test Description

The numbers below refer to the step numbers on the diagnostic table.

  1. This step tests the PCMs ability to recognize an open circuit.

  2. This step tests the PCMs ability to recognize a grounded circuit.

DTC P1887 TCC Release Switch Circuit Malfunction (3.4L)

Step

Action

Value(s)

Yes

No

1

Was the Powertrain On-Board Diagnostic (OBD) System Check performed?

--

Go to Step 2

Go to Powertrain On Board Diagnostic (OBD) System Check

2

  1. Install the Scan Tool .
  2. Turn the ignition switch to the RUN position.
  3. Important: Before clearing the DTCs, use the scan tool in order to record the Freeze Frame and Failure Records. Using the Clear Info function erases the Freeze Frame and Failure Records from the PCM.

  4. Record the Freeze Frame and Failure Records.
  5. Clear the DTCs.
  6. Select scan tool TCC Release Pressure.

Does the scan tool indicate TCC release pressure is present?

--

Go to Step 5

Go to Step 3

3

Start the engine.

Does the scan tool indicate TCC release pressure is present?

--

Go to Step 16

Go to Step 4

4

  1. Turn the ignition switch OFF.
  2. Disconnect the transmission 20-way connector (additional DTCs will set).
  3. Turn the ignition switch to the RUN position.

Does the scan tool indicate TCC release pressure is present?

--

Go to Step 8

Go to Step 7

5

  1. Install the J 39775 jumper harness to the engine side of the 20-way connector.
  2. Using the J 35616-A connector test adapter kit, connect a fused jumper from terminal U to a good ground.

Does the scan tool indicate TCC release pressure is present?

--

Go to Step 6

Go to Step 8

6

Inspect circuit 657 for an open.

Refer to General Electrical Diagnosis in Wiring Systems.

Was the condition found?

--

Go to Step 12

Go to Step 15

7

Inspect circuit 657 for a short to ground.

Refer to General Electrical Diagnosis in Wiring Systems.

Was the condition found?

--

Go to Step 12

Go to Step 15

8

  1. Disconnect the J 39775 from the engine side of the 20-way connector.
  2. Install the J 39775 to the transmission side of the 20-way connector.
  3. Using the J 35616-A , connect the J 39200 digital multimeter (DMM) from terminal U to a good ground and measure the resistance.

Is the resistance less than the specified value?

50 ohms

Go to Step 9

Go to Step 10

9

Start the engine.

Is the resistance greater than the specified value?

50 ohms

Go to Step 10

Go to Step 11

10

Inspect circuit 1804 for an open.

Refer to General Electrical Diagnosis in Wiring Systems.

Was the condition found?

--

Go to Step 13

Go to Step 14

11

Inspect circuit 1804 for a short to ground.

Refer to General Electrical Diagnosis in Wiring Systems.

Was the condition found?

--

Go to Step 13

Go to Step 14

12

Repair the wiring as necessary.

Refer to Wiring Repairs in Wiring Systems.

Is the Repair complete?

--

Go to Step 17

--

13

Replace the automatic transmission wiring harness.

Refer to Unit Repair.

Is replacement complete?

--

Go to Step 17

--

14

Replace the TFP manual valve position switch.

Refer to Pressure Switch Assembly Replacement.

Is the replacement complete?

--

Go to Step 17

--

15

Replace the PCM.

Refer to Powertrain Control Module Replacement/Programming in Engine Controls.

Is the replacement complete?

--

Go to Step 17

--

16

  1. Inspect for the following conditions:
  2. • Leaking torque converter O-ring seal (41) -- Refer to Case and Associated Parts (3 of 3), in Transmission Component Location .
    • Cut torque converter O-ring seal (41).
    • Debris or flash blocking the channel plate (27) (Refer to Case and Associated Parts (2 of 3), in Transmission Component Location ) at the TCC release exhaust passage (48) -- Refer to Channel Plate Fluid Passages, in Transmission Component Location .
    • Leaking oil pump bearing and seal assembly (200) seal -- Refer to Oil Pump Assembly, in Transmission Component Location .
    • Cut oil pump bearing and seal assembly (200) seal.
    • Oil pump bearing and seal assembly (200) installed backwards.
    • Misaligned valve body to spacer plate gasket (22) -- Refer to Case and Associated Parts (2 of 3), in Transmission Component Location .
    • Misaligned spacer plate to channel plate gasket (24).
    • Channel plate (27) turbine shaft sleeve installed backwards, or with no press fit.
    • Valve body spacer plate (23) (Refer to Case and Associated Parts (2 of 3), in Transmission Component Location ) release exhaust orifice (46) (Refer to Channel Plate Fluid Passages, in Transmission Component Location ) blocked by debris, valve body to spacer plate gasket (22), or spacer plate to channel plate gasket (24).
    • Cut turbine shaft to sprocket seal (33) -- Refer to Case and Associated Parts (3 of 3), in Transmission Component Location .
    • Missing turbine shaft to sprocket seal (33).
  3. Repair any of the above items as necessary.

Refer to Unit Repair.

Is the repair complete?

--

Go to Step 17

--

17

Perform the following procedure in order to verify the repair:

  1. Select DTC.
  2. Select Clear Info.
  3. Operate the vehicle under the following condition:
  4. • Drive the vehicle in D4 in order to obtain 74 km/h (45 mph).
    • With the TCC commanded ON and engaged, TCC release pressure must not be present for 3 seconds.
  5. Select Specific DTC.
  6. Enter DTC P1887.

Has the test run and passed?

--

System OK

Go to Step 1