GM Service Manual Online
For 1990-2009 cars only

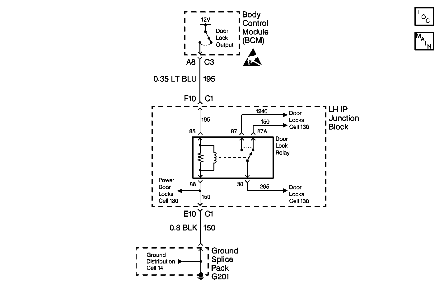
Object Number: 399611  Size: MF
Body Control Module Components
Cell 120, 131, 147: Door Lock Relay
Handling ESD Sensitive Parts Notice
Cell 120, 131, 147: Door Lock Relay
Cell 120, 131, 147: Door Lock Relay
Cell 14: G201
Cell 120, 131, 147: Door Lock Relay

Circuit Description

The body control module (BCM) monitors CKT 195 as an input in order to determine if the door lock relay circuit is grounded. When CKT 195 is shorted to ground the BCM sets DTC B3137.

Conditions for Setting the DTC

All of the following conditions must be met:

    • When CKT 195 is shorted to ground.
    • The system voltage must be between 9-16 volts.
    • The above conditions must be met for 0.25 seconds.

Action Taken When the DTC Sets

    • The lock system does not function properly.
    • DTC 3137 stores in BCM memory.

Conditions for Clearing the DTC

    • A current DTC clears after the next fault free ignition cycles.
    • A history DTC clears after 100 consecutive ignition cycles without a fault present.
    • Clear the history and current DTC using a Scan Tool .

Diagnostic Aids

    • A Scan Tool reads class 2 messages with the ignition switch in the RUN position.
    • UsingJ 39200 , compare the scan tool values to the actual BCM values.
    • Perform a visual check of the wiring and connectors

Test Description

The numbers below refer to the same numbers in the diagnostic table

  1. This step determines if the door lock relay is operating properly

  2. This step determines an open in CKT 195 within the left IP wiring harness junction block.

  3. This step determines a short to ground in CKT 195 between the left IP wiring harness junction block and the Body Control Module (BCM).

Step

Action

Value(s)

Yes

No

Important: A short to ground will cause an open fuse(s). Before performing this diagnostic procedure, inspect the fuse(s) for an open.

1

Was the Body Control Module (BCM) System Check performed?

--

Go to Step 2

Go to Body Control Module System Check

2

Was the Power Door Locks System Check performed?

--

Go to Step 3

Go to Power Door Locks System Check in Doors

3

Do the door lock actuators operate properly?

--

Go to Step 11

Go to Step 4

4

Replace the door unlock relay with a known good relay from the left IP wiring harness junction block.

Do the door lock actuators operate properly?

--

Go to Step 5

Go to Step 6

5

Replace the door unlock relay.

Is the repair complete?

--

Go to Step 11

--

6

  1. Disconnect the left IP wiring harness junction block connector C1.
  2. Remove the ignition key from the ignition switch.
  3. Using a test lamp connected to ground, probe CKT 195 between the left IP wiring harness junction block connector C1 terminal F10 while activating a door lock switch to the lock position.

Does the test lamp light?

--

Go to Step 7

Go to Step 8

7

Replace the left IP wiring harness junction block.

Is the repair complete?

--

Go to Step 11

--

8

  1. Disconnect the BCM connector C3.
  2. Using J 39200 DMM, measure the resistance in CKT 195 between the BCM connector C3 terminal A8 and ground.

Is the measured resistance equal to the specified value?

Go to Step 10

Go to Step 9

9

Repair the short to ground in CKT 195 between the BCM connector C3 terminal A8 and the left IP wiring harness junction block. connector C1 terminal F10. Refer to Wiring Repairs in Wiring Systems.

Is the repair complete?

--

Go to Step 11

--

10

Replace the BCM. Refer to the following procedures:

    • BCM Replacement.

Is the repair complete?

--

Go to Body Control Module System Check

--

11

  1. Clear the DTC from the memory.
  2. Operate the power door locks.

Is the DTC cleared from the memory?

--

Go to Body Control Module System Check

--