GM Service Manual Online
For 1990-2009 cars only
Table 1: Transmission Range Switch Scan Tool Data
Table 2: DTC P0705-Transmission Range Switch Circuit

Object Number: 621233  Size: MF
Engine Controls Components
Oil Pressure Sensor, IAC, PNP, and Generator
OBD II Symbol Description Notice
Powertrain Control Module Connector End Views
Handling ESD Sensitive Parts Notice

Circuit Description

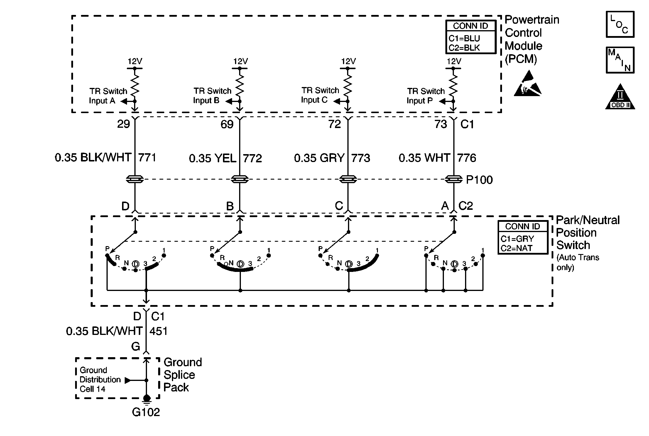
The transmission range switch, which is part of the Park/Neutral position (PNP) switch, is a multi-signal switch that sends a signal to the PCM to indicate the gear selection. The transmission range switch uses 4 discrete circuits to pull 4 PCM voltages low in various combinations in order to indicate each gear range. The voltage level of the circuits is represented as LO=grounded, HI=open circuit. The 4 states displayed represents the encoder P, A, B, and C inputs in sequence.

Conditions for Running the DTC

    • The PCM recognizes an invalid PRNDL parameter.
    • The vehicle speed is more than 8 km/h (5 mph).

Conditions for Setting the DTC

The above conditions are met for more than 5 seconds.

Action Taken When the DTC Sets

    • The PCM will record the operating conditions at the time during which the diagnostic fails. This information will store in the Failure Records buffer.
    • A history DTC stores.

Conditions for Clearing the MIL/DTC

    • A history DTC will clear after 40 consecutive warm up cycles without a fault.
    • Use a scan tool to clear the DTCs.

Diagnostic Aids

    • Monitor a scan tool while moving the related electrical connectors and the wiring harness. If a malfunction is induced, the scan data will change states from either LO to HI, or from HI to LO. Move the gear selector slowly through each gear while monitoring the scan tool in order to help isolate the problem.
    • Inspect any suspected circuitry for the following conditions:
       - Any incorrect terminal mating
       - Any broken locks
       - Any incorrectly formed or damaged terminals
       - Any poor terminal-to-wiring connections
       - Any physical damage to the wiring harness
    • When a DTC P0705 sets, the PCM defaults to 3rd gear until the PCM receives a correct combination. Therefore, some of the selected gear positions may not be possible until you repair the malfunction.
    • Perform the appropriate following procedures if the Transmission Range Switch reading on the scan tool and the PRNDL on the instrument panel cluster (IPC) display a normal reading only in the following gear selections:
       - Park, Low, and 2nd gear--Test for an open in the TR switch input B circuit.
       - Reverse, Neutral, Overdrive and 3rd gear--Test for a grounded TR switch input B circuit.
       - Low, 2nd, 3rd and Overdrive gear--Test for a ground in the TR switch input C circuit.
       - Park, Reverse, and Neutral--Test for an open in the TR switch input C circuit.
       - Park, Reverse, 2nd and 3rd gear--Test for a ground in the TR switch input A circuit.
       - Neutral, Overdrive and Low gear--Test for an open in the TR switch input A circuit.
       - Park, Neutral, 3rd and Low gear--Test for a ground in the TR switch input P circuit.
       - Reverse 2nd and Overdrive gear--Test for an open in the TR switch input P circuit.

Transmission Range Switch Scan Tool Data

Gear Selector Position

Scan Tool Transmission Range PABC Display

 

--

4 Spd

3 Spd

P

A

B

C

Park

P

P

LO

LO

HI

HI

Reverse

R

R

HI

LO

LO

HI

Neutral

N

N

LO

HI

LO

HI

Drive

OD

D

HI

HI

LO

LO

Drive

3

2

LO

LO

LO

LO

Drive

2

1

HI

LO

HI

LO

Drive

1

--

LO

HI

HI

LO

Test Description

The numbers below refers to the step numbers on the diagnostic table.

  1. An invalid circuit will cause the PRNDL display to turn OFF. Connecting a jumper wire to each circuit to ground simulates the transmission range switch operation, and tests the circuitry and the PCM. While the transmission range switch is disconnected and the circuits are not grounded, the scan tool should indicate a HI value. A value that is indicated as LO with no jumper to ground indicates a grounded circuit or a malfunctioning PCM.

  2. The replacement PCM must be programmed and the Crankshaft Position System Variation Learn procedure must be performed.

DTC P0705-Transmission Range Switch Circuit

Step

Action

Values

Yes

No

1

Did you perform the Powertrain On-Board Diagnostic (OBD) System Check?

--

Go to Step 2

Go to Powertrain On Board Diagnostic (OBD) System Check

2

  1. Turn ON the ignition, leaving the engine OFF.
  2. Move the gear selector through all of the ranges while observing the scan tool.

Does any range show a blank?

--

Go to Step 3

Go to Diagnostic Aids

3

Compare the scan tool values with the Transmission Range Switch Valid Input Combinations table.

Are all of the circuits indicated as HI?

--

Go to Step 4

Go to Step 5

4

  1. Turn OFF the ignition.
  2. Test the ground circuit for the transmission range switch for the following conditions:
  3. • An open
    • Any poor connections
  4. If a problem is found, repair as necessary. Refer to Wiring Repairs in Wiring Systems.

Did you find and correct the condition?

--

Go to Step 11

--

5

  1. Reconnect the transmission range switch, if necessary.
  2. Turn ON the ignition, leaving the engine OFF.
  3. Move the gear selector through all of the ranges and record which circuits do not correspond with the Transmission Range Switch Valid Input Combinations table.
  4. Disconnect the transmission range switch.
  5. Connect a jumper wire between the circuit with the incorrect value and ground.

Does the jumped circuit change from a HI value to a LO value?

--

Go to Step 8

Go to Step 6

6

  1. Turn OFF the ignition.
  2. Test for the following conditions in the affected circuit:
  3. • An open circuit
    • A short to ground
  4. If a problem is found, repair as necessary. Refer to Wiring Repairs in Wiring Systems.

Did you find and correct the condition?

--

Go to Step 11

Go to Step 7

7

  1. Inspect for a poor connection at the PCM.
  2. If a problem is found, repair as necessary. Refer to Wiring Repairs in Wiring Systems.

Did you find and correct the condition?

--

Go to Step 11

Go to Step 10

8

  1. Turn OFF the ignition.
  2. Inspect for poor connections at the transmission range switch.
  3. If a problem is found, repair as necessary. Refer to Wiring Repairs in Wiring Systems.

Did you find and correct the condition?

--

Go to Step 11

Go to Step 9

9

  1. Turn OFF the ignition.
  2. Replace the Park/Neutral position switch.

Did you complete the repair?

--

Go to Step 11

Go to Step 9

10

Important: The replacement PCM must be programmed.

Replace the PCM. Refer to Powertrain Control Module Replacement and to Powertrain Control Module Replacement/Programming .

Did you complete the repair?

--

Go to Step 11

--

11

  1. Use a scan tool in order to clear the DTCs.
  2. Operate the vehicle within the Conditions for Running the DTC as specified in the supporting text.

Does the DTC reset?

--

Go to Step 2

System OK