GM Service Manual Online
For 1990-2009 cars only

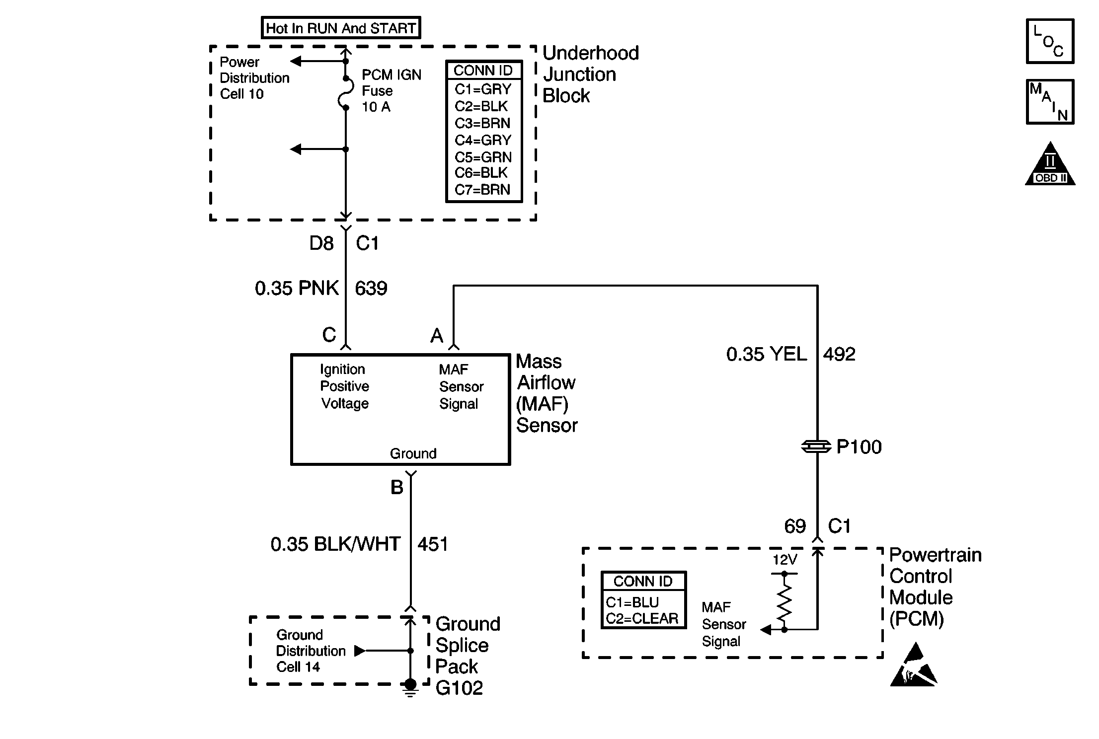
Object Number: 577271  Size: MF
Engine Controls Components
Power, Ground, MAF, EVAP, and EGR
OBD II Symbol Description Notice
Handling ESD Sensitive Parts Notice

Circuit Description

The mass air flow (MAF) sensor measures the amount of air which passes through it into the engine. The powertrain control module (PCM) uses the Mass Air Flow information to monitor engine operating conditions for fuel delivery calculations. A large quantity of air entering the engine indicates an acceleration or high load situation, while a small quantity of air indicates deceleration or idle. The MAF sensor produces a frequency signal which can be monitored using a scan tool. The frequency will vary within a range of around 2000 Hertz at idle to about 9,000 Hertz at maximum engine load. DTC P0102 will be set if the signal frequency from the MAF sensor is lower than the possible range of a normally operating MAF sensor.

Conditions for Running the DTC

    •  The engine is running.
    •  IAC is more than 2 counts.
    •  Ignition voltage is more than 8.0 volts.
    •  Above conditions are present for over 0.5 seconds.

Conditions for Setting the DTC

MAF signal frequency is below 1200 Hertz.

Action Taken When the DTC Sets

    • The PCM will illuminate the malfunction indicator lamp (MIL) during the second consecutive trip in which the diagnostic test has been run and failed.
    • The PCM will store conditions which were present when the DTC set as Freeze Frame/Failure Records data.

Conditions for Clearing the MIL/DTC

    • The PCM will turn OFF the malfunction indicator lamp (MIL) during the third consecutive trip in which the diagnostic has run and passed.
    • The history DTC will clear after 40 consecutive warm-up cycles have occurred without a malfunction.
    • The DTC can be cleared by using a scan tool.

Diagnostic Aids

Inspect for the following conditions:

    • Misrouted harness-- Inspect the MAF sensor harness to ensure that it is not routed too close to high voltage wires such as spark plug leads.
    • Plugged intake air duct or filter element-- A wide-open throttle acceleration from a stop should cause the Mass Air Flow displayed on a scan tool to increase from about 4-6 gm/s at idle to 100 gm/s or more at the time of the 1-2 shift. If not, check for a restriction.

Many situations may lead to an intermittent condition. Perform each inspection or test as directed.

Important: :  Remove any debris from the connector surfaces before servicing a component. Inspect the connector gaskets when diagnosing or replacing a component. Ensure that the gaskets are installed correctly. The gaskets prevent contaminate intrusion.

    • Loose terminal connection
       -  Use a corresponding mating terminal to test for proper tension. Refer to Testing for Intermittent Conditions and Poor Connections , and to Connector Repairs in Wiring Systems for diagnosis and repair.
       -  Inspect the harness connectors for backed out terminals, improper mating, broken locks, improperly formed or damaged terminals, and faulty terminal to wire connection. Refer to Testing for Intermittent Conditions and Poor Connections , and to Connector Repairs in Wiring Systems for diagnosis and repair.
    • Damaged harness--Inspect the wiring harness for damage. If the harness inspection does not reveal a problem, observe the display on the scan tool while moving connectors and wiring harnesses related to the sensor. A change in the scan tool display may indicate the location of the fault. Refer to Wiring Repairs in Wiring Systems for diagnosis and repair.
    •  Inspect the powertrain control module (PCM) and the engine grounds for clean and secure connections. Refer to Wiring Repairs in Wiring Systems for diagnosis and repair.

If the condition is determined to be intermittent, reviewing the Snapshot or Freeze Frame/Failure Records may be useful in determining when the DTC or condition was identified.

Test Description

The numbers below refer to the step numbers on the diagnostic table:

  1. This step verifies that the problem is present at idle.

  2. A voltage reading of less than 4 or over 6 volts at the MAF sensor signal circuit indicates a malfunction in the wiring or a faulty connection.

  3. This step verifies that ignition feed voltage and a good ground are available at the MAF sensor.

  4. The new PCM must be programmed.

Step

Action

Values

Yes

No

1

Did you perform the Powertrain On Board Diagnostic (OBD) System Check?

--

Go to Step 2

Go to Powertrain On Board Diagnostic (OBD) System Check

2

  1. Start the engine.
  2. With a scan tool, observe the MAF Frequency parameter.

Does the scan tool indicate MAF Frequency less than the specified value?

1.2 kHz

(1200 Hz)

Go to Step 4

Go to Step 3

3

  1. Turn ON the ignition.
  2. With a scan tool, observe and record the scan tool Fail Records data.
  3. Operate the vehicle within Fail Records conditions.
  4. With a scan tool, observe the Specific DTC info for DTC P0102.

Does the scan tool indicate DTC P0102 failed this ignition?

--

Go to Step 4

Go to Diagnostic Aids

4

Inspect for the following conditions:

    • Objects blocking the MAF sensor inlet screen
    • Vacuum leaks around the intake manifold
    • Vacuum leaks at throttle body
    • Vacuum leaks at the EGR valve flange and pipes
    • Crankcase ventilation valve malfunctioning, missing, or incorrectly installed

Did you find and correct the condition?

--

Go to Step 15

Go to Step 5

5

  1. Turn OFF the ignition.
  2. Disconnect the MAF sensor.
  3. Turn ON the ignition, with the engine OFF.
  4. Connect a DMM between the signal circuit of the MAF sensor and a good ground.

Does the voltage measure near the specified value?

5.0 V

Go to Step 6

Go to Step 9

6

Connect a test lamp between the ignition feed circuit and the ground circuit of the MAF sensor.

Does the test lamp illuminate?

--

Go to Step 8

Go to Step 7

7

Connect a test lamp between the ignition feed circuit of the MAF sensor and a good ground.

Does the test lamp illuminate?

--

Go to Step 10

Go to Step 11

8

Inspect for a poor connection at the MAF sensor. Refer to Testing for Intermittent Conditions and Poor Connections and Connector Repairs in Wiring Systems.

Did you find and correct the condition?

--

Go to Step 15

Go to Step 12

9

Test the signal circuit of the MAF sensor for an open, short to ground, or a short to voltage. Refer to Wiring Repairs in Wiring Systems.

Did you find and correct the condition?

--

Go to Step 15

Go to Step 13

10

Repair the open in the ground circuit of the MAF sensor. Refer to Wiring Repairs in Wiring Systems.

Did you complete the repair?

--

Go to Step 15

--

11

Repair the open in the ignition feed circuit of the MAF sensor. Refer to Wiring Repairs in Wiring Systems.

Did you complete the repair?

--

Go to Step 15

--

12

Replace the MAF sensor. Refer to Mass Airflow Sensor Replacement .

Did you complete the replacement?

--

Go to Step 15

--

13

Inspect for faulty connections at the PCM. Refer to Testing for Intermittent Conditions and Poor Connections and Connector Repairs in Wiring Systems.

Did you find and correct the condition?

--

Go to Step 15

Go to Step 14

14

Important: The replacement PCM must be programmed.

Replace the PCM. Refer to Powertrain Control Module Replacement/Programming .

Did you complete the replacement?

--

Go to Step 15

--

15

  1. Use the scan tool in order to record Fail Records and clear the DTCs.
  2. Operate the vehicle within the Fail Record conditions as noted.

Does the DTC reset?

--

Go to Step 2

System OK