GM Service Manual Online
For 1990-2009 cars only

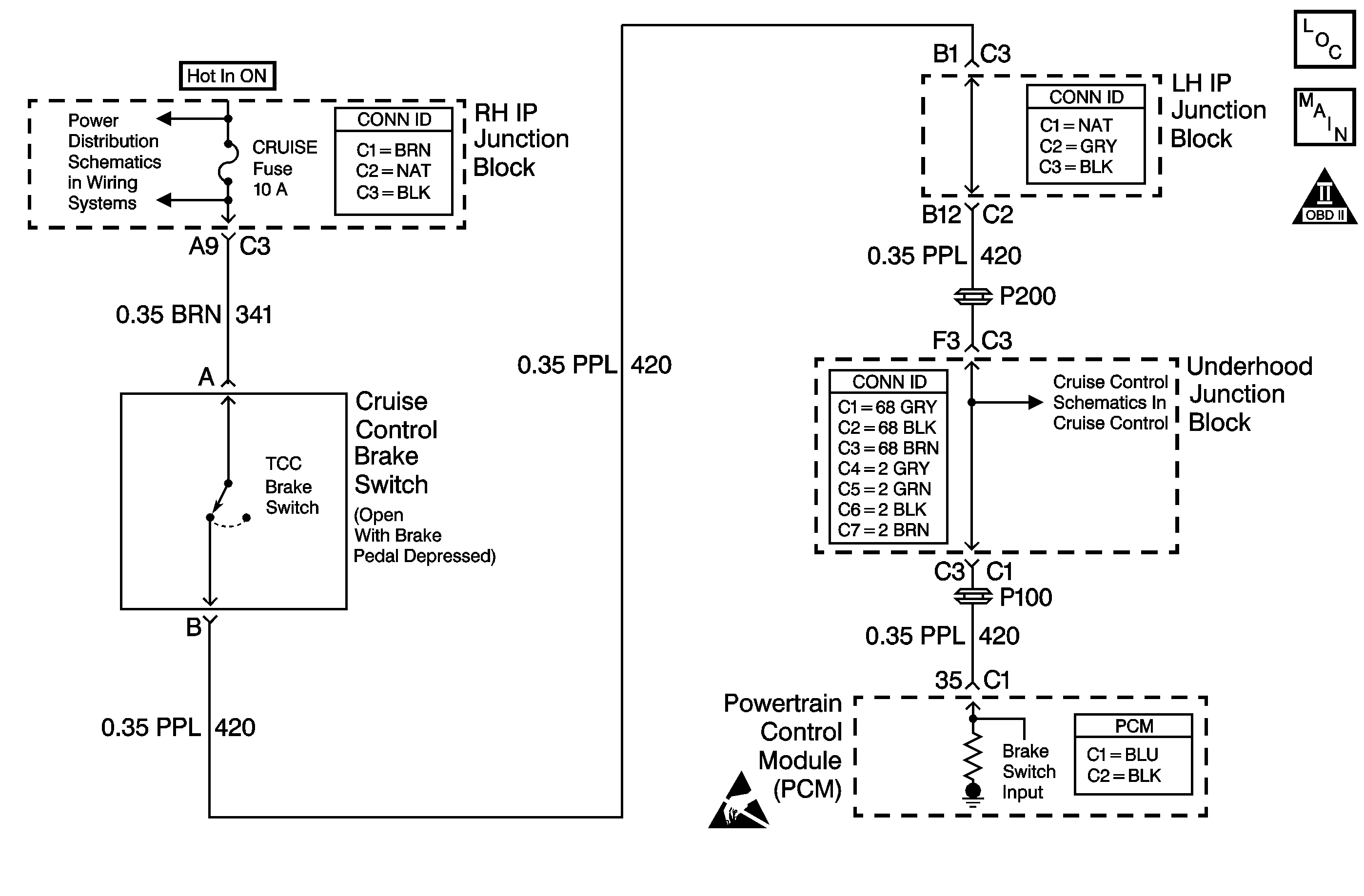
DTC P0724 Brake Switch Circuit High Input 2.4L


Object Number: 534951  Size: MF
Automatic Transmission Components
Automatic Transmission Controls Schematics LA1
OBD II Symbol Description Notice
Handling ESD Sensitive Parts Notice

Circuit Description

The brake switch indicates brake pedal status to the PCM. The normally-closed brake switch supplies battery voltage to the PCM. Applying the brake pedal opens the switch, interrupting voltage to the PCM. Releasing the brake pedal resumes voltage to the PCM. When the PCM senses 0 volts at the brake switch input, the PCM de-energizes the torque converter clutch (TCC) solenoid valve.

When the PCM detects a closed brake switch (stuck OFF) during decelerations, then DTC P0724 sets. DTC P0724 is a type C DTC.

Conditions for Running the DTC

    • The ignition switch is in the ON position.
    • The system voltage is 8-18 volts.

Conditions for Setting the DTC

DTC P0724 sets if the PCM detects a closed brake switch or circuit (12 volts) during vehicle deceleration and the following conditions occur eight times:

    • The vehicle speed is greater than 32 km/h (20 mph) for 6 seconds;
    • then, the vehicle speed is 8-32 km/h (5-20 mph) for 3 seconds;
    • then, the vehicle speed is less than 8 km/h (5 mph).

Action Taken When the DTC Sets

    • The PCM does not illuminate the malfunction indicator lamp (MIL).
    • The PCM records the operating conditions when the Conditions for Setting the DTC are met. The PCM stores this information as Failure Records.
    • The PCM stores DTC P0724 in PCM history.

Conditions for Clearing the DTC

    • A scan tool can clear the DTC.
    • The PCM clears the DTC from PCM history if the vehicle completes 40 warm-up cycles without a non-emission-related diagnostic fault occurring.
    • The PCM cancels the DTC default actions when the fault no longer exists and/or the ignition switch is OFF long enough in order to power down the PCM.

Diagnostic Aids

    • Ask about the customer's driving habits. Ask about unusual traffic conditions and stop-and-go driving.
    • Inspect the brake switch for proper adjustment.
    • Inspect the connectors at the PCM, the brake switch, and all other circuit connecting points for an intermittent condition. Refer to Testing for Intermittent Conditions and Poor Connections in Wiring Systems.
    • Inspect the circuit wiring for an intermittent condition. Refer to Testing for Electrical Intermittents in Wiring Systems.

Test Description

The numbers below refer to the step numbers on the diagnostic table.

  1. Disconnecting the brake switch connector, and observing a status change, isolates the brake switch as the source of the DTC.

  2. This step inspects the input circuit for a short to voltage, if the brake switch status on the scan tool did not change in step 2.

  3. If the brake switch is properly adjusted, then the brake switch must be replaced.

  4. Replace the PCM only after you have completed the preceding diagnostic steps.

DTC P0724 Brake Switch Circuit -- High Input

Step

Action

Value(s)

Yes

No

1

Did you perform the Powertrain Diagnostic System Check?

--

Go to Step 2

Go to Powertrain On Board Diagnostic (OBD) System Check

2

  1. Install a Scan Tool .
  2. Turn ON the ignition, with the engine OFF.
  3. Important: Before clearing the DTC, use the Scan Tool in order to record the Failure Records. Using the Clear Info function erases the Failure Records from the PCM.

  4. Record the DTC Failure Records.
  5. Clear the DTC.
  6. Select Brake Switch on the Scan Tool .
  7. Disconnect the brake switch connector.

Does the brake switch status change from Closed to Open?

--

Go to Step 4

Go to Step 3

3

Test the input circuit (CKT 420) of the brake switch for a short to voltage.

Refer to Circuit Testing and Wiring Repairs in Wiring Systems.

Did you find and correct the condition?

--

Go to Step 6

Go to Step 5

4

Replace the brake switch.

Refer to Stop Lamp Switch Replacement in Hydraulic Brakes.

Did you complete the replacement?

--

Go to Step 6

--

5

Replace the PCM.

Refer to Powertrain Control Module Replacement/Programming in Engine Controls.

Did you complete the replacement?

--

Go to Step 6

--

6

Perform the following procedure in order to verify the repair:

  1. Select DTC.
  2. Select Clear Info.
  3. Operate the vehicle under the following conditions:
  4. • Turn ON the ignition, with the engine OFF.
    • Apply the brake pedal for at least 3 seconds.
  5. Select Specific DTC. Enter DTC P0724.

Has the test run and passed?

--

System OK

Go to Step 1

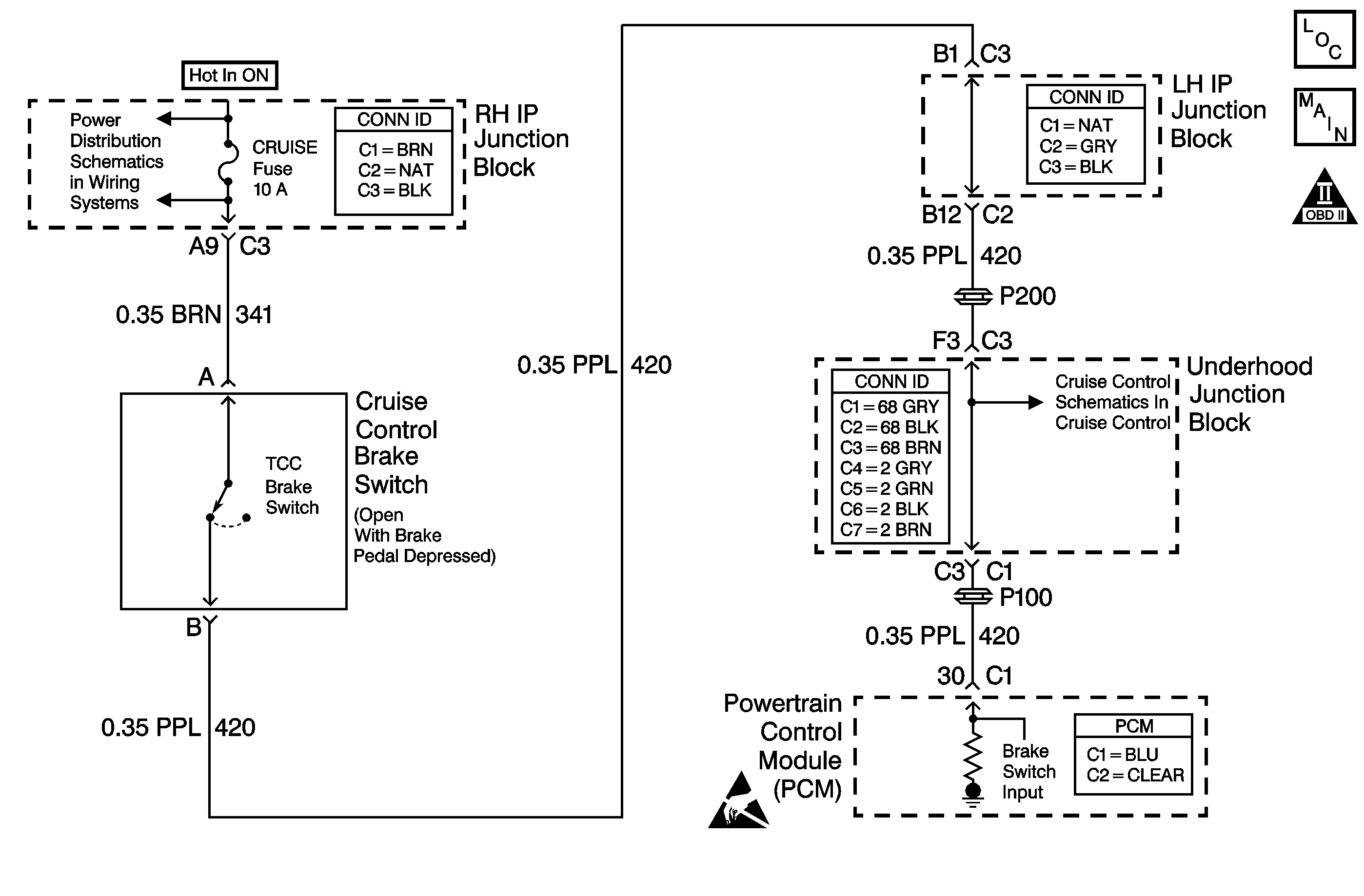
DTC P0724 Brake Switch Circuit High Input 3.4L


Object Number: 534957  Size: MF
Automatic Transmission Components
Automatic Transmission Controls Schematics LA1
OBD II Symbol Description Notice
Handling ESD Sensitive Parts Notice

Circuit Description

The brake switch indicates brake pedal status to the PCM. The normally-closed brake switch supplies battery voltage to the PCM. Applying the brake pedal opens the switch, interrupting voltage to the PCM. Releasing the brake pedal resumes voltage to the PCM. When the PCM senses 0 volts at the brake switch input, the PCM de-energizes the torque converter clutch (TCC) solenoid valve.

When the PCM detects a closed brake switch (stuck OFF) during decelerations, then DTC P0724 sets. DTC P0724 is a type C DTC.

Conditions for Running the DTC

    • The ignition switch is in the ON position.
    • The system voltage is 8-18 volts.

Conditions for Setting the DTC

DTC P0724 sets if the PCM detects a closed brake switch or circuit (12 volts) during vehicle deceleration and the following conditions occur eight times:

    • The vehicle speed is greater than 32 km/h (20 mph) for 6 seconds;
    • then, the vehicle speed is 8-32 km/h (5-20 mph) for 3 seconds;
    • then, the vehicle speed is less than 8 km/h (5 mph).

Action Taken When the DTC Sets

    • The PCM does not illuminate the malfunction indicator lamp (MIL).
    • The PCM records the operating conditions when the Conditions for Setting the DTC are met. The PCM stores this information as Failure Records.
    • The PCM stores DTC P0724 in PCM history.

Conditions for Clearing the DTC

    • A scan tool can clear the DTC.
    • The PCM clears the DTC from PCM history if the vehicle completes 40 warm-up cycles without a non-emission-related diagnostic fault occurring.
    • The PCM cancels the DTC default actions when the fault no longer exists and/or the ignition switch is OFF long enough in order to power down the PCM.

Diagnostic Aids

    • Ask about the customer's driving habits. Ask about unusual traffic conditions and stop-and-go driving.
    • Inspect the brake switch for proper adjustment.
    • Inspect the connectors at the PCM, the brake switch, and all other circuit connecting points for an intermittent condition. Refer to Testing for Intermittent Conditions and Poor Connections in Wiring Systems.
    • Inspect the circuit wiring for an intermittent condition. Refer to Testing for Electrical Intermittents in Wiring Systems.

Test Description

The numbers below refer to the step numbers on the diagnostic table.

  1. Disconnecting the brake switch connector, and observing a status change, isolates the brake switch as the source of the DTC.

  2. This step inspects the input circuit for a short to voltage, if the brake switch status on the scan tool did not change in step 2.

  3. If the brake switch is properly adjusted, then the brake switch must be replaced.

  4. Replace the PCM only after you have completed the preceding diagnostic steps.

DTC P0724 Brake Switch Circuit -- High Input

Step

Action

Value(s)

Yes

No

1

Did you perform the Powertrain Diagnostic System Check?

--

Go to Step 2

Go to Powertrain On Board Diagnostic (OBD) System Check

2

  1. Install a Scan Tool .
  2. Turn ON the ignition, with the engine OFF.
  3. Important: Before clearing the DTC, use the Scan Tool in order to record the Failure Records. Using the Clear Info function erases the Failure Records from the PCM.

  4. Record the DTC Failure Records.
  5. Clear the DTC.
  6. Select Brake Switch on the Scan Tool .
  7. Disconnect the brake switch connector.

Does the brake switch status change from Closed to Open?

--

Go to Step 4

Go to Step 3

3

Test the input circuit (CKT 420) of the brake switch for a short to voltage.

Refer to Circuit Testing and Wiring Repairs in Wiring Systems.

Did you find and correct the condition?

--

Go to Step 6

Go to Step 5

4

Replace the brake switch.

Refer to Stop Lamp Switch Replacement in Hydraulic Brakes.

Did you complete the replacement?

--

Go to Step 6

--

5

Replace the PCM.

Refer to Powertrain Control Module Replacement/Programming in Engine Controls.

Did you complete the replacement?

--

Go to Step 6

--

6

Perform the following procedure in order to verify the repair:

  1. Select DTC.
  2. Select Clear Info.
  3. Operate the vehicle under the following conditions:
  4. • Turn ON the ignition, with the engine OFF.
    • Apply the brake pedal for at least 3 seconds.
  5. Select Specific DTC. Enter DTC P0724.

Has the test run and passed?

--

System OK

Go to Step 1