GM Service Manual Online
For 1990-2009 cars only

Removal Procedure

  1. Relieve the fuel system pressure. Refer to Fuel Pressure Relief .
  2. Remove the air cleaner outlet resonator. Refer to Air Cleaner Outlet Resonator Replacement .

  3. Object Number: 388404  Size: SH
  4. Disconnect the fuel pressure regulator vacuum hose.

  5. Object Number: 388420  Size: SH
  6. Remove the camshaft position (CMP) sensor connector.

  7. Object Number: 372749  Size: SH
  8. Pull up the lock release (2) of the fuel injector connector.

  9. Object Number: 372753  Size: SH
  10. Depress the lock tab (1) and lift the connector from the injector.
  11. Disconnect the fuel feed pipe from the fuel rail. Use a backup wrench on the fuel rail inlet fitting to prevent the fitting from turning.

  12. Object Number: 388419  Size: SH
  13. Remove the fuel pipe retainers.

  14. Object Number: 373436  Size: SH
  15. Remove the fuel rail attaching bolts (1).

  16. Object Number: 373494  Size: SH
  17. Lift the fuel rail assembly (1) from the cylinder head.
  18. If the fuel rail is not being replaced, go to the installation procedure.

  19. Object Number: 373649  Size: SH
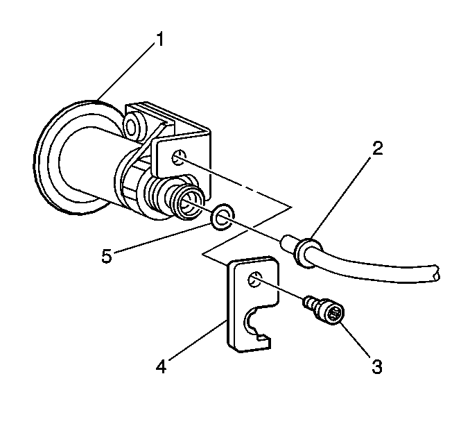
  20. Remove the fuel return pipe bracket screw (3) and the bracket (4).
  21. Remove the fuel return pipe (2) from the fuel pressure regulator (1).
  22. Remove the fuel return pipe. Discard the O-rings.
  23. Remove the fuel pressure regulator. Refer to Fuel Pressure Regulator Replacement .
  24. Remove the fuel injectors. Refer to Fuel Injector Replacement .

Installation Procedure


    Object Number: 373649  Size: SH
  1. Install the fuel injectors. Refer to Fuel Injector Replacement .
  2. Install the fuel pressure regulator. Refer to Fuel Pressure Regulator Replacement .
  3. Important: Whenever there is not enough thread-locking material on the threads of the fuel return pipe bracket screw, apply Loctite® 262 to ensure proper locking.

  4. Lubricate the new O-rings with clean engine oil.
  5. Install the O-ring on the fuel return pipe.
  6. Notice: Use the correct fastener in the correct location. Replacement fasteners must be the correct part number for that application. Fasteners requiring replacement or fasteners requiring the use of thread locking compound or sealant are identified in the service procedure. Do not use paints, lubricants, or corrosion inhibitors on fasteners or fastener joint surfaces unless specified. These coatings affect fastener torque and joint clamping force and may damage the fastener. Use the correct tightening sequence and specifications when installing fasteners in order to avoid damage to parts and systems.

  7. Install the fuel return pipe (2) into the fuel pressure regulator (1). Align the bracket (4) in order to retain the return pipe.
  8. Tighten
    Tighten the bracket screw to 9.5 N·m (84 lb in).


    Object Number: 373494  Size: SH

    Important: Lubricate the fuel injector O-rings with clean engine oil before installation.

  9. Install the fuel rail assembly (1) into the cylinder head.

  10. Object Number: 373436  Size: SH
  11. Install the fuel rail assembly attaching bolts (1).
  12. Tighten
    Tighten the attaching bolts to 26 N·m (19 lb ft).

  13. Install the O-ring on the fuel feed pipe.
  14. Important: Use a backup wrench on the fuel rail feed pipe fitting to prevent the fitting from turning.

  15. Connect the fuel feed pipe to the fuel rail assembly.
  16. Tighten
    Tighten the fitting to 33 N·m (24 lb ft).


    Object Number: 388419  Size: SH
  17. Install the bolts to the fuel pipe retainers .
  18. Tighten
    Tighten the bolts to 12 N·m (106 lb in).


    Object Number: 410971  Size: SH
  19. Connect the fuel injector connectors (1).

  20. Object Number: 388420  Size: SH
  21. Connect the camshaft position sensor electrical connector.

  22. Object Number: 388404  Size: SH
  23. Connect the vacuum hose to the fuel pressure regulator.
  24. Connect the negative battery cable.
  25. Inspect for fuel leaks:
  26. 15.1. Turn ON the ignition for 2 seconds.
    15.2. Turn OFF the ignition for 10 seconds.
    15.3. Turn ON the ignition.
    15.4. Inspect for fuel leaks.
  27. Install the air cleaner outlet resonator. Refer to Air Cleaner Outlet Resonator Replacement .