GM Service Manual Online
For 1990-2009 cars only

Object Number: 701525  Size: LF
Master Electrical Component List
Automatic Transmission Controls Schematics LD9
Automatic Transmission Controls Schematics LA1
OBD II Symbol Description Notice

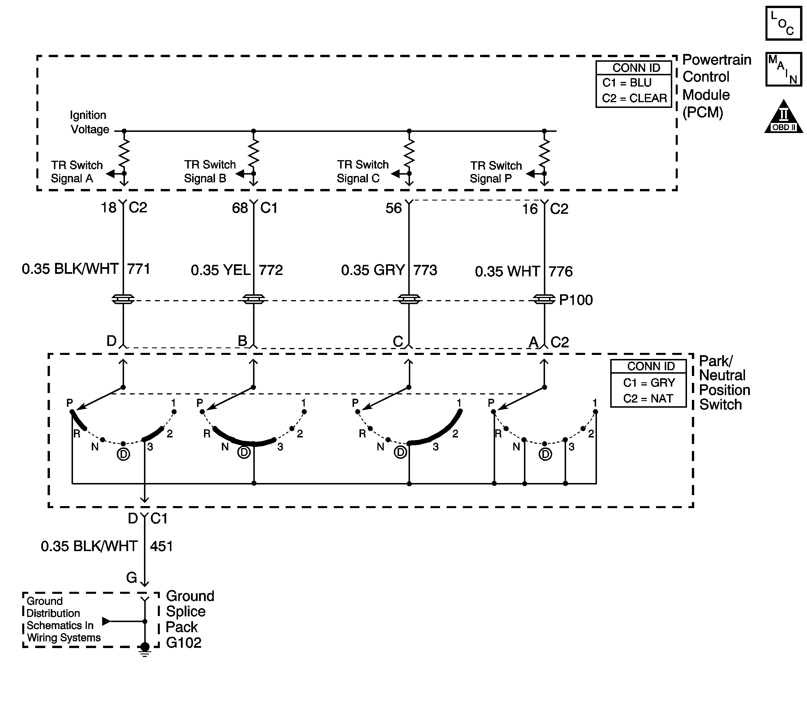
Circuit Description

The transmission range (TR) switch is part of the park/neutral position and back-up lamp switch assembly and is mounted on the transmission manual shaft. The TR switch is a multi-signal switch. The PCM supplies ignition voltage to the TR switch on four signal circuits (A, B, C, and P). Each gear selector lever position grounds one or more of the signal circuits in a unique pattern. In order to determine the gear range selected by the driver, the PCM compares the voltage combination on the signal circuits to a TR switch combination table stored in memory.

Diagnostic Aids

Refer to the Transmission Range Switch Logic table for valid combinations of switch signal circuits A, B, C and P.

Test Description

The numbers below refer to the step numbers on the diagnostic table.

  1. By disconnecting the TR switch, the ground path for all TR switch circuits would be removed and the PCM should recognize all circuits as open. The scan tool should display HI for all range signals.

  2. This step tests the TR switch wiring for an open or lack of signal voltage from the PCM.

  3. This step tests the TR switch wiring and the PCM by providing a ground path through a fused jumper wire. When grounded, the scan tool range signal A should change to LOW.

  4. This step tests the TR switch wiring and the PCM by providing a ground path through a fused jumper wire. When grounded, the scan tool range signal B should change to LOW.

  5. This step tests the TR switch wiring and the PCM by providing a ground path through a fused jumper wire. When grounded, the scan tool range signal C should change to LOW.

Range Selector Display Inoperative or Displays Incorrect Range

Step

Action

Value(s)

Yes

No

1

  1. Install a Scan Tool .
  2. Turn ON the ignition, with the engine OFF.
  3. Select TR Sw. on the Scan Tool .
  4. With the Scan Tool , observe the TR Sw. display while selecting each transmission range: P, R, N, D4, D3, D2 and D1.

Does each selected transmission range match the scan tool TR Sw. display?

--

Go to Intermittent Conditions (2.4 L) or Intermittent Conditions (3.4 L) in Engine Controls

Go to Step 2

2

  1. Inspect the PNP switch assembly for the following:
  2. • Damage
    • Loose or missing mounting hardware
    • Proper adjustment
  3. Inspect the shift cable for the following:
  4. • Damaged or stretched cable
    • Proper adjustment

Did you find and correct a condition?

--

Go to Step 15

Go to Step 3

3

With the Scan Tool , observe the TR Sw. A/B/C/P display.

Does the Scan Tool TR Sw. A/B/C/P parameter indicate HI for all range signal states?

--

Go to Step 12

Go to Step 4

4

  1. Turn OFF the ignition.
  2. Disconnect the TR switch 4-way connector.
  3. Turn ON the ignition, with the engine OFF.

Does the scan tool TR Sw. A/B/C/P parameter indicate HI for all range signal states?

--

Go to Step 5

Go to Step 9

5

  1. Using the J 39200 digital multimeter (DMM) and the J 35616 connector test adapter kit, measure the voltage from terminal A of the TR switch 4-way connector to ground.
  2. Measure the voltage from terminal B of the TR switch 4-way connector to ground.
  3. Measure the voltage from terminal C of the TR switch 4-way connector to ground.
  4. Measure the voltage from terminal D of the TR switch 4-way connector to ground.

Does the voltage measure within the specified value at all four terminals?

10-12 V

Go to Step 6

Go to Step 10

6

Connect a fused jumper wire from terminal D of the TR switch 4-way connector (signal A circuit) to ground while monitoring the scan tool TR Sw. A/B/C/P parameter.

When the signal A circuit (CKT 771) is grounded, do any other signal circuits indicate LOW?

--

Go to Step 11

Go to Step 7

7

Connect a fused jumper wire from terminal B of the TR switch 4-way connector (signal B circuit) to ground while monitoring the scan tool TR Sw. A/B/C/P parameter.

When the signal B circuit (CKT 772) is grounded, do any other signal circuits indicate LOW?

--

Go to Step 11

Go to Step 8

8

Connect a fused jumper wire from terminal C of the TR switch 4-way connector (signal C circuit) to ground while monitoring the scan tool TR Sw. A/B/C/P parameter.

When the signal C circuit (CKT 773) is grounded, do any other signal circuits indicate LOW?

--

Go to Step 11

Go to Step 13

9

Test the signal circuit(s) (CKTs 771, 772, 773 and 776) of the TR switch that did not indicate HI for a short to ground.

Refer to Circuit Testing and Wiring Repairs in Wiring Systems.

Did you find and correct the condition?

--

Go to Step 15

Go to Step 14

10

Test the signal circuit(s) (CKTs 771, 772, 773 and 776) of the TR switch that did not indicate proper voltage for an open.

Refer to Circuit Testing and Wiring Repairs in Wiring Systems.

Did you find and correct the condition?

--

Go to Step 15

Go to Step 14

11

Test the affected signal circuits of the TR switch for a shorted together condition.

Refer to Circuit Testing and Wiring Repairs in Wiring Systems.

Did you find and correct the condition?

--

Go to Step 15

Go to Step 14

12

Test the ground circuit (CKT 451) of the TR switch for an open.

Refer to Circuit Testing and Wiring Repairs in Wiring Systems.

Did you find and correct the condition?

--

Go to Step 15

Go to Step 13

13

Replace the TR switch. The TR switch is part of the park/neutral position switch.

Refer to Park/Neutral Position Switch Replacement .

Did you complete the replacement?

--

Go to Step 15

--

14

Replace the PCM.

Refer to Powertrain Control Module Replacement (2.4 L) or Powertrain Control Module Replacement (3.4 L) in Engine Controls.

Did you complete the replacement?

--

Go to Step 15

--

15

  1. Turn ON the ignition, with the engine OFF.
  2. With the Scan Tool , observe the TR Sw. display while selecting each transmission range: P, R, N, D4, D3, D2 and D1.

Does each selected transmission range match the scan tool TR Sw. display?

--

System OK

Go to Step 2